ВВЕДЕНИЕ
Когда заходит речь об усилителях с автокоррекцией нуля (усилителях со стабилизацией прерыванием, т.н. chopper), то неизбежно встает вопрос: как же они на самом деле работают? Помимо любопытства по поводу их внутреннего устройства у многих инженеров, возможно, возникает следующий вопрос: "Их точность по постоянному току впечатляет, но с какими странностями в их поведении я могу столкнуться при использовании этих усилителей в своей схеме, и как мне избежать проблем?" В данной статье мы попытаемся ответить на оба данных вопроса. Будут приведены некоторые распространенные схемы применения этих усилителей в качестве иллюстрации значительных преимуществ, а также некоторых недостатков этих компонентов.
Усилители с автокоррекцией нуля - как они работают?
Первый усилитель с прерыванием (chopper) был создан более 50 лет назад с целью победить дрейф усилителей постоянного тока; в нем сигнал постоянного тока преобразовывался в переменный сигнал. В первоначальном варианте применялось преобразование сигнала с помощью электронных ключей с последующей синхронной демодуляцией для восстановления сигнала постоянного тока на выходе. Эти усилители имели очень ограниченную полосу пропускания и требовали последующей фильтрации сигнала для подавления значительных выбросов напряжения, вызванных работой схемы переключения.
В современных усилителях со стабилизацией прерыванием проблема ограничения полосы пропускания решена за счет того, что прерыватель используется для стабилизации обычного широкополосного усилителя, через который и проходит усиливаемый сигнал. Первые усилители со стабилизацией прерыванием были разработанытак, что могли работать только в инвертирующем включении, так как выход стабилизирующего усилителя был подключен напрямую к неинвертирующему входу широкополосного дифференциального усилителя. В современных микросхемах усилителей со стабилизацией прерыванием автоматическая установка нуля производится с помощью двухкаскадной или более сложной схемы. Их отличие заключается в том, что сигнал стабилизирующего усилителя подается на широкополосный основной усилитель через дополнительный вход "установки нуля", а не через один из дифференциальных входов. Сигнал высокой частоты минует каскад установки нуля за счет прямого подключения к основному усилителю или за счет использования связи вперед, обеспечивающей стабильное нулевое смещение на входе в широком диапазоне частот.
Таким образом, эта технология обеспечивает стабильность по постоянному току и хорошие частотные характеристики, причем возможно включение усилителя как в инвертирующей, так и в неинвертирующей конфигурации. Однако в таком усилителе на качество сигнала может повлиять цифровой шум переключения, поэтому на высокой частоте его преимущества могут быть утрачены. В таком усилителе также возникают интермодуляционные искажения (IMD), которые проявляются в виде побочных частотных составляющих с частотами, равными сумме и разности частот сигнала переключения и усиливаемого сигнала. Более подробно об этих аспектах будет рассказано ниже.
Принцип работы усилителя с автокоррекцией нуля
Усилитель с автокоррекцией нуля обычно работает в две фазы, как показано на рис. 1a и 1b. Упрощенная схема состоит из усилителя автоподстройки нуля (AA), основного (широкополосного) усилителя (AB), конденсаторов, на которых сохраняется значение напряжения (CM1 и CM2) и переключателей входов/конденсаторов. Весь усилитель показан в стандартном включении с коэффициентом усиления больше единицы.

Рис. 1. Две фазы работы усилителя с автоподстройкой нуля
Во время Фазы A (рис. 1a), фазы установки нуля вспомогательного усилителя, входной сигнал подается только на основной усилитель (AB); на вход установки нуля основного усилителя подается напряжение, сохраненное на конденсаторе CM2; усилитель автоподстройки нуля (AA) измеряет свое собственное смещение, сохраняя значение корректирующего напряжения на CM1. Во время фазы B усилитель автоподстройки нуля имеет нулевое значение напряжения смещения, так как оно скорректировано за счет напряжения, сохранившегося на СM1.Этот усилитель (AA) усиливает напряжение смещения на входе основного усилителя и подает корректирующий сигнал на вход установки нуля основного усилителя и на конденсатор CM2.

Рис. 2. Операционный усилитель с подстройкой смещения
Оба усилителя представляют собой операционные усилители с дифференциальными входами и с дополнительным входом подстройки смещения (рис. 2).
Во время фазы компенсации смещения усилителя AA (фаза 1 на рис. 1a) входы усилителя автоподстройки нуля замкнуты накоротко друг с другом и на инвертирующий вход всей схемы (т.е. на вход AA подается только синфазное напряжение). Усилитель AA компенсирует свое собственное напряжение смещения за счет обратной связи с выхода на вывод компенсации, какая бы величина компенсирующего напряжения не требовалась; при этом произведение компенсирующего напряжения и коэффициента усиления сигнала коррекции приблизительно равно напряжению смещения (VOS) усилителя AA. Компенсирующее напряжение одновременно сохраняется на конденсаторе CM1. Тем временем основной усилитель работает как обычный операционный усилитель. Его напряжение смещения компенсировано за счет напряжения коррекции, хранящегося на конденсаторе CM2.
Во время фазы коррекции основного усилителя (Фаза B — рис. 1b) входы усилителя автоподстройки нуля подключаются ко входам основного усилителя.
Конденсатор CM1 теперь поддерживает соответствующее напряжение на выводе компенсации усилителя автоподстройки нуля AA, так что усилитель имеет нулевое значение напряжения сдвига. Дифференциальный входной сигнал усиливается усилителем автоподстройки нуля (AA) и далее усиливается схемой компенсации напряжения смещения основного усилителя. Этот же сигнал усиливается напрямую основным усилителем (AB). Обратная связь операционного усилителя будет способствовать тому, чтобы на выходе усилителя AA установилось напряжение компенсации, при котором дифференциальное напряжение на входе основного усилителя (AB) было близко к нулю. Выходной сигнал усилителя AA, кроме того, сохраняется на конденсаторе CM2, который будет обеспечивать поддержание соответствующее напряжение на входе компенсации основного усилителя AB во время следующей фазы A.
Общий коэффициент усиления на постоянном токе с разомкнутой петлей обратной связи всего усилителя приблизительно равен произведению коэффициента усиления вспомогательного усилителя AA на коэффициент усиления по входу установки нуля основного усилителя. Значение напряжения смещения для всей схемы приблизительно равно сумме напряжений смещения основного и вспомогательного усилителей, деленной на коэффициент усиления по входу установки нуля основного усилителя. Высокий коэффициент усиления по входу установки нуля основного усилителя дает в результате малое значение напряжения смещения всего усилителя.
Когда опять наступает фаза A цикла, постоянное смещение на входе основного усилителя по-прежнему корректируется за счет напряжения, сохраненного на конденсаторе CM2. Цикл периодически повторяется с частотой, определяемой внутренним тактовым генератором и логическими схемами. Для более подробной информации о принципах работы усилителей с автокоррекцией нуля обращайтесь к техническим описаниям ИС AD8551, AD8552, AD8554 или AD857x.
Характеристики усилителя с автокоррекцией нуля
Теперь, когда мы в целом представляем, как работает этот усилитель, рассмотрим его свойства в сравнении с "обычным" усилителем. Прежде всего запомните, что распространенный миф о небольшой ширине полосы частот усилителей с автоподстройкой нуля — это вздор: ширина полосы частот усилителя не связана с частотой работы схемы коррекции. Хотя частота работы схемы коррекции обычно составляет сотни или тысячи Гц, произведение усиления на полосу пропускания и частота единичного усиления большинства современных усилителей с автокоррекцией нуля составляет 1—3 МГц или даже больше.
Данный усилитель обладает многочисленными преимуществами, которые обеспечивает егоконфигурация: коэффициент усиления по постоянному току с разомкнутой петлей обратной связи, равный произведению коэффициентов усиления двух усилителей, очень велик, обычно более 107, или 140 dB. Напряжение смещения на входе очень мало по причине высокого коэффициента усиления по входу установки нуля основного усилителя. Типичное значение напряжения смещения для усилителя с автокоррекцией нуля — порядка одного микровольта. Низкое значение напряжения смещения также влияет на сопутствующие параметры: коэффициент ослабления синфазного сигнала (CMR) на постоянном токе и коэффициент подавления влияния напряжения питания (PSR), которые обычно превышают 140 dB. Так как напряжение смещения постоянно корректируется, временной дрейф напряжения смещения чрезвычайно мал, порядка 40 — 50 нВ в месяц. То же самое относится и к температурному дрейфу. Температурный коэффициент напряжения смещения хорошо спроектированного усилителя составляет всего несколько нановольт на градус Цельсия.
Менее очевидное следствие особого устройства усилителя — это его способность подавлять шум вида 1/f. В "обычных" усилителях плотность напряжения шума, приведенного ко входу, возрастает экспоненциально при понижении частоты ниже некоторого "порогового" значения частоты, которое находится в диапазоне от единиц до нескольких сотен Гц. Этот низкочастотный шум с точки зрения схемы коррекции напряжения смещения выглядит как погрешность напряжения смещения. Процесс автоматической коррекции смещения становится более эффективным на частотах, близких к постоянному току. В результате действия схемы коррекции смещения спектр низкочастотного шума становится горизонтальным вплоть до постоянного тока, т.е. устраняется шум вида 1/f. Отсутствие шума вида 1/f может быть огромным преимуществом в низкочастотных устройствах измерения сигнала, где обычны большие временные интервалы между отсчетами.
Так как входы этих усилителей выполнены по МОП-технологии, то ток смещения, равно как и шумовой ток, чрезвычайно малы. Однако по это же причине производительность по широкополосному шуму напряжения весьма умеренная. Входы МОП обычно отличаются повышенным шумом напряжения, особенно если сравнивать их с прецизионными операционными усилителями, изготовленными по биполярной технологии, в которых применена крупноразмерная топология входных цепей (для того, чтобы повысить точность совпадения параметров); такие ОУ зачастую имеют большие входные токи. Операционные усилители AD855x фирмы Analog Devices обладают приблизительно в два раза меньшим уровнем шума по сравнению с основными аналогами конкурентов. Тем не менее имеются возможности для дальнейшего улучшения, и многие производители (и в том числе ADI) заявилио своих планах по выпуску в будущем усилителей с автоподстройкой нуля с меньшим уровнем шума.
Во время работы электронных ключей в ИС происходит заряд конденсаторов. За счет этого, а также за счет других эффектов, связанных с переключением, возникают импульсные шумы на частоте внутреннего тактового генератора и ее гармониках. Эти шумы велики по сравнению с собственным широкополосным шумом усилителя; они могут быть источником погрешности, если попадают в полосу интересующего нас сигнала. Хуже того, эти помехи могут привести к интермодуляционным искажениям сигнала, в результате чего в выходном сигнале появятся составляющие на частотах, равных сумме и разности частот сигнала и схемы компенсации. Если вы знакомы с теорией аналого-цифрового преобразования, то данное явление очень похоже на наложение спектров (aliasing) входного сигнала и тактового генератора. На практике небольшая разница в коэффициентах усиления усилителя в различные фазы компенсации смещения приводит к тому, что коэффициент усиления при замкнутой цепи обратной связи изменяется на небольшую величину с частотой тактового генератора. Величина интермодуляционных искажений (IMD) зависит от этой небольшой разницы в коэффициенте усиления, и не имеет прямого отношения к шуму, вызываемому работой тактового генераторы. Интермодуляционные (IMD) и гармонические искажения имеют величину обычно от —100 dB до — 130 dB по отношению к полезному сигналу при замкнутой цепи обратной связи. Ниже вы увидите, что несложные схемотехнические решения позволяют уменьшить влияние как IMD, так и шума тактового генератора, если они находятся вне рабочей полосы.
В некоторых новых усилителях с автоподстройкой нуля, включая AD857x фирмы Analog Devices, применена новая схема тактового генератора, позволившая в значительной степени уменьшить вышеупомянутые недостатки усилителя. Микросхемы этого семейства позволяют избежать проблем, связанных с наличием единственной частоты тактового генератора за счет использования (патентованной) технологии тактирования с расширенным спектром, которая обеспечивает равномерный псевдослучайный шум схемы тактирования. Так как при этом отсутствуют одночастотные пики в спектре шума и "наложение" спектров, то эти усилители могут применяться при полосе сигнала, превышающей номинальную частоту работы тактового генератора, при этом сводя к минимуму шумы и помехи. Такие усилители в первую очередь полезны, если полоса частот сигнала превышает несколько кГц.
Некоторые новые модели усилителей работают при повышенной частоте работы схемы автоподстройки нуля; эта частота может быть выше, чем полоса частот полезного сигнала. Однако при этом значение напряжения смещения может несколько увеличиться, также может увеличиться и входной ток (см. также ниже об инжекции заряда); все преимущества и недостатки должны быть тщательно взвешены. Особенное внимание, уделенное как схемотехнике, так и разводке платы, может способствовать уменьшению помех, связанных с работой схемы прерывания.
Как было сказано выше, практически во всех интегральных усилителях с автокоррекцией нуля входные каскады выполнены по МОП-технологии, поэтому они обладают очень малыми входными токами. Это очень хорошо для схем, где импеданс источника велик. Однако инжекция заряда приводит к некоторым нежелательным эффектам, связанным со входным током сдвига.
При низкой температуре ток утечки затворов и защитных входных диодов очень мал, таким образом во входном токе доминирует ток заряда емкости затворов входных транзисторов и емкости переключающих транзисторов. Заряд транзисторов инвертирующего и неинвертирующего входов происходит с разной полярностью, таким образом входные токи имеют противоположное направление. В результате получается, что разница входных токов (ток смещения) больше, чем сами входные токи. К счастью, входной ток, вызванный инжекцией заряда, очень мал, порядка 10-20 пА, и он довольно мало зависит от синфазного напряжения на входах.
Когда температура микросхемы повышается до 40-50°C, начинает доминировать ток утечки защитных диодов; и входной ток ОУ быстро повышается с ростом температуры (ток утечки диодов увеличивается приблизительно в два раза при повышении температуры на 10°C. Ток утечки имеет одну и ту же полярность на каждом входе, поэтому при повышенной температуре ток смещения становится меньше, чем входной ток. Входной ток в этом температурном диапазоне сильно зависит от входного синфазного напряжения, так как обратное напряжение на защитных диодах растет в соответствии с синфазным входным напряжением. В схеме, где защитные диоды подключены к обеим шинам питания, направление входного тока меняется, когда входное синфазное напряжение выходит за пределы напряжения источника питания.
Так как для заряда/разряда конденсаторов требуется время, многие усилители с автоподстройкой нуля довольно долго восстанавливаются после перехода выходного сигнала в режим насыщения (обычно этот параметр называется временем восстановления из режима насыщения). Это в первую очередь относится к схемам со внешними конденсаторами. Более новые разработки со внутренними конденсаторами восстанавливаются быстрее, но все равно на это требуются миллисекунды. Операционные усилители семейств AD855x и AD857x восстанавливаются еще быстрее — за время не более 100 мкс. Это также относится и ко времени входа в рабочий режим после включения питания.
Наконец, как следствие наличия достаточно сложных дополнительных схем, необходимых для коррекции напряжения смещения, схемы с автокоррекцией нуля характеризуются бoльшим током потребления по сравнению с "обычными" усилителями при прочих равных параметрах (полосе частот, скорости нарастания выходного напряжения, шуме по напряжению и времени восстановления). Даже самым малопотребляющим усилителям с автокоррекцией для работы требуется ток в сотни микроампер; при этом они обладают весьма умеренными характеристиками: полоса частот 200 кГц, плотность шума около 150 нВ/vГц на частоте 1 кГц. Для сравнения, некоторые стандартные ОУ, выполненные по КМОП или биполярной технологии, приблизительно при той же полосе частот и гораздо меньшем уровне шума, потребляют меньше 10 мкА.
Применение усилителей с автоподстройкой нуля мало отличается от применения любых других операционных усилителей. Большинство новых ОУ с автоподстройкой нуля обладают совместимостью по выводам и по параметрам с распространенными усилителями. Коэффициент усиления на постоянном токе усилителей с автоподстройкой нуля устанавливается с помощью резисторов так же, как в обычных ОУ. В большинстве конструкций при использовании усилителя с автоподстройкой нуля рекомендуется ограничить полосу сигнала для того, чтобы подавить шум ключевой схемы автоподстройки и интермодуляционные искажения (IMD). Для усилителей с автоподстройкой нуля с фиксированной частотой работы схемы коррекции рабочая полоса частот обычно ограничивается диапазоном от постоянного тока до 1—2 кГц.
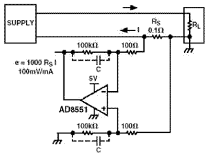
ПРЕЦИЗИОННОЕ ИЗМЕРЕНИЕ СИГНАЛА ТОКОВОГО ШУНТА
Характеристики прецизионного токового шунта значительно улучшаются при использовании уникальных достоинств усилителя с автоподстройкой нуля, включенного по схеме измерительного усилителя (рис. 3). Токовые шунты используются в схемах прецизионных источников тока в качестве элемента цепи обратной связи. Они также применяются во многих других устройствах, включая схемы измерения тока при батарейном питании, схемы контроля пускового тока двигателей и прецизионные схемы измерения электроэнергии.
В данной схеме желательно использовать шунт с очень малым сопротивлением для минимизации падающего на нем напряжения; при этом потери мощности будут минимальны и при измерении больших токов напряжение за счет шунта упадет незначительно.

Рис. 3. Усилитель токового шунта
Типичный шунт может иметь сопротивление 0.1 Ом. При измерении тока величиной 1 А и более выходной сигнал шунта составит сотни милливольт или даже вольты, и при этом погрешность усилителя по постоянному току не критична. Другое дело — при малых измеряемых токах, порядка 1 мА: для достаточно точного измерения напряжения величиной 100 мкВ с выхода шунта необходим ОУ с очень малым напряжением смещения и с очень малым дрейфом этого напряжения. Также необходимо иметь минимальный ток утечки выхода, чтобы он не вносил заметную погрешность в измеряемый сигнал. Высокие значения коэффициента усиления с открытой петлей обратной связи, коэффициента ослабления синфазного сигнала (КОСС) и коэффициента ослабления влияния изменений напряжения питания (PSR) способствуют получению высокой точности всей системы. Если ток изменяется не слишком быстро, то с помощью усилителя с автоподстройкой нуля с фиксированной частотой работы схемы автоподстройки можно добиться превосходных результатов.
Обычно желательно ограничить полосу частот обрабатываемого сигнала до минимально необходимой величины, так как это минимизирует влияние импульсных помех схемы автоподстройки, и кроме того, минимизирует общий уровень шума. Запомните, что суммарный шум напряжения усилителя с автоподстройкой нуля пропорционален квадратному корню из ширины полосы (EN=eN * vBW). Простой низкочастотный фильтр может быть создан за счет добавления дополнительных конденсаторов (C) параллельно резисторам обратной связи. Дополнительное усиление и фильтрацию усиливаемого сигнала можно обеспечить с помощью дополнительного каскада с обычным операционным усилителем. Усилитель с автоподстройкой нуля с присущим ему большим коэффициентом усиления с открытой петлей обратной связи может обеспечить 100 или 1000-кратное усиление, что позволяет в качестве следующего каскада использовать дешевый КМОП усилитель с напряжением смещения в несколько милливольт и большим уровнем шума напряжения без риска ухудшить точность системы. Кроме того, применение каскада с большим коэффициентом усиления на ОУ с автоподстройкой нуля может обеспечить дополнительный полюс и более быстрый спад АЧХ фильтра, если произведениекоэффициента усиления на полосу пропускания ОУ (GBW), деленное на установленный коэффициент усиления, даст величину, меньшую чем половина частоты работы схемы компенсации нуля. Однако характеристики получившегося фильтра будут зависеть от GBW, а величина GBW различается у разных экземпляров усилителя.
Если частота сигнала превышает приблизительно половину частоты работы схемы компенсации нуля, то лучше использовать усилитель с псевдослучайным генератором тактовых импульсов, такой как AD8571. В этом случае широкополосный шум будет несколько бoльшим и иметь более широкую полосу, но зато тактовый генератор схемы автоподстройки не будет вызывать появление максимумов на частоте тактового генератора, и кроме того, интермодуляционные эффекты (IMD) будут минимизированы.
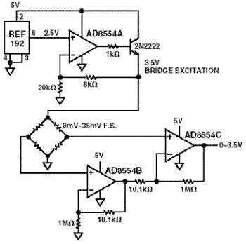
ИЗМЕРЕНИЕ СИГНАЛА МОСТОВОГО ТЕНЗОДАТЧИКА
Еще одна область применения, где низкое значение постоянного смещения и соответствующая производительность на низкой частоте помогают получить большой динамический диапазон, — это устройства с мостовыми датчиками. Эти датчики используются при измерении силы и давления, а также в электронных весах; они обычно дают на выходе относительно небольшое напряжение, даже при максимальной нагрузке. В данном примере три из четырех усилителей, имеющихся в ИС AD8554, используются для возбуждения датчика и дифференциального усиления сигнала (рис. 4).

Рис. 4. Схема подключения тензодатчика
Максимальный сигнал тензодатчика составляет несколько десятков милливольт. В данном случае очень низкое напряжение смещения усилителя с автокоррекцией нуля способствует минимизации погрешности измеряемого сигнала. Благодаря отсутствию шума вида 1/f возможно производить отсчеты входного сигнала с большими интервалами. Так как уровень временнoго дрейфа усилителя достаточно низкий, то рекалибровку устройстваможно делать реже или в некоторых случаях не делать вообще.
Устройства с датчиками давления, в которых обычно требуется линеаризация для получения точной величины выходного сигнала, выигрывают от применения усилителя с малым напряжением смещения и малым дрейфом этого напряжения. Сигнал от датчика с хорошими характеристиками может быть масштабирован и линеаризован без учета влияния усилителя, так как дополнительные погрешности, вносимые усилителем, незначительны. Малый входной ток усилителя позволяет использовать датчики с высоким сопротивлением; это может значительно уменьшить потребляемый системой ток в портативных устройствах или в устройствах, питающихся от сигнальной цепи, так как ток возбуждения датчиков может быть гораздо меньшим при том же выходном напряжении. Меньший ток возбуждения также минимизирует погрешности, связанные с саморазогревом датчика. Большинство устройств с тензодатчиками низкочастотны по своей сути, поэтому ограниченная рабочая полоса частот усилителей с автоподстройкой нуля и с фиксированной частотой работы схемы автоподстройки не является проблемой. При использовании мостового датчика с более высокой частотой выходного сигнала или датчика с возбуждением переменным током рекомендуется применять усилитель с автоподстройкой нуля с псевдослучайным генератором тактовых импульсов (семейства AD857x).
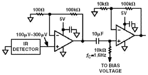
ИНФРАКРАСНЫЕ (IR) ДАТЧИКИ
Инфракрасные датчики все шире используются при измерении температуры в таких разных областях, как контроль климата в автомобиле, ушные термометры, измерение термоизоляции жилищ и диагностика двигателя при ремонте автомобиля. Довольно небольшой выходной сигнал датчика требует большого усиления при минимальном напряжении смещения и минимальном дрейфе во избежание ошибки по постоянному току. Если используется связь по переменному току между каскадами усиления (рис. 5), малое смещение и дрейф позволяют избежать перехода входного каскада усиления в насыщение в результате дрейфа.

Рис. 5. Усилитель для датчика инфракрасного излучения
Низкий входной ток обеспечивает минимальную погрешность при высоком выходном импедансе сенсора. Как и в случае датчиков давления, очень низкий уровень временнoго и температурногодрейфа усилителя позволяет избежать появления дополнительной погрешности после того, как была произведена однократная калибровка. Низкий уровень шума вида 1/f улучшает соотношение сигнал/шум (SNR) при измерениях сигнала постоянного тока с периодом отсчетов, превышающим 1/5 секунды. На рис. 5 показана схема усилителя, усиливающая сигнал в 100-300 мкВ до уровня 1-3 В.
ПРЕЦИЗИОННЫЕ ИСТОЧНИКИ ОПОРНОГО НАПРЯЖЕНИЯ
Интегральные микросхемы прецизионных источников опорного напряжения в низковольтных системах иногда не обеспечивают необходимых для конкретного случая возможностей.
Например (a) может требоваться малое падение напряжения или (b) требуется обеспечить значительный ток, или (c) в устройстве помимо положительного опорного напряжения требуется источник отрицательного опорного напряжения.
Подключенный к прецизионному источнику усилитель с автоподстройкой нуля со свойственными ему чрезвычайно малыми значениями напряжения смещения и дрейфа и высокой нагрузочной способностью, при использовании активной обратной связи, может обеспечить эффективное решение этих проблем.
Выше приведены только некоторые идеи с целью показать широкие возможности для применения усилителей с автокоррекцией нуля. Почти во всех схемах, работающих при малой величине входного сигнала и имеющих большой динамический диапазон при умеренной ширине полосы частот, характеристики могут быть улучшены при использовании усилителей с автоподстройкой нуля. Системы, которые прошли однократную калибровку и теперь должны обеспечивать заданную точность в течение продолжительного времени без дополнительного обслуживания, тоже выигрывают при использовании усилителей с автокоррекцией нуля. Во многих устройствах, где требуется точное совпадение характеристик каналов по постоянному току, тоже возможно применение усилителей с автокоррекцией нуля. Ошибка по постоянному току такого обладающего большим коэффициентом усиления усилителя настолько мала, что применение во многоканальном устройстве многоканальной ИС или же применение отдельной одноканальной ИС для каждого канала незначительно скажется на разбросе параметров каналов. Для точных низкочастотных входных каскадов переменного тока лучше использовать многоканальные микросхемы (с двумя или четырьмя усилителями в корпусе).

Рис. 6. Расширение возможностей источников опорного напряжения при помощи прецизионных усилителей
