- Общие сведения
- Ромбовидные двойные и одинарные антенны
- Унифицированные антенны типа "волновой канал"
- Телевизионная антенна типа "полуволновой вибратор уголковой конструкции"
Общие сведения
На садовых участках, которые расположены на расстоянии до 50 км и, как правило, и зоне прямой видимости электромагнитного сигнала, рекомендуется применять ТЛ, рассматриваемые в данной главе.
Современному телевещанию в диапазоне УКВ присуще ограничение по дальности действия передающих станции. Это справедливо для всех ТЦ и ретрансляторов, за исключением космического телевидения. В обычных условиях дальность прямой видимости не превышает 20-25 км. Но садовые участки в большинстве случаев располагаются за этими пределами.
Правда, в практике радиолюбителей зафиксированы случаи приема телепередач на значительных расстояниях от ТЦ. Но это носит совершенно случайный характер, и ориентироваться на подобный прием не следует. Как правило, между ТЦ и приемной ТА находятся различные сооружения и естественные препятствия, а среда прохождения радиоволн подвержена всевозможным изменениям, все это вкупе очень влияет на устойчивость картинки на телеэкране.
Зона гарантированного приема телесигнала во многом зависит от рельефа местности, где расположено садоводство. Максимальное расстояние прямой видимости на равнинной местности определяется по формуле: А= = 3,57 (hnep0,5+hnp0,5). где hnep и hnp - высота расположения соответственно передающей и приемной антенн. Ориентировочный расчет при hnep =200 м и hnp =20 м дает результат: А = 66,45 км. Практически на садовых участках высота антенны бывает несколько меньше, и поэтому результат будет иным. Максимальное расстояние прямой видимости, как правило, является границей зоны гарантированного приема и представляет собой радиус действия ТЦ. На этой границе действует минимальное значение напряженности поля, при котором отношение сигнал - шум на входе телевизора обеспечивает требуемое качество изображения. Напряженность поля но мере удаления от передающей антенны уменьшается обратно пропорционально квадрату расстояния.
В пригороде для укоренного приема сигналов необходимо в первую очередь увеличить высоту приемной антенны и выбрать такой тип конструкции, который удовлетворяет следующим основным требованиям: антенна должна иметь простую в изготовлении и в эксплуатации конструкцию, высокую пространственную избирательность, пропускать широкую полосу частот и обеспечивать высокое отношение уровня сигнала к уровню помех при приеме, обладать слабой зависимостью входного сопротивления телевизора и коэффициента усиления.
Радиус действия ТЦ также зависит от высоты установки передающей антенны, мощности передатчика и рельефа местности. С целью увеличения радиуса действия ТЦ передающие антенны устанавливаются обычно на опорах высотой в несколько сот метров (так, высота Останкинской телебашни равна 533 м).
Рассмотренные ранее ТА не могут быть применены для приема телесигналов на расстоянии более 20 км от ТЦ без использования специальных усилителей.
Для приема телесигналов на расстоянии 20-50 км от ТЦ используются трехэлементные антенны типа "волновой канал", разнообразные конструкции антенн из длинных проводов. Наибольшее применение получили антенны, выпускаемые промышленностью, потому что самостоятельное их изготовление в домашних условиях очень затруднено.
Как правило, радиолюбители делают антенны направленного действия, рассчитанные на прием нескольких программ.
Ромбовидные двойные и одинарные антенны
Многие типы рассматриваемых антенн изготавливаются из проводников, которые укладываются параллельно друг другу на заранее подготовленном основании. В качестве проводников используется медная или алюминиевая проволока, а также антенный канатик (их размеры указаны в соответствующих таблицах справочника).
На садовых участках можно видеть различные варианты исполнения зигзагообразных широкополосных ТА. Эти антенны привлекают к себе внимание радиолюбителей из-за простоты конструкции, высоких электрических характеристик и хорошего согласования с 75-омным коаксиальным кабелем снижения в широком диапазоне частот. Подобные антенны незначительно отличаются друг от друга, но применять рекомендуется только лучшие из них.

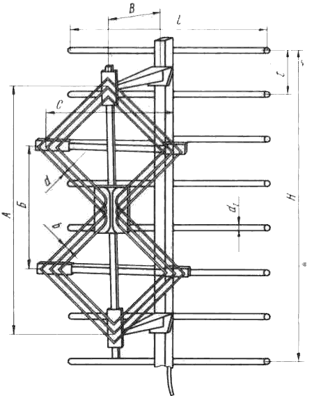
Рис. 1
Наружная зигзагообразная проволочная двухсторонненаправленная антенна:
1-штанга антенны; 2-пластина металлическая; 3-полотно антенны проволочное; 4-штырь упорный; 5-рейка поперечная; 6-пластина диэлектрическая; 7-плата крепежная; 8-фидерная линия; 9-пластина питания металлическая; 10-прокладка диэлектрическая.
Зигзагообразная антенна (ЗТА) из трех проводников (рис. 1) предназначена для приема телесигналов на первых 12 каналах на границе зоны уверенного приема и в зоне полутени. Антенна позволяет согласовать волновое сопротивление коаксиального кабеля фидерного устройства с входным сопротивлением телевизора во всем диапазоне частот телепередач, что дает возможность принимать программы 1-5, 6-12, 21-39-го каналов, т. е. ЗТА можно сделать для приема как каждого канала отдельно, так и многих каналов сразу. В конструктивном отношении эта антенна достаточно проста, обладает хорошими электрическими параметрами и техническими характеристиками. Основное достоинство данной антенны заключается в том, что она хорошо согласуется с коаксиальным кабелем снижения. имеющим волновое сопротивление около 75 Ом, а это значит, что никаких дополнительных согласующих и симметрирующих устройств ей не требуется.
Техническая характеристика:
| Коэффициент усиления | 3,66-6,1(дБ) |
| КНД | 6,05-10,15 (дБ) |
| КБВ | 0,39-0,81 |
| Рабочая частота | 50-230 (МГц) |
| Неравномерность коэффициента усиления, не менее | 0,8 (дБ) |
| Волновое сопротивление фидера | 75 (Ом) |
| КПД | 0,98 |
| Помехозащищенность, не менее | -(13...19)(дБ) |
| Диаграмма направленности в горизонтальной и вертикальной плоскостях | эллипс |
| Угол раствора диаграммы направленности, не менее | 70 |
Диаграмма направленности антенны в горизонтальной плоскости имеет два лепестка, развернутых на 180°. Это свойство антенны необходимо учитывать при установке ее на садовом участке.
Располагая антенну на крыше в месте, где отсутствуют отраженные электромагнитные волны, можно получить высокое качество изображения как с прямого, так и с обратного направлений, что объясняется достаточно большим КНД.
Приемное полотно ЗТА состоит из двух расположенных в одной плоскости ромбических рамок, соединенных параллельно. При работе потребуются: деревянные бруски сечением 50х60 или 60х60 мм, антенный канатик или медный провод диаметром 2,5-3,5 мм, фольгированный гетинакс или стеклотекстолит, паяльник с низковольтным питанием 60 Вт и некоторые вспомогательные материалы
Деревянный брусок выбранного сечения, обеспечивающею максимальную прочность конструкции, служит одновременно центральной стойкой антенны и вертикальной мачтой. К этому бруску под углом 90 жестко прикрепляются две поперечные рейки 5, сечение которых может быть меньше, чем центральной стойки, например 40х40 мм. Рейки врезаются в стойку, закрепляются винтом и дополнительно прямоугольной пластинкой 7, изготовленной из диэлектрика.
К центральной стойке снизу и сверху, а также к концам поперечных реек крепят шесть металлических планок 2, крепление которых к центральной стойке осуществляется без каких-либо изоляторов, но к концам поперечных реек эти планки укрепляются только через изоляционные прокладки.
На середине антенны, между поперечными рейками, прикрепляется диэлектрическая пластина 6, к которой в свою очередь крепятся две металлические пластины с закругленной кромкой. Полотно антенны состоит из трех параллельно натянутых проводов 3 из медного провода.
Для удобства монтажа на всех металлических планках и пластинках 2 и 9 устанавливаются штыри диаметром и высотой 3 мм. Расстояние между штырями зависит от размера между проводниками. Между металлическими пластинами 9 и планкой 6 проложена прокладка из картона или прессшпана.
Провода натягиваются параллельно друг другу и пропаиваются в местах изгиба к металлическим пластинам 2 у штырей, а также к платам питания 9. Применение проводников большего диаметра, чем 3 мм, приводит не только к утяжелению антенны, но и затрудняет ее монтаж.
Полотно антенны может быть выполнено также из металлических полосок или трубок. Собрать антенну можно и из отдельных проводников, что облегчает работу над ней. При изготовлении центральной штанги антенны из металлической трубы необходимо предусмотреть возможность изоляции ее от полотна антенны.
Питание антенны осуществляется коаксиальным кабелем 8 с волновым сопротивлением 75 Ом. После натягивания и закрепления полотна антенны прокладывается кабель снижения. Он привязывается к мачте снизу и к одному из проводов антенны. Оплетка кабеля припаивается в точке Ек пластине, соединенной с проводом, к которому он привязан, а центральная жила припаивается к пластине 9. Кабель прокладывается по двум сторонам внутреннего провода одной из ромбических рамок и вводится в антенну в точке нулевого потенциала.
Крепление провода к металлическим пластинам может быть выполнено с помощью резьбовых зажимов.
Конструктивные размеры ЗТА из трех проводников приведены в табл. 1.
Как было отмечено, радиолюбители могут изготовить ЗТА как на один отдельно выбранный телеканал, ориентируясь на данные табл. 1, так и в варианте, рассчитанном на прием передач с 1-го по 5-й и с 6-го по 12-й каналы включительно. Варианты ЗТА для приема телепередач с 21-го по 31-й каналы рассматриваются ниже, а конструктивные размеры многоканальной ЗТА приведены в табл. 2.
Таблица 1
| Обозначение размеров, мм | Каналы | |||||||||||
| 1 | 2 | 3 | 4 | 5 | 6 | 7 | 8 | 9 | 10 | 11 | 12 | |
| А | 6300 | 5300 | 4120 | 3750 | 3460 | 1860 | 1770 | 1700 | 1640 | 1570 | 1520 | 1460 |
| Б | 3150 | 2650 | 2060 | 1875 | 1730 | 930 | 885 | 850 | 820 | 785 | 760 | 730 |
| В | 260 | 260 | 260 | 260 | 260 | 200 | 200 | 200 | 150 | 150 | 150 | 150 |
| С | 3150 | 2650 | 2060 | 1875 | 1730 | 930 | 885 | 850 | 820 | 785 | 760 | 730 |
| а | 15 | 15 | 10 | 10 | 10 | 10 | 10 | 7 | 7 | 7 | 7 | 7 |
| в | 100 | 84 | 64 | 58 | 53 | 28 | 27 | 26 | 25 | 24 | 23 | 22 |
| d | 3 | 3 | 3 | 3 | 3 | 3 | 3 | 3 | 3 | 3 | 2 | 2 |
Таблица 2
| Каналы | Размеры, мм | ||||||
| А | Б | В | С | а | в | d | |
| 1-5 | 3400 | 1700 | 250 | 1700 | 10-15 | 100 | 3 |
| 6-12 | 950 | 475 | 150 | 475 | 7-10 | 28 | 2 |
Иногда на садовых участках при слабом телесигнале не удается получить качественное изображение на экране телевизионного приемника ни на одном принимаемом канале даже при правильной ориентации антенны на ТЦ. Изображение и некачественный звук могут быть существенно улучшены, если применить антенный усилитель, работающий в диапазоне метровых волн, или конвертер, если прием телепрограмм ведется на каналах ДМВ.
Рассматриваемая антенна хороню работает с антенным усилителем, принципиальная электрическая схема которого приведена на рис. 1. Антенный усилитель включается между входом в телевизионный приемник и коаксиальным кабелем снижения.
Зигзагообразная широкополосная антенна с рефлектором (рис. 2) предназначена для приема телесигналов на расстоянии 50-60 км от ТЦ. Рефлектор, расположенный с внутренней стороны, увеличивает коэффициент усиления почти в два раза. улучшает направленные свойства антенны и исключает прием сигналов с обратного направления.
Техническая характеристика:
| Коэффициент усиления для 1-5-го каналов | 6,2-12,2 (дБ) |
| для 6-12-го | 8,4-12,0 (дБ) |
| КНД | 6,0-10,0 |
| КБВ | 0,4-0,8 |
| Неравномерность коэффициента усиления, не более | 0,4 (дБ) |
| Волновое сопротивление фидера | 75 (Ом) |
| КПД | 0,97 |
| Помехозащищенность, не менее | -(10...17) (дБ) |
| Угол раствора диаграммы направленности в горизонтальной плоскости, не более | 70 |
ЗТА с рефлектором имеет одностороннюю диаграмму направленности в виде вытянутых эллипсов как в горизонтальной, так и в вертикальной плоскостях, при этом обе диаграммы практически одинаковы.

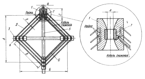
Рис. 2
Наружная зигзагообразная широкополосная проволочная антенна с рефлектором.
Если изготавливается антенна для более широкого диапазона частот, то диаграмма направленности с вертикальной плоскости сужается и становится меньше, чем в горизонтальной плоскости.
Рефлектор изготавливается в виде решетки из ряда параллельно расположенных проводников, чем достигается уменьшение массы рефлектора и резкое снижение ветрового сопротивления. При этом длина проводников, образующих ширину рефлектора, определяется следующим образом:
В качестве проводников могут быть использованы тонкостенные трубки диаметром 5-10 мм. Высота рефлектора определяется расстоянием между проводниками (стальными проводами или прутьями), которое зависит от минимальной длины волны рабочих частот t=0,l lдл.min. Ориентировочно высота рефлектора может быть определена по формуле:
Полотно экрана рефлектора крепится к вертикальной штанге (металлической или деревянной). В верхней и нижней точках антенны действует нулевой потенциал, что позволяет в этих точках закреплять рефлектор металлическими деталями.
В фидерном устройстве применяется коаксиальный кабель с волновым сопротивлением 75 Ом. Кабель снижения подключается к антенне без УСС. Коаксиальный кабель прокладывается по двум сторонам нижнего ромба антенны от точек питания, далее в нижней части антенны кабель прикрепляется к металлической подставке и по ней идет до рефлектора. Затем кабель поднимается по рефлектору вверх до точки, расположенной напротив узла питания антенны, пропускается через рефлектор наружу и образует снижение кабеля до телевизора.
Прутки или трубки рефлектора крепятся к вертикальной штанге с помощью винтов (скоб или сварки). Для уменьшения массы полотна антенны ее можно изготовить из провода диаметром 2 мм по рекомендациям, изложенным выше.
Конструктивные размеры ЗТА с рефлектором приведены в табл. 3. Полотно антенны может быть изготовлено как из отдельных проводников, так и из металлических тонкостенных трубок или полосок, что несколько проще. Полотно антенны можно разместить на деревянном каркасе из деревянных брусков и реек. Коаксиальный кабель подключается к металлическим платам питания, выполненным в виде закругленных сегментов.
Изготавливать ЗТА из металлических трубок рекомендуется только для приема телесигналов на высоких частотах 21-39-го каналов.
Таблица 3
| Размеры, мм | ||
| 1-5 | 6-12 | |
| А | 3400-4200 | 1700-2200 |
| Б | 1700-2100 | 475-600 |
| Н | 3900-4200 | 1170 |
| С | 1700-2100 | 470-600 |
| i | 3200 | 900 |
| t | 300 | 130 |
| B | 620 | 175 |
| d1 | 2 | 2 |
| d | 2 | 2 |
Диаметр проводов антенны определяется так: d = (0,016...0,02)lдл.max. Это значит, что для работы на 1-4-м каналах антенна должна изготавливаться из трубок диаметром 100-120 мм и 50-65 мм- для работы на 5-м канале, а для 6-11-го каналов - из труб диаметром 30-35 мм и 20-27 мм - для 12-го канала. Совершенно ясно, что сделать полотно наружной антенны из труб такого диаметра трудно, антенна будет иметь очень большую массу, а учитывая эффект парусности и ветровую нагрузку, конструкция антенны потребует значительного усиления несущих частей.
На 21-м канале диаметр трубок антенны может быть уменьшен до 10 мм, а на 39-м - до 8 мм.
По некоторым источникам технической литературы, широкополосную ЗТА для работы на 6-12-м каналах можно изготовить из трубок диаметром 12-20 мм.
Применение одного из антенных усилителей, рассмотренных в гл. 6 справочника, позволяет получить высокое качество изображения на первых 12 каналах телевизионных программ, а применение конвертера значительно расширяет возможности телеприемников старых моделей, не оборудованных селекторами ДМВ.
Покупные или самодельные антенные усилители рекомендуется использовать на садовых участках, расположенных вблизи границ зоны прямой видимости или в зоне полутени.
Сварная зигзагообразная антенна из трубок с рефлектором (рис. 3) обеспечивает прием изображений в прямом направлении на 6-12-м каналах. Состоит антенна из двух частей: рамки и рефлектора.
Рамка, изготовленная из трубок, имеет узел питания, к которому подключается фидерное устройство из коаксиального кабеля.
Техническая характеристика:
| коэффициент усиления на частотах 170-230 МГц | 8-11 (дБ) |
| КНД | 6-9 (дБ) |
| КБВ | 0,4-0,8 |
| Неравномерность коэффициента усиления, не более | 0,6-0,7 (дБ) |
| Волновое сопротивление фидера | 75 (Ом) |
| КПД | 0,95 |
| Помехозащищенность, не менее | -(14...24) (дБ) |
| Угол раствора диаграммы направленности в горизонтальной плоскости, не более | 50 |
| Рабочая частота | 48,5-230 (МГц) |
| Входное сопротивление антенны | 75 (Ом) |
| Количество принимаемых программ | 1-12 |
| Диаграмма направленности в горизонтальной и вертикальной плоскостях | эллипс |
Сдвоенная рамка изготавливается из двух или четырех отрезков трубок с помощью газовой сварки или пайки по размерам, указанным в табл. 4. Достаточная прочность конструкции рамки достигается жестким креплением сваренных трубок в верхней, нижней и средней частях антенны, где действует нулевой потенциал. В этом случае рамка соединяется с рефлектором с помощью металлических стоек также сваркой и не требует изоляционных прокладок в точках Б и В.
Кабель снижения прокладывается по металлической штанге антенны и прикрепляется к ней с помощью скоб по внутренней стороне до точки А, лежащей напротив узла питания, далее спускается вниз до точки В и по стойке, соединяющей рамку и рефлектор, до нижней точки соединения трубок.

Рис. 3
Сварная зигзагообразная антенна из трубок с рефлектором
Таблица 4
| Размеры, мм | Каналы | |
| 1-5 | 6-12 | |
| А | 3400 | 950 |
| Б | 1700 | 475 |
| В | 3200 | 900 |
| С | 1700 | 475 |
| А1 | 3900 | 1050 |
| а | 10-15 | 7-10 |
| d | 15-25 | 8-15 |
| d1 | 5-8 | 2-3 |
| E | 620 | 175 |
| Г | 100 | 28 |
С этого момента кабель идет без верхней изоляционной оболочки внутри правой или левой стороны нижней половины рамки до узла питания. Оплетка коаксиального кабеля припаивается в нижней части рамки на входе в трубку, а в узле питания - к одному из соединений трубок. Внутренняя жила коаксиального кабеля припаивается к противоположному стыку двух трубок в узле питания.
Сварная конструкция антенны хорошо выдерживает внешние механические нагрузки, обеспечивая устойчивый прием волн.
При изготовлении антенны важное значение имеет расстояние от полотна антенны до полотна рефлектора, которое необходимо выдерживать с достаточной точностью.
Для изготовления антенны на прием телесигналов на 1-5-м каналах можно применить вместо трубок металлические прутки или медную проволоку, проложенную в два или три параллельных ряда. При использовании металлической мачты полотно рефлектора крепится к ней без изоляторов.
Рекомендованная здесь прокладка кабеля снижения устраняет антенный эффект и двойное изображение на экране телевизора.
Двойная треугольная зигзагообразная сварная антенна (ДТЗА) - одна из лучших ЗТА (рис. 4). Ее полотно в отличие от рассмотренных ранее антенн отличается тем, что вместо двух ромбов состоит из двух треугольных рамок.
Диаграмма направленности антенны в горизонтальной плоскости без рефлектора представляет собой восьмерку практически правильной формы.

Рис. 4
Наружная двойная треугольная зигзагообразная сварная антенна из трубок:
1-трубка полотна антенны; 2-мачта; 3-прокладка металлическая; 4-плата диэлектрическая;5-кабель снижения; 6- скоба крепления.
Техническая характеристика:
| коэффициент усиления | 2,5-5,1 (дБ) |
| КНД | 4,1-8,2 (дБ) |
| КБВ | 0,4-0,8 |
| Неравномерность коэффициента усиления, не более | 0,4-0,6 (дБ) |
| Волновое сопротивление фидера | 75 (Ом) |
| КПД | 0,95 |
| Помехозащищенность, не менее | -(9...12) (дБ) |
| Угол раствора диаграммы направленности в горизонтальной плоскости, не более | 55-65 |
| Рабочая частота | 48,5-230 (МГц) |
| Входное сопротивление антенны | 73 (Ом) |
| Количество принимаемых программ | 1-12 |
Лепестки диаграммы имеют форму вытянутых эллипсов.
Входное сопротивление антенны в принимаемом диапазоне частот зависит от размеров антенны и ее формы, от размещения клемм, к которым подключается коаксиальный кабель или другая фидерная линия, а также от расположения вблизи антенны различных сооружении, влияющих на распределение электромагнитного поля в пространстве. В данном случае антенна хорошо согласуется с коаксиальным кабелем снижения с 75-омным волновым сопротивлением без УСС.
Рамки ДТЗА изготавливаются из трубок,проводников или антенного канатика, располагаются в одной вертикальной плоскости и соединяются между собой. Если полотно антенны выполнено из металлических полос или медных проводов, то их необходимо расположить в несколько параллельных рядов. При этом диаметр трубок, проводов, толщина полос и их ширина уменьшаются с увеличением номера канала. Чем меньше номер канала, тем должно быть больше рядов провода в ДТЗА. Наиболее оптимальным диаметром медных проводов будет 2 мм.
Эта антенна предназначена для приема телесигналов на 1-5, 6-12 или 21-39-м каналах в диапазоне частот 48,5-100,0; 100,0-230,0;470-622 МГц.
Каждому диапазону частот соответствуют свои конструктивные размеры и технические характеристики этих антенн. Поэтому радиолюбителям, прежде чем приступить к изготовлению антенны, необходимо установить, в каком диапазоне частот можно принимать телесигналы в данной местности. ДТЗА позволяет принимать сигналы на границе прямой видимости и частично в области полутени, т. е. примерно в 50 км от ТЦ.
Если треугольные рамки изготавливаются из тонкостенных металлических трубок, то наиболее надежной конструкцией является сварная. Конструктивные размеры всех элементов антенного полотна определяются длиной волны принимаемого канала и электрическими характеристиками антенны.
Например, при КБВ, равном 0,5, длина стороны треугольника вычисляется так:
С=(0,25...0,26)lдл, а = 0,09 С; В = 1,42
С + а; А = 1,42 С.
Основные конструктивные размеры сварной двойной треугольной антенны из трубок приведены в табл. 5.
Если возникла необходимость принимать сигналы на 1-5-м каналах, то рекомендуется изготовить антенну из медного провода, который натягивается по три-четыре проводника параллельно на каждой стороне треугольных рамок.
Как и в ранее рассмотренных конструкциях антенн данного типа, коаксиальный кабель прокладывается по вертикальной штанге антенны, припаивается оплеткой в точке б. где действует нулевой потенциал. Кабель рекомендуется прокладывать с внутренней стороны треугольной рамки. На рис. 4 кабель условно проложен с наружной стороны. Далее кабель идет по сторонам треугольника до узла питания,оплетка припаивается к стыку трубок с одной стороны, а внутренняя жила кабеля припаивается к другому стыку, расстояние между которыми обозначено буквой а (можно прокладывать кабель внутри трубок).
Таблица 5
| Каналы | Размеры, мм | ||||
| A | B | C | a | d | |
| 1 | 2370 | 2390 | 1670 | 20 | 75 |
| 2 | 1980 | 2000 | 1390 | 20 | 63 |
| 3 | 1510 | 1530 | 1060 | 20 | 48 |
| 4 | 1370 | 1390 | 964 | 20 | 43 |
| 5 | 1250 | 1270 | 880 | 20 | 40 |
| 6 | 661 | 681 | 466 | 20 | 21 |
| 7 | 632 | 652 | 445 | 20 | 20 |
| 8 | 605 | 625 | 426 | 20 | 19 |
| 9 | 580 | 600 | 410 | 20 | 18 |
| 10 | 558 | 578 | 390 | 20 | 17 |
| 11 | 538 | 558 | 378 | 20 | 16 |
| 12 | 518 | 538 | 365 | 20 | 15 |
Полотно сварной ДТЗА из трубок крепится к металлической штанге в точках Б и В через металлические прокладки с помощью винтового соединения или сварки. В центре антенны расположен узел питания, к которому подсоединяется кабель снижения. Здесь между полотном антенны и металлической штангой установлена диэлектрическая плата из какого-либо изоляционного материала.
Направленные свойства антенны можно улучшить, если снабдить антенну рефлектором, изготовленным также из трубок, который устанавливается сзади антенны на расстоянии 0,7С.
Проволочная двойная треугольная антенна (рис. 5) предназначена для приема телесигналов на 1-5-м или 6-12-м каналах.
Но в загородной местности рекомендуется использовать данную конструкцию только на двух-трех первых каналах телевидения. Полотно антенны изготавливается из проводников диаметром 1,5-2 мм и имеет конструктивные размеры, рассчитанные по формулам, которые носят эмпирический характер, и обеспечивающие получение наиболее оптимальных электрических характеристик ЗТА направленного действия.
Проволочная ДТЗА одинаково принимает сигналы как с прямого, так с обратного направлений, имеет достаточнобольшой КНД (эта ее особенность должна учитываться при установке антенны).

Рис. 5
Наружная проволочная двойная треугольная антенна:
1-плата контактная; 2-проводник полотна антенны; 3-мачта; 4-кабель снижения;
5-шина заземления; 6-рейка диэлектрическая; 7-узел питания антенны; 8-винт М5х25;
9-плата питания.
Для качественного приема программ телевидения необходимо, чтобы в данном месте не было отраженных электромагнитных волн с обратного направления.
Конструктивные размеры антенны приведены в табл. 5. Проволочная ДТЗА является вариантом ЗТА из трех проводников (см.рис. 1). Она состоит из двух параллельно соединенных и расположенных в вертикальной плоскости треугольных рамок. К деревянному бруску или к металлической штанге под углом 90° прикрепляются две горизонтальные рейки, размеры которых определяются номером канала. На концах реек б устанавливаются металлические пластинки 1 через диэлектрические прокладки. В центре антенны крепится плата питания, состоящая из диэлектрического основания, прокладок и двух металлических пластин, изготовленных в виде секторов. Если брусок и рейки изготовлены из дерева, то необходимо предусмотреть возможность прокладки по внутренней стороне антенны провода грозозащиты диаметром до 5 мм. В местах перегиба все проводники спаиваются между собой и металлической.пластиной. Вместо металлических пластинок 1 можно применить фольгированный стеклотекстолит толщиной не менее 2 мм. Для удобства монтажа в местах перегиба провода устанавливаются металлические штыри диаметром 2 мм и высотой до 3 мм, которые изготавливаются в виде заклепок.
Как во всех ЗТА, коаксиальный кабель 4 распаивается на плате питания в точке нулевого потенциала. Кабель прокладывается по мачте, где закрепляется скобами, затем идет до нижней точки антенны В, далее по одному из проводит треугольника до узла питания. Оплетка кабеля припаивается к одному металлическому сектору, а внутренняя жила - к другому сектору. Сами сектора крепятся к диэлектрической пластине с помощью шурупов или винтов с гайками.
Расстояние между кромками секторов а должно быть точно выдержано для каждого канала. Это расстояние для первых 12 каналов равно 20 мм, для 21-39-го - уменьшено до 10 мм.
Если изготовить антенну для приема 1-го канала, то она обеспечит прием программ на1-5-м каналах, а антенна, собранная по размерам 6-го канала, обеспечит прием программ на 6-12-м каналах.
Техническая характеристика:
| коэффициент усиления | 2,2-5,4 (дБ) |
| КНД | 5-7,5 (дБ) |
| КБВ во всем диапазоне принимаемых частот, не менее | 0,31-0,8 |
| КБВ (среднее значение) | 0,5 |
| Неравномерность коэффициента усиления, не более | 0,35-0,55 (дБ) |
| Волновое сопротивление фидера | 75 (Ом) |
| КПД | 0,99 |
| Помехозащищенность, не менее | -(9...12,5) (дБ) |
| Угол раствора диаграммы направленности в горизонтальной плоскости, не более | 55-65 |
| Рабочая частота | 48,5-230 (МГц) |
| Входное сопротивление антенны | 30-73 (Ом) |
| Количество принимаемых программ | 1-12 |
| Диаграмма направленности в горизонтальной плоскости | восьмерка |
| Угол раствора главного лепестка диаграммы направленности, не менее | 50 |
Коэффициент бегущей волны в 75-омном кабеле зависит от относительной длины боковых сторон антенны b/lдл., выполненной из металлических проводников диаметром 2 мм и шириной полотна
Г = 0,09 • Ь.
По величине КНД данная антенна несколько уступает полной ЗТА.
При минимально допустимом КБВ (0,5) антенна захватывает весь спектр частот телеканалов.
Конструктивные размеры антенны (см. табл 6) являются наименьшими, и при изготовлении их дальше уменьшать, не рекомендуется.
Таблица 6
| Каналы | Размеры, мм | |||||||
| А | Б | В | Г | С | а | b | d | |
| 1,3-5 | 2390 | 2120 | 2540 | 135 | 2140 | 20 | 1490 | 3 |
| 2,5 | 1980 | 1760 | 2120 | 112 | 1780 | 20 | 1240 | 3 |
| 3,6 | 1660 | 1470 | 1770 | 93 | 1490 | 20 | 1030 | 3 |
| 4,6 | 1430 | 1270 | 1510 | 80 | 1290 | 20 | 890 | 3 |
| 5-8 | 1250 | 1110 | 1320 | 70 | 1130 | 20 | 780 | 3 |
| 5,9-11 | 1310 | 1160 | 1400 | 73 | 1180 | 20 | 815 | 2,5 |
| 6-10 | 659 | 585 | 716 | 37 | 605 | 20 | 413 | 2,5 |
| 7-12, 21 | 635 | 563 | 691 | 36 | 583 | 20 | 396 | 2 |
| 8-12, 22 | 610 | 540 | 665 | 35 | 560 | 20 | 380 | 2 |
| 9-12, 23 | 586 | 520 | 639 | 33 | 540 | 20 | 365 | 2 |
| 10-12, 24 | 557 | 495 | 608 | 31 | 515 | 20 | 350 | 2 |
| 11,12,25-27 | 535 | 475 | 585 | 30 | 495 | 20 | 336 | 2 |
| 12, 25-32 | 518 | 460 | 367 | 29 | 480 | 20 | 324 | 2 |
Если изготовить антенну с большими, чем указано, размерами, то за счет этого улучшатся направленные свойства антенны и согласование ее с кабелем снижения.
Кроме этого, направленные свойства ДТЗА из проводников можно улучшить за счет введения в ее конструкцию экрана-рефлектора, который устанавливается с тыльной стороны антенны. Экран изготавливается из металлических трубок или из стальных прутьев, которые укрепляются на металлической штанге, но можно использовать для экрана и антенный канатик или простой провод, который натягивается на деревянную раму.
Как правило, рефлектор для антенн типа ДТЗА делается в виде прямоугольника, размеры которого несколько больше габаритных размеров антенны. Но в практике встречаются экраны, повторяющие конфигурацию этих антенн, при этом электрические параметры антенн не ухудшаются.
Цельносварная двойная треугольная антенна с экраном (рис. 6) предназначена для приема телесигналов на первых 12 каналах на расстоянии до 50 км от ТЦ или ретранслятора.

Рис. 6
Наружная цельносварная двойная треугольная антенна с экраном:
1-мачта; 2-трубка экрана; 3-стойка соеденительная; 4-вибратор; 5-шина заземления; 6-скоба; 7-кабель снижения.
Эта антенна является разновидностью неполной ЗТА.
В конструктивном отношении данная антенна достаточно проста и имеет хорошие электрические параметры.
Техническая характеристика:
| Коэффициент усиления: на 1-5-м каналах | 6,2-12,2 (дБ) |
| на 6-12-м | 8,5-12 (дБ) |
| КНД | 6-10 (дБ) |
| КБВ | 0,4-0,81 |
| Неравномерность коэффициента усиления, не более | 1 (дБ) |
| Волновое сопротивление фидера | 75 (Ом) |
| КПД | 0,99 |
| Помехозащищенность, не менее | -(15,5...26) (дБ) |
| Угол раствора главного лепестка диаграммы направленности, не менее | 55 |
| Рабочая частота | 50-100 (МГц) |
| Входное сопротивление антенны | 73 (Ом) |
| Количество принимаемых программ | 1-12 |
Диаграммы направленности антенны с экраном в горизонтальной и вертикальной плоскостях почти одинаковы, представляют эллипс в широком диапазоне частот.
Для изготовления антенны применяется металлическая трубка диаметром 15 мм. Приемное полотно антенны состоит из двух треугольных рамок, расположенных в одной вертикальной плоскости и соединенных между собой.
Полотно антенны можно изготовить из отдельных трубок, соединенных между собой газовой сваркой или пайкой, а также из металлических полос.
К металлической штанге, сделанной из тонкостенной трубки 1 диаметром до 40 мм, прикрепляются параллельно друг другу металлические стержни или трубки, образующие полотно экрана. Двойная треугольная рамка жестко крепится к экрану с помощью двух стоек, сделанных также из трубок. Если все соединения металлических частей антенны выполнены с помощью сварки, то получается прочная конструкция, способная противостоять различным механическим и климатическим нагрузкам. Такая конструкция, представляющая собой решетку, выдерживает практически любые ветровые нагрузки.
Фидер 7 из коаксиального кабеля с волновым сопротивлением 75 Ом прокладывается снизу по штанге 1, крепится к ней с помощью хомутиков 6 до точки нулевого потенциала 0'. Далее кабель прикрепляется к левой или правой частям нижнего треугольника до узла питания. Оплетка кабеля припаивается к одному стыку трубок, а жила кабеля - к другому.
Экран значительно улучшает направленные свойства антенны. Его размеры больше полотна антенны примерно на 20 %. Расстояние между трубками или проводниками зависит от минимальной длины волны рабочих частот и должно быть не более 0,1lдл. В точках 0 и 0' полотна антенны действует нулевой потенциал, что позволяет приваривать трубки антенны к полотну рефлектора. Экран располагается от полотна антенны на расстоянии 0,7·Д.
Конструктивные размеры цельносварной ДТЗА с экраном приведены в табл. 7.
Неполная зигзагообразная антенна (рис. 7) предназначена для приема телесигналов на расстоянии до 50 км от ТЦ.
Антенна позволяет принимать программы телевидения в диапазоне частот 1-5-го или 6-12-го каналов. В конструктивном отношении антенна проста, ее высота примерно в два раза меньше, чем у проволочной ЗТА. Она имеет почти такие же размеры, как и ДТЗА.
Таблица 7
| Каналы | Размеры ,мм | |||||||||
| А | Б | В | Г | Д | Е | К | a | d | d1 | |
| 1-3,5 | 2600 | 2980 | 2600 | 2390 | 1490 | 1040 | 260 | 20 | 30 | 10 |
| 2,5 | 2170 | 2480 | 2170 | 1980 | 1240 | 870 | 220 | 20 | 30 | 10 |
| 3,6 | 1800 | 2060 | 1800 | 1660 | 1030 | 720 | 180 | 20 | 25 | 8 |
| 4,6 | 1560 | 1790 | 1560 | 1430 | 890 | 625 | 160 | 20 | 25 | 8 |
| 5-8 | 1370 | 1560 | 1370 | 1250 | 780 | 550 | 140 | 18 | 20 | 6 |
| 5,9-11 | 1430 | 1630 | 1430 | 1310 | 815 | 570 | 145 | 18 | 20 | 6 |
| 6-10 | 700 | 826 | 700 | 659 | 413 | 290 | 50 | 15 | 15 | 5 |
| 7-12, 21 | 690 | 792 | 690 | 635 | 396 | 277 | 46 | 15 | 14 | 5 |
| 8-12, 22 | 665 | 760 | 665 | 610 | 380 | 265 | 44 | 15 | 12 | 4 |
| 9-12, 23 | 639 | 730 | 640 | 586 | 365 | 251 | 40 | 15 | 12 | 4 |
| 10-12, 24 | 608 | 700 | 610 | 557 | 350 | 240 | 38 | 15 | 10 | 3 |
| 11,12,25-27 | 585 | 672 | 590 | 535 | 336 | 234 | 35 | 15 | 10 | 3 |
| 12, 25-32 | 567 | 648 | 570 | 518 | 324 | 227 | 30 | 15 | 10 | 3 |
Техническая характеристика:
| Коэффициент усиления: на 1-5-м каналах | 3,5-7,7 (дБ) |
| на 6-12-м | 3,8-7,5 (дБ) |
| КНД | 3,9-4,5 (дБ) |
| КБВ | 0,35-0,5 |
| Неравномерность коэффициента усиления | 0,38-0,75 (дБ) |
| соотношение В/lдл | 0,2-0,44 |
| КПД | 0,95 |
| Помехозащищенность, не менее | -(13...20) (дБ) |
| Угол раствора главного лепестка диаграммы направленности, не менее | 50 |
| Рабочая частота | 50-230 (МГц) |
| Входное сопротивление антенны | 73 (Ом) |
| Количество принимаемых программ | 1-12 |
Диаграмма направленности антенны в горизонтальной плоскости имеет вид восьмерки правильной формы двухлепесткового типа. Антенна практически одинаково может принимать телесигналы как с прямого, так с обратного направлений.
К деревянному бруску 5 сечением примерно 60х60 мм под углом 90° прикрепляется горизонтальная рейка 7 сечением 40х40 мм. На концах этой репки укреплены через диэлектрические прокладки две металлические пластины 3. Такая же пластина укреплена в нижней части полотна антенны, которую можно установить без изоляционной прокладки.
Рис. 7
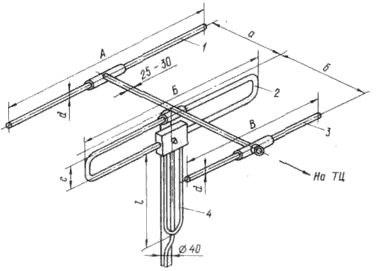
Наружная неполная зигзагообразная антенна:
1-узел питания; 2-провод полотна антенны; 3-планка контактная; 4-штырь; 5-штанга несущая; 6-кабель снижения; 7-трансформатор согласования типа ССТФ.
В верхней части бруска устанавливается плата питания 1, которая крепится к бруску без прокладок. Плата состоит из двух металлических пластин с закругленными краями, собранных на диэлектрическом основании.
После укрепления каркаса и закрепления пластин натягивается полотно антенны, состоящее из двух, трех или четырех параллельных проводников 2 диаметром от 2 до 4 мм. В конструкции можно использовать антенный канатик. В металлические пластины 3 вклепаны штыри 4 диаметром 2-3 мм и высотой до 3 мм. Проводники 2 в местах перегиба необходимо припаять к пластинам.
Фидер 8, изготовленный из коаксиального кабеля марки РК-75 с волновым сопротивлением 75 Ом, прокладывается по вертикальной штанге до нижнего узла антенны и далее по одному из внутренних проводов до платы питания. Для согласования неполной ЗТА с несимметричным фидером необходимо использовать специальные трансформаторы, выполненные из отрезков коаксиального кабеля, конструкция которых рассмотрена выше.
Для улучшения электрических параметров и исключения приема телесигналов с обратного направления антенну можно поставить перед металлическим экраном. При этом экран может быть установлен без механической привязки к конструкции антенны. Конструктивные размеры антенны сведены в таблице 8.
Таблица 8
| Каналы | Размеры, мм | |||||
| А | Б | В | С | b | a | |
| 1 | 3150 | 3150 | 2228 | 350 | 100 | 15 |
| 2 | 2650 | 2650 | 1874 | 260 | 84 | 15 |
| 3 | 2060 | 2060 | 1460 | 200 | 64 | 15 |
| 4 | 1875 | 1875 | 1325 | 180 | 58 | 15 |
| 5 | 1730 | 1730 | 1225 | 170 | 53 | 15 |
| 6 | 930 | 930 | 660 | 100 | 28 | 12 |
| 7 | 885 | 885 | 625 | 95 | 27 | 12 |
| 8 | 850 | 850 | 600 | 95 | 26 | 12 |
| 9 | 820 | 820 | 580 | 90 | 25 | 10 |
| 10 | 785 | 785 | 555 | 85 | 24 | 10 |
| 11 | 760 | 760 | 538 | 85 | 23 | 10 |
| 12 | 730 | 730 | 516 | 85 | 22 | 10 |
Унифицированные антенны типа "волновой канал"
Очень часто в загородной местности, удаленной от ТЦ на 40-70 км, используются трехэлементные антенны типа "волновой канал" с простым или петлевым вибраторами, антенны из длинных проводов и некоторые типы веерных и комбинированных антенн.
Антенна типа "волновой канал" - эффективная направленная антенна, простая по конструкции, широко используется для приема телепередач, а также в профессиональной и любительской радиосвязи.
Эти антенны обладают хорошими направленными показателями, дают большое усиление по мощности и обеспечивают дальний прием телесигналов на границе зоны прямой видимости или за ее границей, в зоне полутени, где напряженность электромагнитного поля имеет небольшую величину.
Устройство, конструктивные особенности, принцип действия и электрические параметры антенн типа "волновой канал" подробно рассмотрены в научно-технической литературе.
В настоящее время применяются антенны промышленного изготовления, рассчитанные на прием частоты одного канала. Существуют и многоканальные антенны типа "волновой канал", но их коэффициент усиления в 2-3 раза меньше, чем у одноканальных. В радиолюбительской практике антенны типа "волновой канал" изготавливаются редко, так как требуют достаточной точности сборки и весьма критичны по своим электрическим параметрам к настройке.
Для того чтобы антенна удовлетворительно работала в условиях, где напряженность электромагнитного поля незначительна, и можно было бы получить необходимое отношение сигнал - шум на входе телевизора, надо иметь большой коэффициент усиления, а это возможно только в сложных конструкциях антенн.
Несмотря на простоту конструкции и возможность получения высокого усиления и большого коэффициента защитного действия, антенна типа "волновой канал" имеет ряд недостатков. Как отмечалось выше, электрические параметры и технические характеристики этих антенн зависят от точности их изготовления, сборки и настройки, поэтому в условиях домашней мастерской изготовить антенну типа "волновой канал" с требуемыми характеристиками, при большом числе конструктивных элементов практически не представляется возможным. Незначительные неточности при сборке антенны могут привести к серьезному ухудшению направленных свойств и уменьшению коэффициента усиления.
Подключение антенного снижения из коаксиального кабеля осуществляется с помощью УСС. Кроме этого, учитывая, что антенны типа "волновой канал" являются относительно узкополосными, их использование для работы в диапазонах нескольких каналов ограничено. На границе прямой видимости применяют различные варианты антенн этого типа, имеющие 5-10 пассивных вибраторов.
Антенна типа "волновой канал" состоит из одного или нескольких простейших пассивных вибраторов, расположенных вблизи активного вибратора. Все вибраторы размещаются в одной горизонтальной плоскости параллельно друг другу. Закрепляются они посередине общей, стрелы, в качестве которой используется металлическая труба (деревянный брусок), создающая достаточную механическую прочность.
Все основные элементы антенны изготовляются из металлических тонкостенных трубок небольшого диаметра. Пассивные вибраторы выполняются из неразрезных трубок и закрепляются на стреле без изоляторов. Пассивный вибратор, находящийся за активным вибратором со стороны, противоположной направлению на ТЦ, называется рефлектором. Как правило, антенны типа "волновой канал" имеют один рефлектор. Пассивные вибраторы, расположенные впереди активного вибратора, называются директорами. У активного вибратора полоса пропускания несколько шире, чем у пассивного; кроме того, он крепится к стреле без изоляторов, поэтому и качестве активного вибратора используется петлевой вибратор, о котором рассказывалось выше (см. гл. 1). Все пассивные вибраторы прикрепляются в некоторых случаях (например, когда стрела из дерева) к стреле с помощью крепежных деталей - болтов или шурупов, а затем соединяются в местах крепления между собой проводником и заземляются.
Наиболее надежной и долговечной является цельносварная конструкция из трубок, когда все вибраторы привариваются к стреле в точках крепления. Стрела при этом должна быть заземлена. Длины вибраторов антенны типа "волновой канал" различаются между собой.
Длина активного вибратора А = 0,5 lдл, рефлектора В = 1,1...1,2)А, директоров - несколько меньше длины волны. Диаметр трубок вибраторов выбирается из числа имеющихся в наличии из ряда от 8 до 30 мм. Расстояние между вибраторами определяется так: а = (0,1...0,25)lдл.
Размеры определяются параметрами антенны, которые в свою очередь зависят от изменения количества вибраторов. Увеличение количества вибраторов приводит к повышению коэффициента усиления и к снижению входного сопротивления антенны, при этом характеристика направленности антенны становится более узкой, сужается также полоса пропускания частот, что вызывает ухудшение четкости принимаемого изображения и ослабление сигналов звукового сопровождения. Поэтому при выборе антенны ставьте цель: получить наивысший коэффициент усиления при минимально необходимой полосе пропускания.
Антенна типа "волновой канал" работает одинаково как на прием, так и на передачу, диаграмма ее направленности остается при этом без изменений. Питание антенны в любом случае прикладывается к входным контактам платы питания, как это было показано ранее, например к шлейф-вибратору Пистолькорса, в зоне, где существует определенная напряженность электромагнитного поля высокой частоты. Активный и пассивные вибраторы работают в этом поле, которое наводит ЭДС. Под действием ЭДС в вибраторах текут токи, амплитуда и фаза которых зависят от их длины и расстояний до активного вибратора. Длина рефлектора и его расстояние до активного вибратора подбираются такими, чтобы поля, созданные рефлектором и активным вибратором в одном направлении, компенсировались.
Рефлектор обеспечивает получение однолепестковой диаграммы направленности, которая достигается при длине рефлектора, равной lдл/2, и располагается на расстоянии 1/4lдл. сзади вибратора. Директоры способствуют сужению основного лепестка диаграммы направленности, изготавливаются несколько короче половины длины волны и имеют сопротивление емкостного характера.
Основные параметры антенны типа "волновой канал" обеспечиваются взаимосвязанными размерами отдельных элементов конструкции.
Двухэлементная антенна типа "волновой канал" (рис. 8) предназначена для приема телесигналов на одном выбранном канале телевидения в местах, где применение полуволновых вибраторов (ПЛРВ, ПЛНВ) не дает положительных результатов, в тех случаях, когда вибратор принимает как прямой, так и отраженный лучи, а на экране телевизора изображение нечеткое и двоится. Дальность приема сигналов составляет 40 км при высоте приемной антенны 15-20 м.

Рис.8
Наружная двухэлементная антенна типа "волновой канал":
1-рефлектор; 2-стрела; 3-штанга(мачта); 4-активный вибратор; 5-УСС.
Техническая характеристика:
| Коэффициент усиления | 1,4-3,5 (дБ) |
| КЗД | 0,85 |
| КНД | 3,9-4,5 (дБ) |
| КБВ | 0,9 |
| Неравномерность коэффициента усиления | 0,35 (дБ) |
| Волновое сопротивление фидера | 75 |
| КПД | 0,9 |
| Помехозащищенность, не менее | -(9...12,5) (дБ) |
| Угол раствора главного лепестка диаграммы направленности, не менее | 75-78 |
| Рабочая частота | 48,5-230 (МГц) |
| Входное сопротивление антенны | 80-220 (Ом) |
Диаграмма направленности - односторонняя, как в горизонтальной, так и в вертикальной плоскостях, обеспечивает резкое уменьшение приема отраженных волн и электромагнитных сигналов в виде помех, приходящих с тыльной и боковых сторон антенны.
Антенна состоит из двух основных элементов:активного вибратора и пассивного вибратора - рефлектора. В качестве активного вибратора применен шлейф-вибратор Пистолькорса. В качестве рефлектора - металлическая неразрезная трубка, которая жестко закреплена на горизонтальной металлической стреле.
Для изготовления антенны может быть использована тонкостенная трубка практически из любого металла диаметром 12-20 мм. Длина элементов антенны рассчитана по формулам, учитывающим коэффициент укорочения вибраторов, исходя из требования обеспечить получение максимально возможного коэффициента усиления и необходимую полосу пропускания. Длина рефлектора всегда должна быть больше длины активного вибратора на 5-15 %.
Как указывалось ранее, дальность приема простого петлевого вибратора не превышает 20-25 км от ТЦ или ретранслятора, если вблизи места приема нет высоких сооружений, препятствующих прохождению волн. В данном случае дальность приема увеличивается почти в два раза и достигается получение более четкой и контрастной картинки на экране телевизора. Расстояние между трубками вибраторов отсчитывается между осями трубок и определяется так: А = (0,15...0,2)lдл.ср.
Конструктивные размеры этой антенны приведены в табл. 9.
Вибраторы антенны укрепляются на стреле без изоляторов. Если стрела, вибраторы и мачта антенны изготовлены из стальных труб, то наилучший способ их соединения - сварка, она обеспечивает наибольшую жесткость конструкции, которая способна противостоять сильным ветрам, обледенению и другим механическим и климатическим воздействиям без уменьшения переходных сопротивлений в местах соединений.
Таблица 9
| Каналы | Размеры, мм | ||||
| А | Б | a | c | d | |
| 1 | 3140 | 2560 | 900 | 80 | 10-20 |
| 2 | 2680 | 2180 | 760 | 80 | 20 |
| 3 | 2060 | 1700 | 590 | 80 | 20 |
| 4 | 1870 | 1530 | 535 | 75 | 18 |
| 5 | 1710 | 1400 | 490 | 75 | 18 |
| 6 | 930 | 760 | 270 | 70 | 16 |
| 7 | 890 | 730 | 255 | 70 | 15 |
| 8 | 850 | 700 | 240 | 70 | 15 |
| 9 | 815 | 670 | 230 | 70 | 15 |
| 10 | 785 | 640 | 225 | 70 | 15 |
| 11 | 760 | 620 | 220 | 65 | 12 |
| 12 | 730 | 595 | 215 | 65 | 12 |
Различные детали, крепления и способы их соединения см. на рис. 10.
Трехэлементная антенна типа "волновой канал" (рис. 9)-предназначена для приема телесигналов на 1-12-м каналах, в местностях, где помехи и отраженные сигналы от всевозможных объектов не устраняются применением двухэлементной антенны. Трехэлементная антенна обеспечивает прием телесигналов на расстоянии до 50 км от ТЦ средней мощности, и местности, где существуют неблагоприятные условия приема: высокие здания, металлические конструкции, отражающие электромагнитные волны, ослабленный уровень телесигнала и помехи.

Рис. 9
Наружная трехэлементная антенна типа "волновой канал":
1-рефлектор; 2-активный вибратор; 3-директор; 4-УСС.


Рис. 10
Детали конструкции наружных антенн:
a-скоба металлическая; б-двойник; в-тройник; г-скоба крестообразная, сваренная встык; д-сборка крестообразная, сваренная внахлест; е-сборка дифференциальная.
Основные электрические параметры данной антенны - диаграмма направленности, коэффициент усиления и входное сопротивление - находятся в прямой зависимости от конструктивных размеров как самих вибраторов, так и от расстояний между ними. Все технические характеристики антенны взаимосвязаны.
Техническая характеристика:
| Коэффициент усиления | 5,3 (дБ) |
| Количество принимаемых программ | 1 |
| Максимальная масса, без штанги | 3,6 (кг) |
| КБВ | 0,65-0,9 |
| Неравномерность коэффициента усиления | 9,4 (дБ) |
| Волновое сопротивление фидера | 75 (Ом) |
| КПД | 0,97 |
| Помехозащищенность, | -(13...19) (дБ) |
| Диаграмма направленности в горизонтальной плоскости | односторонняя, узкая |
| Рабочая частота | 48,5-230 (МГц) |
| Входное сопротивление антенны | 90-100 (Ом) |
| Объемная ширина главного лепестка диаграммы направленности | 70 |
Конструктивные размеры данной антенны приведены в табл. 10.
Садоводы, имеющие участки в районе 40-50 км от ТЦ со сложным рельефом местности в особо неблагоприятных условиях, при наличии помех и отраженных лучей, должны использовать трехэлементную антенну в качестве основной антенны для приема телепередач по одному из первых 5 каналов.
Трехэлементная антенна состоит из вибратора, рефлектора и директора. Рефлектор располагается так же, как у двухэлементной антенны,- сзади активного вибратора, обеспечивает получение однонаправленной диаграммы направленности на расстоянии, равном 1/4lдл или на 5 % ближе к активному вибратору.
Таблица 10
| Каналы | Размеры, мм | |||||||
| А | Б | В | а | б | с | d | l | |
| 1 | 3020 | 2690 | 2350 | 875 | 585 | 90 | 25 | 1900 |
| 2 | 2560 | 2275 | 1990 | 740 | 495 | 85 | 22 | 1600 |
| 3 | 1980 | 1765 | 1540 | 575 | 385 | 80 | 22 | 1240 |
| 4 | 1800 | 1605 | 1400 | 625 | 350 | 80 | 20 | 1120 |
| 5 | 1650 | 1470 | 1285 | 480 | 320 | 80 | 20 | 1030 |
| 6 | 875 | 780 | 682 | 258 | 172 | 80 | 20 | 560 |
| 7 | 850 | 755 | 660 | 246 | 165 | 80 | 18 | 535 |
| 8 | 816 | 728 | 636 | 238 | 158 | 80 | 15 | 515 |
| 9 | 780 | 695 | 606 | 227 | 152 | 80 | 15 | 495 |
| 10 | 754 | 672 | 586 | 219 | 146 | 80 | 15 | 475 |
| 11 | 722 | 644 | 562 | 210 | 140 | 80 | 15 | 455 |
| 12 | 695 | 620 | 540 | 202 | 135 | 80 | 15 | 440 |
| 21 | 332 | 298 | 270 | 98 | 65 | 60 | 12 | 210 |
| 22 | 328 | 294 | 265 | 96 | 64 | 60 | 12 | 206 |
| 23 | 320 | 287 | 258 | 94 | 63 | 60 | 12 | 202 |
| 24 | 315 | 284 | 254 | 93 | 62 | 60 | 12 | 200 |
| 25 | 312 | 280 | 252 | 92 | 61 | 60 | 12 | 197 |
| 26 | 306 | 275 | 246 | 90 | 60 | 60 | 12 | 192 |
| 27 | 300 | 270 | 242 | 88 | 59 | 60 | 12 | 190 |
| 28 | 295 | 265 | 238 | 87 | 58 | 60 | 12 | 188 |
| 29 | 290 | 261 | 235 | 86 | 57 | 60 | 12 | 184 |
| 30 | 285 | 356 | 230 | 85 | 56 | 60 | 12 | 182 |
| 31 | 282 | 254 | 228 | 83 | 55 | 60 | 12 | 180 |
| 32 | 278 | 250 | 225 | 82 | 55 | 60 | 12 | 177 |
| 33 | 274 | 246 | 220 | 81 | 54 | 60 | 12 | 174 |
| 34 | 270 | 243 | 218 | 80 | 53 | 60 | 12 | 172 |
| 35 | 268 | 241 | 216 | 79 | 52 | 60 | 12 | 170 |
| 36 | 264 | 237 | 212 | 78 | 52 | 60 | 12 | 168 |
| 37 | 260 | 234 | 210 | 77 | 51 | 60 | 12 | 165 |
| 38 | 256 | 231 | 206 | 76 | 50 | 60 | 12 | 163 |
| 39 | 254 | 228 | 204 | 75 | 50 | 60 | 12 | 161 |
| 40 | 252 | 226 | 200 | 74 | 49 | 50 | 10 | 160 |
Директор антенны находится спереди активного вибратора на расстоянии примерно 0,1lдл.ср. Длина директора и расстояние до активного вибратора рассчитываются так, чтобы обеспечить сложение полей, создаваемых директором и активным вибратором в главном направлении. Директоры способствуют обострению основного лепестка диаграммы направленности.
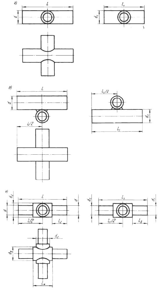
Все элементы антенны укрепляются на стреле, и изготавливаемой, как правило, из тонкостенной трубки диаметром 25-30 мм с помощью сварки или промежуточных деталей (см. рис. 10).
В качестве активного вибратора в данной антенне в большинстве случаев применяется петлевой вибратор, который подключается к коаксиальному кабелю с помощью УСС "U-образное колено".
Ранее промышленностью выпускались унифицированные конструкции наружных трехэлементных антенн для индивидального пользования, они назывались "антенны телевизионные унифицированные" (АТУ). В эксплуатации до настоящего времени встречаются антенны пяти типоразмеров, рассчитанные на прием одного из первых 5 каналов телевидения. Общий вид и размеры одной из этих антенн показаны на рис. 9. Основные технические характеристики АТУ приведены в табл. 11 (в обозначении унифицированных антенн первая цифра указывает номер телеканала, а вторая - число элементов).
Таблица 11
| Типоразмеры | Принимаемый канал | Размеры, мм | Коэффициент усиления | Угол раствора, град | ||
| Б | А | В | ||||
| АТУ-1-3 | 1 | 2670 | 3350 | 2340 | 5,3 | 70 |
| АТУ-2-3 | 2 | 2340 | 2840 | 2000 | 5,0 | 70 |
| АТУ-3-3 | 3 | 1790 | 2200 | 1550 | 4,8 | 70 |
| АТУ-4-3 | 4 | 1620 | 2000 | 1400 | 4,5 | 70 |
| АТУ-5-3 | 5 | 1510 | 1830 | 1290 | 4,2 | 70 |
Активный и пассивный вибраторы укрепляются на стреле без изоляторов в точке равновесия независимо от того, из какого материала изготовлена стрела. Стрела вместе с элементами также крепится к мачте в точке равновесия с помощью сварки или крепежных деталей, обеспечивающих надежную механическую прочность и выдерживающих ветровые нагрузки.
После установки и закрепления вибраторов стрела должна быть надежно прикреплена к мачте с помощью сварки или другим способом (в центре тяжести стрелы). Нужное значение при монтаже антенны имеют точность установки вибраторов на стреле и расстояние между ними.
При настройке антенны типа "волновой канал", предназначенной для применения в условиях сильных помех и отраженных сигналов, необходимо обратить особое внимание на снижение уровня задних и боковых лепестков диаграммы направленности.
Специальным подбором размеров элементов и расстояний между ними удается создать антенну типа "волновой канал" для приема каналов, работающих на разных частотах, например на 1-м и 3-м.
Конструктивные размеры деталей антенн типа "волновой канал" приведены в табл. 12.
Наиболее распространенные ТА типа "волновой канал", рассчитанные для функционирования в неблагоприятных условиях, обеспечивают достаточно хорошее качество приема на всех телепрограммах, если применяютс специальные покупные или самодельные антенные усилители или конвертеры. Выбор схемы антенного усилителя зависит от модели используемого телевизионного приемника, расположения садового участка, напряженности электромагнитного поля в месте приема телепрограмм, типа ТА и возможностей мастера-радиолюбителя.
Таблица 12
| Номер канала, не более | Размеры, мм | ||||||||
| d | l | l1 | d1 | d2 | l2 | l3 | l4 | d3 | |
| 40 | 10 | 80 | 80 | 10 | 15 | 25 | 25 | 30 | 15 |
| 40 | 12 | 90 | 90 | 12 | 17 | 30 | 30 | 30 | 17 |
| 12 | 14 | 95 | 100 | 14 | 17 | 30 | 30 | 35 | 17 |
| 12 | 15 | 100 | 100 | 15 | 20 | 30 | 30 | 40 | 20 |
| 12 | 16 | 120 | 120 | 16 | 20 | 40 | 40 | 40 | 20 |
| 6 | 18 | 140 | 120 | 18 | 20 | 45 | 45 | 50 | 20 |
| 5 | 20 | 150 | 140 | 20 | 24 | 50 | 50 | 50 | 24 |
| 3 | 22 | 160 | 140 | 22 | 24 | 50 | 50 | 60 | 24 |
| 2 | 25 | 180 | 150 | 25 | 27 | 60 | 60 | 60 | 27 |
Начинающим радиолюбителям необходимо напомнить, что усилители используются, как правило, только при приеме радиоволн метрового диапазона, а конвертеры - для приема дециметровых волн, что соответствует 1-12-му и 21-64-му телеканалам.
Использование телевизионных усилителей позволяет значительно улучшить основные электрические характеристики рассматриваемых антенн типа "волновой канал".
Телевизионная антенна типа "полуволновой вибратор уголковой конструкции"
На рис. 11 приведены конструкция простой наружной антенны с условным названием "уголковый полуволновой вибратор" и схема соединения антенны с кабелем снижения. Эта антенна предназначена для приема телепередач на расстоянии до 50 км от ТЦ на местности, где действует достаточно высокая напряженность электромагнитного поля. Она применяется в тех случаях, когда нужно вести прием сигналов с различных направлений. Антенна уголковой конструкции относится к классу широкополосных ТА, которые охватывают три диапазона телеканалов. По действующей классификации 1-й диапазон имеет два телесигнала и занимает полосу частот от 48,5 до 66 МГц (1-й и 2-й каналы), 2-й диапазон - три канала с полосой частот от 75 до 100 МГц (3-5-й каналы) и 3-й диапазон - семь каналов с полосой частот от 174 до 230 МГц (6-12-и каналы; см. табл. 4). Такой большой разнос частот между диапазонами предъявляет к данным антеннам определенные требования, например к точности сборки, и создает дополнительные трудности при их изготовлении.

Рис. 11
Наружная уголковая антенна:
1-трубка левой части вибратора; 2-трубка правой части вибратора; 3-УСС; 4-мачта;5-плата диэлектрическая; 6-накладка; 7-планка металлическая фигурная.
На наружную уголковую антенну можно принимать телесигналы на 1-12-й каналы на расстоянии 50-80 км от ГЦ. Хорошие результаты обеспечиваются при отсутствии отраженных сигналов и помех от других передающих центров на указанных частотах. Антенну изготавливают по расчетным размерам на каждый канал по средней частоте этого канала или на 1-5-й каналы по средней частоте 3-го канала.
Техническая характеристика:| Коэффициент усиления | 1,3-3 (дБ) |
| Напряженность поля в точке приема | 2 (мВ/м) |
| Угол раствора вибраторов | 80 |
| КБВi | 0,46-0,81 |
| Неравномерность коэффициента усиления | 0,78 (дБ) |
| Волновое сопротивление фидера | 75 (Ом) |
| КБВ | 0,55-0,7 |
| Помехозащищенность, не менее | -(5...11) (дБ) |
| Угол раствора главного лепестка диаграммы направленности, не менее | 75-78 |
| Рабочая частота | 50-230 (МГц) |
| Дальность приема сигналов | до 80 (км) |
| УСС | мостик |
| Угол раствора диаграммы направленности в горизонтальной плоскости | 75-80 |
Диаграмма направленности имеет форму вытянутого эллипса, в котором ЭДС развивается во всех направлениях прихода сигнала. Максимальная ЭДС на зажимах развивается, когда сигнал поступает с направления, перпендикулярного вибратору. Сигнал, приходящий к антенне под углом 90°, составляет примерно 0,3-0,35 максимального значения и развивает такую же пропорциональную сигналу ЭДС. В диаграмме направленности антенны не выделяются ни основной, ни боковые лепестки. Наличие почти круговой направленности антенны определяет ее применение в месте приема сигналов. Антенна в силу своей конструкции в большей степени воспринимает боковые помехи и отраженные сигналы. Это обстоятельство приходится учитывать при установке антенны на участке.
Конструкция уголковой антенны включает в свой состав: мачту 4, выполненную из тонкостенной стальной трубки диаметром 30-40 мм или из деревянного бруса переменного сечения, имеющего в верхней части сечение 40х40 или 50х50 мм; две металлические трубки, образующие полуволновой вибратор направленного действия;
УСС, выполненное из металлических трубок в виде чет верьволнового короткозамкнутого мостика; крепежные борки и детали.
Для изготовления короткозамкнутого мостика и уголкового вибратора применяются латунные (алюминиевые или стальные) трубки диаметром 8-20 мм, с толщиной стенки до 1 мм.
Конструктивные размеры уголковой антенны приведены в табл. 13. Описание работы УСС и размеры четвертьволнового короткозамкнутого мостика.
Таблица 13
| Каналы | Средняя длина волны | Размеры, мм | ||||
| l | l1 | a | b | d | ||
| 1 | 5,72 | 2860 | 1430 | 60 | 80 | 20 |
| 2 | 4,84 | 2420 | 1200 | 60 | 80 | 20 |
| 3 | 3,55 | 1780 | 1150 | 60 | 80 | 18 |
| 4 | 3,41 | 1705 | 1000 | 55 | 75 | 18 |
| 5 | 3,13 | 1560 | 900 | 55 | 75 | 17 |
| 6 | 1,68 | 830 | 850 | 50 | 70 | 16 |
| 7 | 1,61 | 805 | 370 | 50 | 70 | 15 |
| 8 | 1,55 | 756 | 370 | 50 | 70 | 15 |
| 9 | 1,48 | 740 | 370 | 50 | 70 | 15 |
| 10 | 1,43 | 715 | 370 | 50 | 70 | 14 |
| 11 | 1,37 | 668 | 370 | 50 | 70 | 14 |
| 12 | 1,32 | 660 | 370 | 50 | 70 | 12 |
Основой конструкции антенны является плата 5, выполненная из диэлектрического материала, например оргстекла толщиной 4 мм, и представляющая собой трапецию с изогнутыми под углом 80° сторонами (см. рис. 11). Эта плата крепится к мачте с помощью болтов или винтов, с применением соответствующих прокладок и скоб. К этой плате крепятся трубки вибраторов 1 и 2 с помощью скоб и резьбовых соединений. Снизу к плате 5 крепится симметрирующий мостик (вариант крепления см. на рис. 11).
Коаксиальный кабель, идущий от телевизора, привязывается к мачте с помощью изоляционной ленты с шагом 0,5 м, далее протягивается через одну из трубок короткозамкнутого мостика и припаивается оплеткой к правой трубке вибратора и к трубке, через которую он проходит.
Внутренняя жила коаксиального кабеля припаивается ко второй трубке вибратора. Пайку проводников рекомендуется производить к внутренним поверхностям трубок. Вторая трубка короткозамкнутого мостика припаивается проводом к трубке вибратора, к которой припаяна внутренняя жила коаксиального кабеля.
Полуволновой вибратор антенны может быть изготовлен из металлической ленты или полосы толщиной 2-3 мм шириной 16-50 мм из дюралюминия (латуни или бронзы). Вместо пайки или сварки в конструкции антенны можно применить крепежные соединения, выполненные по правилам электрического монтажа электроустановок.
После изготовления уголковую антенну необходимо настроить на частоту принимаемого канала. Сначала антенну устанавливают в направлении принимаемой станции. Для этого антенну поворачивают в одну сторону до тех пор, пока на экране телевизора изображение не начнет исчезать. Это положение отмечают. Затем делают то же самое, поворачивая антенну в другую сторону. После этого антенну устанавливают посередине между двумя зафиксированными положениями и закрепляют. Настройку антенны завершают точной установкой металлической перемычки короткозамкнутого мостика на максимальную контрастность, передвигая ее вдоль трубок мостика.
Если антенна сделана точно, то особой настройки не потребуется. Если же для изготовления вибраторов применены трубки другого диаметра, то необходимо произвести дополнительную настройку, помня, что при уменьшении диаметра трубки длина вибраторов увеличивается.
