Отечественный аналог- К174КП1
Электронный коммутатор входов предназначен для коммутации четырех стереофонических входов в трактах звуковоспроизводящей аппаратуры класса HI-FI. Переключение входов - электронное. Выбор канала осуществляется подачей уровня логического нуля на один из входов управления (11, 12 или 13).
Таблица 2
| Температурный диапазон | -30...+8 ºС |
| Uпит | 6-23 В |
| Iпот | 3,5 мА |
| Uвx. макс. | 6В |
| Коэффициент гармоник | 0,01% |
| Относительный уровень шума | -90 дБ |
| Коэффициент передачи | 1 |
| Полоса частот | 20-25000 Гц |
Назначение выводов представлено в табл. 1, а основные технические характеристики - в табл. 2.
Таблица 1
| 1 | Вход звукового сигнала; первый канал |
| 2 | Вход звукового сигнала; первый канал |
| 3 | Вход звукового сигнала; первый канал |
| 4 | Вход звукового сигнала; первый канал |
| 5 | Вход звукового сигнала; второй канал |
| 6 | Вход звукового сигнала; второй канал |
| 7 | Вход звукового сигнала; второй канал |
| 8 | Вход звукового сигнала; второй канал |
| 9 | Выход звукового сигнала; второй канал |
| 10 | Выход опорного напряжения |
| 11 | Вход сигнала переключения |
| 12 | Вход сигнала переключения |
| 13 | Вход сигнала переключения |
| 14 | Напряжение питания |
| 15 | Выход звукового сигнала; первый канал |
| 16 | Общий |
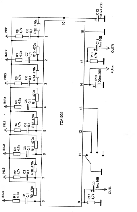
Типовая схема включения приведена на рис. 1.

Рис. 1
Чертеж печатной платы изображен на рис. 2.

Рис. 2
Схема расположения элементов на плате представлена на рис. 3.

Рис. 3
Внешний вид коммутатора предоставлен на рис. 4

Рис. 4
