Микросхема предназначена для управления мощными импульсными стабилизаторами напряжения, схемами управления электроприводом с током коммутации до 5 А.
В состав микросхемы входят: стабилизатор напряжения, ШИМ, усилитель сигнала рассогласования, компаратор, генератор пилообразного напряжения, узлы температурной и токовой защиты и силовой биполярный транзистор.
Микросхема изготавливается в 8-выводном металлостеклянном корпусе типа 4.106.010.

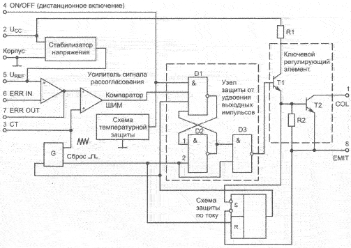
Рис. 1 Структурная схема микросхемы
Назначение выводов микросхемы представлено в таблице, структурная схема приведена на рис. 1, а типовая схема включения — на рис. 2.
Электрические параметры
| Остаточное напряжение (при Uсс = 12В, Iвых = 5А),В | <2 |
| Опорное напряжение(при Uсс = 9В),В | 1,9 - 2,1 |
| Ток утечки (при UKOM = 40 В,Ucc = 9B),мA | 0,3 |
| Ток потребления(при Ucc = 36), мА | 35 |
| Нестабильность по напряжению ИОН (при Ucc = 9 В), В | <0,1% |
Режимы эксплуатации
| Коммутируемое напряжение (Ukom), В | <40 |
| в предельном режиме(в течение 100 мс), В | <44 |
| Напряжение питания, В | 6...36 |
| в предельном режиме(в течение 100 мс), В | 6...40 |
| Зачение статическогопотенциала, В | <500 |
| Выходной ток, А | <5 |
| в предельном режиме(в течение 100 мс), А | <5,5 |
| Рассеиваемая мощность, Вт | <20 |
| в предельном режиме, Вт | <22 |
| Рабочая частота, кГц | <200 |
| Температура кристалла, °С | <150 |
| Тепловое сопротивление«корпус-кристалл», °С/Вт | 6,3 |
| Температура окружающейсреды, °С | -60...+125 |
Примечание: Рассеиваемая мощность в диапазоне температуры от 25 до 125°С снижается линейно на 0,16 Вт/°С.
Рекомендации по применению
При монтаже микросхемы необходимо учитывать, что ее корпус электрически связан с общим проводом ее внутренних узлов.
Принцип действия микросхемы основан на ШИМ преобразовании входного напряжения. Выходное напряжение усилителя сигнала рассогласования (УСР) с помощью коммутатора ШИМ сравнивается с напряжением генератора пилообразного напряжения G. Если напряжение генератора не превышает напряжение УСР, то выход коммутатора находится в состоянии лог. «0», а ключевой транзистор в это время открыт. В процессе формирования фронта пилообразного напряжения генератор вырабатывает прямоугольный импульс, который используется для синхронизации ШИМ. Во время действия синхроимпульса ключевой транзистор находится в закрытом состоянии, т.е. передний фронт управляющих импульсов на выходе формирователя (база ключевого транзистора) совпадает с началом формирования линейно нарастающего участка пилообразного напряжения. Этим исключается влияние нелинейности спадающего участка пилообразного напряжения на параметры ШИМ.

Рис. 2 Типовая схема включения
Конденсатор входного фильтра рекомендуется располагать как можно ближе к выв. 1 и 2 микросхемы, а выв. 5 зашунтировать конденсатором емкостью 0,01...0,1 мкФ.
При использовании микросхемы в схемах с заземленным эмиттером ключевого транзистора (выв. 8) значение времязадающего конденсатора, подключаемого к выв. 3, должно быть не менее 0,025 мкФ.
При температуре кристалла микросхемы более 150°С срабатывает схема температурной защиты. Для восстановления работоспособности схемы необходимо отключить нагрузку и кратковременно выключить напряжение питания (выв. 2).
Если превышен предельно допустимый выходной ток (5 А), срабатывает защита потоку. При отключении нагрузки работоспособность схемы восстанавливается.
