Полиэтилентерефталатные помехоподавляющие К73-43
Предназначены для подавления радиопомех в диапазоне частот 0,15... 100 МГц. Могут применяться вместо конденсаторов типов К73-37, К75-41, К75-61.
| Технические характеристики | |
| Номинальное напряжение при f=50Гц, В | 250 |
| Испытательное напряжение для С1 (постоянное), В | 1100 |
| для С2 (при f=50 Гц), В | 1500 |
| Номинальный ток (для вариантов "г" "д"), А | 10 |
| Допускаемое отклонение емкости, % | ±20 |
| Тангенс угла потерь при f=1кГц, не более | 0,015 |
| Сопротивление изоляции для Сном ≤0,33 мкФ, не менее, ГОм | 12 |
| Постоянная времени для Сном >0,33 мкФ, не менее, ГОм-мкФ | 4 |
| Интервал рабочих температур, °С | -60...+85 |
| Наработка, ч | 10000 |
| Срок сохраняемости, лет | 12 |
Таблица 1
| Номинальные емкости, мкФ | Размеры, мм | |||
| С1 | С2 | L | B | H |
| 0,1 | 0,0022 | 33 | 8 | 22 |
| 0,0047 | ||||
| 0,22 | 0,0022 | 9 | 30 | |
| 0,0047 | ||||
| 0,47 | 0,0022 | 11 | 36 | |
| 0,0047 | ||||
| 0,68 | 0,0022 | 13 | ||
| 0,0047 | ||||
| 0,010 | ||||

Рис. 1 а
Внешний вид конденсаторов
Вариант "в"

Рис. 1 б
Внешний вид конденсаторов
Варианты "г"и "д"

Рис. 2
Зависимость вносимого затухания А от частоты
Секция С1:1-0,1мкФ, 2-0,22мкФ, 3-0,47мкФ, 4-0,68мкФ;
Секция C2:5-0,0022мкФ, 6-0,0047мкФ
Полиэтилентерефталатные К73-39
Предназначены для работы в цепях постоянного, переменного, пульсирующего токов и в импульсных режимах.
Конденсаторы К73-39, изготовляемые по высокопроизводительной технологии, заменяют полностью или частично: метаплопленочные конденсаторы К73-47, K73-3Q, К73-34, не уступая им по электрическим и эксплуатационным параметрам: керамические конденсаторы КМЗ"б"/КМ6"б", К10-17"б", К10-47"а" групп НЗО, Н50, Н90, значительно превосходя их по стабильности емкости и не уступая им по электрическим и эксплуатационным параметрам.
| Технические характеристики | |
| Допускаемое отклонение емкости, % | ±5;±10;±20 |
| Тангенс угла потерь при f=1кГц | <0,012 |
| Сопротивление изоляции для Сном<0,33 мкФ,ГОм | >3 |
| Постоянная времени для Сном >0,33 мкФ, ГОм-мкФ | >1 |
| Интервал рабочих температур, °С | -60...+100 |
| Изменение емкости в интервале положительных температур, % | <10 |
| Наработка, ч | 15000 |
| Срок сохраняемости, лет | 10 |
Таблица 2
| Cном, мкФ | LмаксхНмаксхВмакс, мм | ||||
| Масса, г | |||||
| А=10мм | |||||
| Номинальное напряжение, В | |||||
| 63 | 100 | 250 | 400 | 630 | |
| 0,010 | 13х9х4 2,0 | 13х9х4 2,0 | 13х9х5 2,3 | ||
| 0,012 | |||||
| 0,015 | 13х10х5 2,5 | ||||
| 13х9х4 | |||||
| 0,018 | 2,0 | 13х11,5х6 3,2 | |||
| 0,022 | 13х10х5 2,5 | ||||
| 0,027 | |||||
| 0,033 | 13х9х4 | ||||
| 0,039 | 2,0 | 13х11,5х6 3,2 | |||
| 0,047 | |||||
| 0,056 | 13х10х5 | ||||
| 0,068 | 2,5 | 13х11,5х7,5 3,6 | |||
| 0,082 | 13х11,5х6 3,2 | 13х12,5х7,5 3,6 | |||
| 0,10 | |||||
| 0,12 | |||||
| 0,15 | 13х10х4 | 13х11,5х7,5 3,6 | |||
| 2,0 | |||||
| 0,18 | |||||
| 0,22 | 13х10х5 | ||||
| 0,27 | 2,5 | ||||
| 0,33 | 13х10х4 2,0 | ||||
| 13х11,5х6 | |||||
| 0,39 | 13х10х5 2,5 | 3,2 | |||
| 0,47 | |||||
| 0,68 | 13х11,5х6 | 13х11,5х7,5 | |||
| 3,2 | 3,6 | ||||
| 0,82 | |||||
| 1,0 | 13х11,5х7,5 | ||||
| 3,6 | |||||
Таблица 3
| Cном, мкФ | LмаксхНмаксхВмакс, мм | |||||||
| Масса, г | ||||||||
| А=5мм | А=7,5мм | |||||||
| Номинальное напряжение, В | ||||||||
| 63 | 100 | 250 | 63 | 100 | 250 | 400 | 630 | |
| 0,00047 | 8х7х3 1,0 | |||||||
| 0,0010 | ||||||||
| 0,0012 | ||||||||
| 0,0015 | 11х9х4 | |||||||
| 0,0018 | 8х7х3 | 8х7х3 | 11х9х4 | 11х9х4 | 11х9х4 | 2,0 | ||
| 0,0022 | 1,0 | 1,0 | 2,0 | 2,0 | 2,0 | |||
| 0,0027 | 11х9х4 | |||||||
| 0,0033 | 2,0 | |||||||
| 0,0039 | ||||||||
| 0,0047 | 11х10х5 | |||||||
| 0,0056 | 11х10х5 | 2,5 | ||||||
| 0,0068 | 8х9х4 | 2,0 | ||||||
| 0,0082 | 1,5 | 11х10х6 | ||||||
| 0,010 | 2,7 | |||||||
| 0,012 | 8х10х5 | 11х10х4 | 11х10х5 | 11х12,5х7,5 | ||||
| 0,015 | 2,0 | 2,0 | 2,5 | 4,2 | ||||
| 0,018 | 8х9х4 | 11х10х6 | ||||||
| 0,022 | 1,5 | 8х10х6 | 2,7 | |||||
| 0,027 | 2,0 | 11х11,5х7,5 | ||||||
| 0,033 | 3,4 | |||||||
| 0,039 | 11х10х4 | 11х12,5х7,5 | ||||||
| 2,0 | 11х10х5 | 4,0 | ||||||
| 0,047 | 2,5 | 11х12,5х8,5 | ||||||
| 4,2 | ||||||||
| 0,056 | 11х11,5х6 | |||||||
| 0,068 | 11х10х4 | 3,2 | ||||||
| 0,082 | 8х10х5 | 2,0 | 11х11,5х7,5 | |||||
| 0,10 | 8х9х4 | 2,0 | 3,4 | |||||
| 0,12 | 1,5 | 11х12,5х8,5 | ||||||
| 0,15 | 8х10х6 | 11х10х5 | 4,2 | |||||
| 8х10х5 | 2,0 | 2,5 | ||||||
| 0,18 | 2,0 | |||||||
| 0,22 | 11х11,5х6 | |||||||
| 0,27 | 3,2 | |||||||
| 0,33 | 11х11,5х7,5 | |||||||
| 8х10х6 | 3,4 | |||||||
| 0,39 | 2,0 | 11х10х5 | 11х12,5х8,5 | |||||
| 0,47 | 2,5 | 4,2 | ||||||
| 0,68 | 11х11,5х6 | |||||||
| 3,2 | ||||||||
| 0,82 | 11х11,5х7,5 | |||||||
| 3,4 | ||||||||
| 1,0 | 11х12,5х8,5 | |||||||
| 4,2 | ||||||||
| 1,5 | 11х13,5х8,5 | |||||||
| 4,2 | ||||||||

Рис. 3
Габаритные размеры

Рис. 4
Зависимость допустимого напряжения Vt от температуры окружающей среды
Полиэтилентерефталатные К73-46
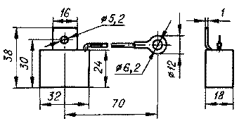
Предназначены для работы в цепях постоянного, переменного и пульсирующего тока. Оформлены в полимерном цилиндрическом корпусе двух конструктивных вариантов-с разнонаправленными и однонаправленными выводами (рис. 3). Выводы-плоские, жесткие, луженые толщиной 0,5±0,1 мм и шириной 4 мм с отверстиями диаметром 2 мм у концов. Расстояние между выводами варианта по рис. 3,б зависит от диаметра D корпуса.
| Технические характеристики | |
| Номинальная емкость, мкФ | 10-200 |
| Номинальное напряжение, В | 315;400;500;630 |
| Допускаемое отклонение емкости, % | 10 |
| Тангенс угла потерь при f=1кГц | 0,012 |
| Постоянная времени МОм·мкФ, не менее | 2000 |
| Интервал рабочих температур, °С | -60...+55 |
| Наработка, ч, не менее | 10000 |
![]() | ![]() |
| Рис. 5 а,б | |

Рис. 6
Зависимость допускаемой амплитуды синусоидального (или синусоидальной составляющей пульсирующего) напряжения Ut от частоты f показана на рис. 4. Отрезки прямых на этом графике соответствуют следующим значениям емкости и номинального напряжения:1-315В/10мкФ;2- 400В/10мкФ;3- 500 и 630 В/10мкФ; 4-315В/100мкФ; 5-400В/100мкФ; 6-500 и 630В/100мкФ; 315В/200мкФ; 7-400В/200мкФ; 8-500 и 630 В/200мкФ;
Таблица 4
| Номин. напряжение, В | Номин. емкость, мкФ | Размеры, мм | Масса, г | |
| D | L | |||
| 315 | 10 | 28 | 72 | 65 |
| 15 | 32 | 90 | ||
| 22 | 36 | 110 | ||
| 33 | 40 | 135 | ||
| 47 | 45 | 170 | ||
| 68 | 54 | 250 | ||
| 100 | 48 | 140 | 380 | |
| 200 | 68 | 760 | ||
| 400 | 10 | 35 | 72 | 100 |
| 15 | 40 | 135 | ||
| 22 | 46 | 180 | ||
| 33 | 53 | 250 | ||
| 47 | 46 | 140 | 370 | |
| 68 | 50 | 410 | ||
| 100 | 60 | 600 | ||
| 200 | 82 | 1100 | ||
| 500 | 10 | 40 | 72 | 135 |
| 15 | 46 | 180 | ||
| 22 | 53 | 250 | ||
| 33 | 46 | 140 | 370 | |
| 47 | 56 | 520 | ||
| 68 | 65 | 700 | ||
| 100 | 75 | 930 | ||
| 200 | 100 | 1650 | ||
| 630 | 10 | 45 | 72 | 170 |
| 15 | 54 | 260 | ||
| 22 | 45 | 140 | 360 | |
| 33 | 55 | 500 | ||
| 47 | 60 | 600 | ||
| 68 | 70 | 810 | ||
| 100 | 87 | 1250 | ||
| 200 | 120 | 2370 | ||
Ассортимент выпускаемых конденсаторов К73-46 предоставлен в таблице 4.
Полиэтилентерефталатные К73-50
Предназначены для использования в цепях постоянного, переменного, пульсирующего и импульсного тока. Изолированы полимерной лентой, торцы залиты эпоксидным компаундом. Выводы-проволочные, жесткие, луженые (рис. 7). Возможно и другая конструкция выводов.

Рис. 7
Могут быть использованы взамен МБГО, К73П-2, К75-24, К73-26.
| Технические характеристики | |
| Номинальная емкость, мкФ | 0,33-150 |
| Номинальное напряжение, В | 63-1600 |
| Допускаемое отклонение емкости от номинального значения, % | ±5;±10;±20 |
| Тангенс угла диэлектрических потерь, не более, на частотах f=1кГц | 0,012 |
| Постоянная времени МОм·мкФ, не менее, для конденсаторов емкостью более 0,33 мкФ | 2000 |
| Сопротивление изоляции, ГОм, не менее, для конденсаторов 0,33 мкФ и менее | 6 |
| Изменение емкости, % не более, при увеличении температуры от 25 °С до 85 °С | 8 |
| Интервал рабочих температур, °С | -60...+85 |
| Наработка, ч, не менее | 10000 |
| Срок сохраняемости, лет | 10 |
Ассортимент выпускаемых конденсаторов К73-50 представлен в табл. 5. Допускаемую амплитуду переменного синусоидального (или синусоидальной составляющей пульсирующего) напряжения Uf в зависимости от частоты f вычисляют по номограмме, показанной на рис. 8. Пример определения конкретного значения напряжения Uf показан на номограмме штриховыми линиями и стрелками.

Рис. 8
Таблица 5
| Ном. напряжение, В | Ном. емкость, мкФ | Размеры, мм | Масса, г | ||
| D | L | d | |||
| 63 | 33 | 22 | 60 | 1 | 42 |
| 47 | 28 | 74 | |||
| 68 | 32 | 100 | |||
| 100 | 30 | 85 | 1,5 | 140 | |
| 120 | 32 | ||||
| 150 | 38 | 200 | |||
| 100 | 15 | 22 | 44 | 0,8 | 28 |
| 22 | 60 | 1 | 42 | ||
| 33 | 28 | 74 | |||
| 47 | 32 | 100 | |||
| 68 | 85 | 1,5 | 140 | ||
| 100 | 38 | 200 | |||
| 250 | 10 | 22 | 60 | 1 | 42 |
| 15 | 28 | 74 | |||
| 22 | 34 | 115 | |||
| 33 | 42 | 175 | |||
| 47 | 40 | 85 | 2 | 200 | |
| 68 | 48 | 270 | |||
| 75 | 50 | 290 | |||
| 400 | 1,5 | 15 | 44 | 0,8 | 14 |
| 2,2 | 18 | 21 | |||
| 3,3 | 22 | 28 | |||
| 4,7 | 60 | 1 | 42 | ||
| 6,8 | 26 | 60 | |||
| 10 | 32 | 100 | |||
| 15 | 38 | 130 | |||
| 22 | 34 | 102 | 2 | 180 | |
| 33 | 42 | 250 | |||
| 47 | 50 | 340 | |||
| 68 | 60 | 500 | |||
| 500 | 1 | 15 | 44 | 0,8 | 14 |
| 1,5 | 18 | 21 | |||
| 2,2 | 22 | 28 | |||
| 3,3 | 60 | 1 | 42 | ||
| 4,7 | 26 | 60 | |||
| 6,8 | 32 | 100 | |||
| 10 | 38 | 130 | |||
| 15 | 34 | 102 | 2 | 180 | |
| 22 | 42 | 250 | |||
| 33 | 50 | 340 | |||
| 47 | 60 | 500 | |||
| 630 | 0,68 | 15 | 44 | 0,8 | 14 |
| 1 | 18 | 21 | |||
| 1,5 | 22 | 28 | |||
| 2,2 | 60 | 1 | 42 | ||
| 3,3 | 26 | 60 | |||
| 4,7 | 32 | 100 | |||
| 6,8 | 38 | 130 | |||
| 10 | 34 | 102 | 2 | 180 | |
| 15 | 42 | 250 | |||
| 22 | 50 | 340 | |||
| 33 | 60 | 500 | |||
| 1000 | 0,47 | 18 | 60 | 1 | 30 |
| 0,68 | 22 | 42 | |||
| 1 | 26 | 60 | |||
| 1,5 | 30 | 86 | |||
| 2,2 | 38 | 130 | |||
| 3,3 | 34 | 102 | 2 | 180 | |
| 4,7 | 40 | 220 | |||
| 6,8 | 48 | 290 | |||
| 10 | 58 | 430 | |||
| 15 | 62 | 125 | 580 | ||
| 22 | 75 | 830 | |||
| 1600 | 0,33 | 22 | 60 | 1 | 42 |
| 0,47 | 26 | 60 | |||
| 0,68 | 32 | 100 | |||
| 1 | 38 | 130 | |||
| 1,5 | 34 | 102 | 2 | 180 | |
| 2,2 | 42 | 250 | |||
| 3,3 | 50 | 340 | |||
| 4,7 | 58 | 460 | |||
| 6,8 | 62 | 125 | 580 | ||
| 10 | 75 | 830 | |||
Таблица 6
| Ном. напряжение, В | Ном. емкость, мкФ | Амп. импульс. тока | Скорость изменения напряжения В/макс, не более |
| 63 | 33-68 | 117...230 | 3,4 |
| 100-150 | 255...400 | 2,5 | |
| 100 | 15 | 87 | 5,8 |
| 22-47 | 96...220 | 4,4 | |
| 68-100 | 220...330 | 3,3 | |
| 250 | 10-33 | 81...260 | 8,1 |
| 47-75 | 207...370 | 4,4 | |
| 400 | 1,5-3,3 | 26...45 | 13,6 |
| 4,7-15 | 48...165 | 10,2 | |
| 22-68 | 120...420 | 5,5 | |
| 500 | 1-2,2 | 18...39 | 18 |
| 3,3-10 | 42...141 | 12,7 | |
| 15-47 | 114...350 | 7,5 | |
| 630 | 0,68-1,5 | 15...30 | 20 |
| 2,2-6,8 | 33...108 | 15 | |
| 10-33 | 84...270 | 8,2 | |
| 1000 | 0,47-2,2 | 27...132 | 57 |
| 3,3-10 | 102...315 | 31 | |
| 15-22 | 360...525 | 24 | |
| 1600 | 0,33-1 | 28...90 | 85 |
| 1,5-4,7 | 78...219 | 47 | |
| 6,8-10 | 237...360 | 35 |
В таблице 6 сведены максимально допустимые значения амплитуды импульсного тока и скорости изменения напряжения для конденсаторов с различными емкостью и номинальным напряжением.
Полиэтилентерефталатные К73-54
Предназначены для работы внутри комплектных изделий (в приводах однофазных и трехфазных асинхронных электродвигателей, в пусковых устройствах газоразрядных ламп и др.) в цепях переменного тока частотой 50 и 60 Гц.
Конденсаторы изолированы липкой лентой, торцы залиты эпоксидным компаундом. Выпускается в пяти конструктивных вариантах (рис .9, а-д); а- с жесткими проволочными лужеными разнонаправленными выводами; б- с гибкими проволочными лужеными изолированными однонаправленными выводами; в- с крепежной резьбовой шпилькой и выводами такими же, как у варианта б; г- с кибкими проволочными лужеными разнонаправленными выводами, д- с жесткими пластинчатыми лужеными однонаправленными выводами. Варианты в и д предусмотрены для конденсаторов с диаметром D=25 мм и более. Для варианта а диаметр выводов 1 мм у конденсаторов с L≤60 мм, 1,5 мм у конденсаторов с L=80 мм и 2 мм у конденсаторов с L=102 мм. Для вариантов б-г сечение выводов 0,5 мм2 у конденсаторов с L≤60 мм и 0,75 мм2 у конденсаторов с L>60. Возможна иная конструкция выводов.
Могут быть применены взамен МБГЧ, К75-10.

Рис. 9
| Технические характеристики | |
| Номинальная емкость, мкФ | 0,47-50 |
| Номинальное переменное эфективное напряжение частотой 50...60 Гц, Вэфф | 250;400;450;750 |
| Допускаемое отклонение емкости от номинального значения, % | ±5;±10;±20 |
| Тангенс угла диэлектрических потерь, не более, на частотах f=1кГц | 0,012 |
| Постоянная времени МОм·мкФ, не менее | 2000 |
| Интервал рабочих температур, °С | -60...+70 |
| Наработка, ч, не менее | 10000 |
| Срок сохраняемости, лет | 10 |
Ассортимент выпускаемых конденсаторов представлен в таблице 7.
Таблица 7
| Номин. перемен. напряжение, В | Номин. емкость, мкФ | Размеры наибольшие, мм | Масса, г | |
| D | L | |||
| 250 | 1 | 12 | 44 | 12 |
| 1,6 | 15 | 14 | ||
| 2 | 17 | 18 | ||
| 2,5 | 19 | 23 | ||
| 3 | 20 | 24 | ||
| 3,5 | 21 | 26 | ||
| 3,75 | 20 | 60 | 36 | |
| 4 | 21 | 40 | ||
| 5 | 22 | 42 | ||
| 6 | 24 | 48 | ||
| 7 | 26 | 60 | ||
| 8 | 28 | 74 | ||
| 9 | 30 | 90 | ||
| 10 | 32 | 100 | ||
| 12 | 34 | 115 | ||
| 14 | 36 | 120 | ||
| 16 | 28 | 102 | 130 | |
| 32 | 80 | 120 | ||
| 18 | 30 | 102 | 160 | |
| 34 | 80 | 150 | ||
| 20 | 32 | 102 | 180 | |
| 36 | 80 | 170 | ||
| 25 | 102 | 200 | ||
| 40 | 80 | |||
| 30 | 38 | 102 | 230 | |
| 45 | 80 | 210 | ||
| 40 | 102 | 280 | ||
| 50 | 50 | 340 | ||
| 400 | 5 | 28 | 80 | 100 |
| 6 | 32 | 120 | ||
| 7 | 34 | 160 | ||
| 8 | 36 | 180 | ||
| 9 | 38 | 190 | ||
| 10 | 40 | 200 | ||
| 12 | 42 | 220 | ||
| 14 | 46 | 250 | ||
| 16 | 42 | 102 | ||
| 18 | 45 | 280 | ||
| 20 | 48 | 290 | ||
| 25 | 53 | 400 | ||
| 30 | 58 | 460 | ||
| 450 | 0,47 | 18 | 30 | 20 |
| 0,68 | 22 | 30 | ||
| 1 | 17 | 60 | ||
| 1,6 | 20 | 36 | ||
| 2 | 22 | 42 | ||
| 2,5 | 24 | 48 | ||
| 3 | 26 | 60 | ||
| 3,5 | 28 | 65 | ||
| 3,75 | 65 | 70 | ||
| 4 | 30 | 60 | ||
| 5 | 36 | 80 | 180 | |
| 6 | 40 | 200 | ||
| 7 | 44 | 230 | ||
| 8 | 46 | 250 | ||
| 9 | 42 | 102 | ||
| 10 | 45 | 280 | ||
| 12 | 48 | 290 | ||
| 14 | 53 | 400 | ||
| 16 | 56 | 420 | ||
| 18 | 60 | 500 | ||
| 20 | 63 | 600 | ||
| 750 | 0,5 | 22 | 60 | 42 |
| 1 | 30 | 90 | ||
| 1,5 | 34 | 102 | 180 | |
| 2 | 38 | 210 | ||
Металлизирванные полиэтилентерефталатные проходные помехоподавляющие К73-56
Металлизирванные полиэтилентерефталатные проходные помехоподавляющие конденсаторы К73-56 класса Х предназначены для подавления индустриальных радиопомех в частотной полосе 0,15...1000 МГц. Корпус цилиндрический пластиковый, вклеен эпоксидным компаундом в цилиндрическую металлическую обойму с фланцем, снабженным двумя или тремя лепестками с крепежным отверстием каждый (рис. 10). Торцы залиты эпоксидным компаундном. Толщина фланца -0,5-1 мм. Выводы - проволочные жесткие луженые.
Могут быть использованы взамен К73-28, КБП.

Рис. 10
| Технические характеристики | |
| Номинальная емкость, мкФ | 0,022-2,2 |
| Номинальное постоянное напряжение, В/номинальное (эфективное) переменное напряжение (частотой 50 Гц), Вэфф | 160/50;250/127;500/250;1000/380;1600/380 |
| Номинальный сквозной ток через выводы 1-1, А | 25;40;63 |
| Допускаемое отклонение емкости от номинального значения, % | ±20 |
| Сопротивление изоляции, ГОм, не менее, конденсаторов емкостью 0,33 мкФ и менее | 6 |
| Постоянная времени, МОм·мкФ, не менее, конденсаторов емкостью более 0,33 мкФ | 2000 |
| Испытальное напряжение, В | 1,5Uном |
| Тангенс угла диэлектрических потерь, не более, на частотах f=1кГц | 0,012 |
| Постоянная времени МОм·мкФ, не менее | 2000 |
| Интервал рабочих температур, °С | -60...+85 |
| Наработка, ч, не менее | 10000 |
| Срок сохраняемости, лет | 12 |
Монтажные размеры конденсаторов К73-56 сведены в таблицу 8, а ассортимент выпускаемых конденсаторов в таблице 9. Отдельные показатели изделий могут быть скорректированы. Таблица 10 иллюстрирует характер вносимого конденсаторами затухания (измеренного по нессиметричной схеме без сквозного рабочего тока при номинальном входном сопротивлении 50 Ом) в частотном интервале 0,15...1000 МГц.
Таблица 8
| Число отверстий во фланце | Размеры, мм | ||||
| Dmax | l | d1 | D1 | D2 | |
| 2 | 14 | 20 | 3,5 | 32 | 23 |
| 18 | 39 | 28 | |||
| 26 | 26 | 5,5 | 65 | 48-53 | |
| 3 | 18 | 20 | 4,5 | 36 | 20 |
| 26 | 26 | 43 | 28 | ||
Таблица 9
| Ном. напряж. пост./перем., В | Ном. емкость, мкФ | Наибольшие размеры, мм и масса конденсаторов на номинальный сквозной ток, А | |||||||||||
| 25 | 40 | 63 | |||||||||||
| D | L | d | Масса, г | D | L | d | Масса, г | D | L | d | Масса, г | ||
| 160/50 | 0,1 | - | - | - | - | - | - | - | - | 18 | 28 | М6 | 55 |
| 0,22 | 14 | 28 | 2 | 21 | 14 | 28 | М4 | 35 | |||||
| 0,47 | 34 | 25 | 34 | 40 | 34 | 60 | |||||||
| 1 | 18 | 36 | 18 | 50 | |||||||||
| 2,2 | - | - | - | - | 26 | 100 | 26 | 110 | |||||
| 250/127 | 0,22 | 14 | 34 | 2 | 25 | - | - | - | - | - | - | - | - |
| 0,47 | |||||||||||||
| 500/250 | 0,022 | 14 | 28 | 2 | 21 | 14 | 28 | М4 | 40 | 18 | 28 | М6 | 55 |
| 0,047 | 10 | 21 | |||||||||||
| 0,1 | 34 | 25 | 18 | 34 | 45 | 34 | |||||||
| 0,22 | 18 | 48 | 42 | 48 | 70 | 48 | 80 | ||||||
| 0,47 | - | - | - | - | 26 | 120 | 26 | 120 | |||||
| 1 | 63 | 130 | 63 | 130 | |||||||||
| 1000/380 | 0,1 | 18 | 34 | 2 | 36 | 18 | 34 | М4 | 50 | 26 | 34 | М6 | 110 |
| 0,22 | 26 | 90 | 26 | 100 | 48 | 120 | |||||||
| 0,47 | - | - | - | - | 63 | 130 | 63 | 130 | |||||
| 1600/380 | 0,022 | - | - | - | - | 14 | 34 | М4 | 40 | 18 | 34 | М6 | 60 |
| 0,047 | 18 | 34 | 2 | 36 | 18 | 50 | 48 | 80 | |||||
| 0,1 | - | - | - | - | 26 | 100 | 26 | 120 | |||||
| 0,22 | 63 | 130 | 63 | 130 | |||||||||
Таблица 10
| Частота, МГц | Номинальная емкость, мкФ | Вносимое затухание, дБ |
| 0,15...0,5 | 1;2,2 | 20 |
| 0,5...1000 | 30 | |
| 0,5...5 | 0,22;0,47 | 20 |
| 5...300 | 30 | |
| 300...1000 | 20 | |
| 10...20 | 0,022;0,047;0,1 | 20 |
| 20...1000 | 30 |
Металлизирванные полиэтилентерефталатные проходные помехоподавляющие К73-57
Металлизирванные полиэтилентерефталатные проходные помехоподавляющие конденсаторы К73-57 класса Х предназначены для подавления индустриальных радиопомех в частотной полосе 0,15...100 МГц. Корпус пластиковый, торцы залиты эпоксидным компаундом. У конденсаторов диаметром менее 22 мм вывод проволочный жесткий луженый, а у конденсаторов диаметром 22 мм и более представляет собой резьбовую соосную шпильку М5 (рис. 11). Возможна и другая конструкция вывода. Крепежный элемент - он служит одновременно и вторым выводом - может быть выполнен либо в виде металлического фланца с двумя отверстиями(варианты а и б) или резьбовой соосной шпильки М6 (варианты в и г).
Могут быть использованы взамен К75П-4, К3.
![]() | ![]() |
| Рис. 11 | |
| Технические характеристики | |
| Номинальная емкость, мкФ | 0,047-4,7 |
| Номинальное постоянное напряжение, В/номинальное (эфективное) переменное напряжение (частотой 50 Гц), Вэфф | 250/127;500/250;800/380;1000/500 |
| Допускаемое отклонение емкости от номинального значения, % | ±20 |
| Постоянная времени, МОм·мкФ, не менее, конденсаторов емкостью более 0,33 мкФ | 1000 |
| Испытальное напряжение, В | 1,5Uном |
| Тангенс угла диэлектрических потерь, не более, на частотах f=1кГц | 0,012 |
| Интервал рабочих температур, °С | -60...+85 |
| Наработка, ч, не менее | 10000 |
| Срок сохраняемости, лет | 12 |
Таблица 11
| Ном. напр.пост/перем., В | Ном. емкость, мкФ | Наибольшие размеры, мм | Конструктивный вариант | Масса, г | |||||
| D | L | А | Б | В | d | ||||
| 250/127 | 0,47 | 15 | 20 | 35 | 20 | 25 | 1±0,1 | а | 10 |
| 1 | 18 | 40 | 22 | 30 | 15 | ||||
| 500/250 | 0,22 | 18 | 20 | 40 | 22 | 30 | 1±0,1 | а | 15 |
| 0,47 | 25 | 18 | |||||||
| 1 | 26 | 27 | 48 | 32 | 38 | 1±0,1М5 | а-г | 36 | |
| 2,2 | 28 | 38 | 50 | 34 | 40 | 50 | |||
| 4,7 | 38 | 60 | 44 | 50 | 80 | ||||
| 800/380 | 0,1 | 15 | 20 | 35 | 20 | 25 | 1±0,1 | а | 10 |
| 0,22 | 26 | 27 | 48 | 32 | 38 | 1±0,1/М5 | а-в | 36 | |
| 0,47 | 35 | 38 | |||||||
| 1000/500 | 0,047 | 18 | 20 | 40 | 22 | 30 | 1±0,1 | а | 15 |
| 0,1 | 20 | 25 | 18 | ||||||
| 0,22 | 24 | 32 | 44 | 28 | 34 | 1±0,1/М5 | а-г | 36 | |
| 0,47 | 28 | 38 | 50 | 34 | 40 | 50 | |||
| 1 | 38 | 60 | 44 | 50 | 80 | ||||
Ассортимент выпускаемых конденсаторов К73-57 представлен в таблице 9. Отдельные показатели изделий могут быть скорректированы. Зависимость вносимого затухания А от частоты f (измеренная по нессиметричной схеме при номинальном входном сопротивлении 50 Ом) показана на рис. 12. Кривые здесь соответствуют конденсаторам емкостью:1-4,7 мкФ; 2-2,2 мкФ; 3-1мкФ; 4-0,47мкФ; 5-0,22мкФ; 6-0,1мкФ; 7-0,047мкФ.

Рис. 12
Металлизирванные полиэтилентерефталатные помехоподавляющие К73-59
Металлизирванные полиэтилентерефталатные помехоподавляющие К73-59 предназначены для подавления радиопомех в частотной полосе 0,01...100 МГц в цепях постоянного, переменного и пульсирующего тока, а также для систем зажигания автотракторного оборудования. Корпус прямоугольный пластмассовый (рис. 13). Один из выводов одновременно играет роль крепежного "заземляемого" элемента и выполнен в виде жесткого лепестка прямоугольной формы с отверстием под винт М5. Второй вывод - гибкий проводник с наконечником под винт М6.
| Технические характеристики | |
| Номинальная емкость, мкФ | 2,2 |
| Номинальное напряжение, В | 160 |
| Допускаемое отклонение емкости от номинального значения, % | ±20 |
| Постоянная времени, МОм·мкФ, не менее, | 2000 |
| Испытальное напряжение, В | 1,5Uном |
| Тангенс угла диэлектрических потерь, не более, на частотах f=1кГц | 0,012 |
| Интервал рабочих температур, °С | -60...+100 |
| Наработка, ч, не менее | 10000 |
| Срок сохраняемости, лет | 8 |

Рис. 13
Отдельные показатели конденсатора могут быть скорректированы.
Фольговые полиэтилентерефталатные К73-61
Фольговые полиэтилентерефталатные К73-61 предназначены для работы в пусковой аппаратуре люминисцентных ламп дневного света. Изолированы полимерной липкой лентой, торцы залиты эпоксидным компаундом. Выводы- проволочные жесткие луженые однонаправленные (рис. 14).

Рис. 14
| Технические характеристики | |
| Номинальная емкость,пФ | 1200 |
| Номинальное постоянное напряжение, В/номинальное (эфективное) переменное напряжение (частотой 50 Гц), Вэфф | 1000/250 |
| Допускаемое отклонение емкости от номинального значения, % | ±20 |
| Сопротивление изоляции, ГОм, не менее | 10 |
| Испытальное постоянное напряжение, kВ | 3,5 |
| Тангенс угла диэлектрических потерь, не более, на частотах f=1кГц | 0,06 |
| Интервал рабочих температур, °С | -60...+85 |
| Наработка, ч, не менее | 10000 |
| Срок сохраняемости, лет | 12 |
По согласованию с заказчиком возможно изготовление конденсаторов К73-61 с другими значениями номинальной емкости (до 0,022 мкФ).
Металлопленочные полиэтилентерефталатные К73-62
Металлопленочные полиэтилентерефталатные конденсаторы К73-62 предназначены для индивидуального корректирования коэффициента мощности электрических трансформаторов и дросселей люминисцентных ламп в электросетях с частотой 50 и 60 Гц, а также работы в пусковых узлах однофазных и трехфазных электродвигателей.
Изолированы липкой лентой, торцы залиты эпоксидным компаундом; выводы - изолированые,гибкие, многопроволочные, луженые, разнонаправленные и однонаправленные (рис. 15). Сечение выводов - 0,5 мм2 для конденсаторов диаметром D≤60 мм и 0,75 мм2 - диаметром 80 мм. Конденсаторы варианта а могут содержать встроенный разрядный резистор сопротивлением 1 МОм.
| Технические характеристики | |
| Номинальная емкость,мкФ | 1-30 |
| Номинальное переменное напряжение частотой 50...60 Гц, Вэфф | ±4;±5;±10 |
| Допускаемое отклонение емкости от номинального значения, % | ±20 |
| Постоянная времени, МОмµмкФ, не менее | 2000 |
| Тангенс угла диэлектрических потерь, не более, на частотах f=1кГц | 0,012 |
| Интервал рабочих температур, °С | -60...+70 |
| Наработка, ч, не менее | 10000 |
| Срок сохраняемости, лет | 12 |

Рис. 15
Таблица 12
| Номин. напряжение, В | Номин. емкость, мкФ | Размеры наибольшие, мм | Масса, г | |
| D | L | |||
| 250 | 1 | 12 | 44 | 12 |
| 1,6 | 15 | 14 | ||
| 2 | 17 | 18 | ||
| 2,5 | 19 | 23 | ||
| 3 | 20 | 24 | ||
| 3,5 | 21 | 26 | ||
| 4 | 60 | 40 | ||
| 5 | 22 | 42 | ||
| 6 | 24 | 48 | ||
| 7 | 26 | 60 | ||
| 8 | 28 | 74 | ||
| 9 | 30 | 90 | ||
| 10 | 32 | 100 | ||
| 12 | 34 | 115 | ||
| 14 | 36 | 120 | ||
| 16 | 32 | 80 | 130 | |
| 18 | 34 | 160 | ||
| 20 | 36 | 180 | ||
| 25 | 40 | 200 | ||
| 30 | 45 | 230 | ||
| 450 | 1 | 17 | 60 | 30 |
| 1,6 | 20 | 36 | ||
| 2 | 22 | 42 | ||
| 2,5 | 24 | 48 | ||
| 3 | 26 | 60 | ||
| 3,5 | 28 | 65 | ||
| 3,75 | 29 | 70 | ||
| 4 | 30 | 90 | ||
| 4,4 | 32 | 100 | ||
| 5 | 34 | 115 | ||
| 5,9 | 36 | 120 | ||
| 6 | ||||
| 7 | 34 | 80 | 160 | |
| 7,2 | ||||
| 7,8 | 36 | 180 | ||
| 8 | ||||
| 8,7 | 38 | 190 | ||
| 9 | ||||
| 10 | 40 | 200 | ||
Ассортимент выпускаемых конденсаторов К73-62 представлен в таблице 12.




