Книга "Любительские антенны коротких и ультракоротких волн" З. Беньковского и Э. Липинского [1] у многих радиолюбителей является настольным справочником. В разделе дипольных УКВ-антенн её авторы выделяют три основные группы: укороченные антенны типа Уда-Яги, удлинённые антенны типа Уда-Яги и антенные системы, элементы которых выполнены из дипольных антенн.
Ссылаясь на практику, авторы придерживаются правила, что если требуются антенны с усилением 6...8 дБ, целесообразно использовать укороченные антенны, длина которых (l) меньше длины волны (λ). Такие антенны могут содержать от двух до пяти элементов. Правильно выполненные двухэлементные антенны имеют усиление 3...4 дБ, трёхэлементные - 4...6 дБ, пятиэлементные - 6...8 дБ.
На практике нередко максимальные результаты дают именно компромиссные разработки, какой и является тип директорных антенн "волновой канал" (уже упомянутые антенны Уда-Яги). Эти антенны не имеют специальных собирательных линий, а представляют собой набор элементов: активного и пассивных вибраторов - рефлектора и одного или нескольких директоров, которые установлены на одном общем основании, проходящем через точки нулевых потенциалов составных элементов. Антенны этого типа достаточно компактны и обеспечивают получение относительно большого коэффициента усиления и других приемлемых параметров при сравнительно небольших габаритах.
Описания большинства вариантов таких антенн с различным числом комбинаций элементов и их расположения опубликованы в литературе. Из всех типов антенн они оказались наиболее доступными для всестороннего внедрения на промышленном уровне и высокоэффективными "самоделками" у радиолюбителей.
В свою очередь, в качестве одиночных элементов применяется не только вибратор Герца, а также элементы российских изобретателей - диполь Надененко и шлейф-вибратор Пистоль-корса или рамочные антенны и их интерпретации.
Авторы статьи предлагают вниманию радиолюбителей более эффективное, но пока должным образом не представленное нестандартное техническое решение антенного устройства с отступлением от практики использования однородных активных элементов. Компромиссными могут быть не только сложно синтезированные антенные системы из классических вибраторов, но и составляющие их вибраторы.
Именно таким является предлагаемое устройство - треугольно-петлевая антенна (ТПА). Она предназначена для использования как в качестве самостоятельной антенны, так и в составе сложных антенных устройств. Она выполнена в виде комбинации петлевых разнородных вибраторов. При этом, в зависимости от диапазона используемых частот, антенна может быть как проволочной, так и жёсткой конструкцией или изготовлена на печатной плате. Предлагаемое техническое решение универсально и может применяться не только радиолюбителями, но и в устройствах профессиональной антенной техники для работы вплоть до сантиметрового диапазона как в радиосвязи, так и в широко распространяющихся офисных и бытовых беспроводных сетях и других радиосистемах, где требуются антенны, обладающие однонаправленным излучением.
Отправным для сравнительных исследований по возможностям синтеза новой антенны может быть известный симметричный в виде двух параллельно расположенных линейных проводников, лежащих в одной плоскости и имеющих объединённые концы, - шлейф-вибратор Пистолькорса [2].
Параллельные проводники образуют симметричные полупетли - плечи вибратора относительно оси симметрии, проходящей через середины линейных проводников. Общая их длина соизмерима с длиной волны (λраб), а длина плеч - около её четверти (0,25λраб). Узлом питания шлейф-вибратора являются концы проводников в разрезе средней части одного из линейных проводников, а точка нулевого потенциала в середине второго проводника обеспечивает крепление устройства без применения изолятора. Шлейф-вибратор при всех положительных характеристиках имеет коэффициент усиления, равный единице, и изотропную диаграмму направленности в плоскости, перпендикулярной параллельным проводникам.
Известна трансформация петлевого вибратора в квадратную или другие формы рамок с периметром, равным длине волны (λраб), с более низким входным сопротивлением и с более высоким по сравнению с шлейф-вибратором коэффициентом усиления. Это подтверждается данными таблицы "Параметры рамок различной формы", где в случае круглой формы коэффициент усиления становится равным 3,49 дБ [3]. Рамочные антенны подобных конструкций, в отличие от шлейф-вибратора, обеспечивают двухстороннюю направленность осевого излучения, перпендикулярную плоскости рамки. Они имеют повышенный коэффициент усиления из-за большей апертуры - "области захвата" пространства конструкцией полотна антенны.
В то же время известны более сложные устройства антенн в комбинации из нескольких однородных рамочных активных вибраторов. Повышенной эффективностью обладают конструкции зигзагообразных антенн (Z-антенн) Харченко, например, из двух треугольных или ромбовидных рамок. Проводники плеч этих антенн имеют длину, соизмеримую с 0,25λраб, а их суммарная длина соизмерима с λраб. При этом в случае обычных синфазных вибраторных решёток, у которых число пар точек питания равно числу вибраторов, входящих в решётку, возникают трудности в их согласовании с питающим фидером. Z-антенна имеет одну пару точек питания, к которой непосредственно подключается фидер [4]. В отличие от обычных классических вибраторных антенных решёток, особый пространственный разнос проводников полотна зигзагообразной антенны с питанием от одного объединённого узла питания, к которому непосредственно подключается фидер, образует своеобразную плоскую синфазную решётку и особенное возбуждение токов в её проводниках.
Свойственное зигзагообразной антенне возбуждение токов в проводниках обеспечивает работу антенны с одним выраженным видом поляризации и расширенную полосу рабочих частот. Увеличенная апертура плоскостной антенны обеспечивает большой коэффициент усиления с двухсторонней направленностью излучения по её оси, перпендикулярной плоскости рамок, а параллельное подключение вибраторов, периметр которых равен λраб, к узлу питания снижает входное сопротивление антенны до значений, соизмеримых с волновыми сопротивлениями используемых ВЧ коаксиальных кабелей питания.
Приведённая на рис. 1 нестандартная комбинация петлевого и рамочного вибраторов обеспечивает реализацию новой треугольно-петлевой антенны, но уже одностороннего излучения. При этом и другие характеристики предлагаемого инновационного технического решения заслуживают особого внимания.

Рис. 1. Нестандартная комбинация петлевого и рамочного вибраторов
По сравнению с укороченными ди-польными антеннами ТПА имеет меньшие размеры по продольной оси и повышенный коэффициент усиления.
Конструкция обеспечивает работу на излучение всех проводников антенного устройства. Первый петлевой вибратор со стороны направления приёма-передачи ТПА выполнен в форме равнобедренного треугольника с точками питания в вершине, с основанием длиной 0,4λраб и с боковыми сторонами 0,3λраб каждая. Второй петлевой вибратор выполнен в форме шлейф-вибратора Пистолькорса с длиной линейных проводников, соизмеримой с λраб. Петлевые вибраторы размещены в одной плоскости, а подключение к узлу питания проводников боковых сторон треугольного вибратора произведено с их перекрещиванием, т. е. противофазно. Коаксиальный кабель питания при жёсткой конструкции, например, в трубчатом варианте проводников, прокладывают с вводом через точку нулевого потенциала, т. е. середину линейного неразрезанного проводника шлейф-вибратора Пистолькорса. В узле питания оплётку кабеля подключают в разрезе к концу одного проводника, а центральную жилу - к концу другого.
Антенна работает следующим образом. При подключении высокочастотного генератора (см. рис. 1) в точки питания "а" и "b" узла питания 7 по проводникам 2 и 3 петлевого вибратора 1, равно как и по проводникам 5 и 6 петлевого вибратора 4, потекут токи, обратно пропорциональные сопротивлениям цепей. В проводнике 2 потечёт увеличенный ток относительно проводников 5 и 6 из-за меньшего входного сопротивления рамочного вибратора 1, чем шлейф-вибратора 4, но излучение последнего будет увеличенным вследствие двух близко расположенных проводников 5 и 6. При этом из-за того, что в шлейф-вибраторе 4 проводники 5 и 6 расположены в непосредственной близости друг к другу, а в равнобедренном треугольнике 1 проводник 2 подключён между проводниками боковых перекрещенных сторон 3, то токи в проводниках 5 и 6 будут синфазными с разницей по фазе относительно проводника 2. Это обеспечивает при перекрёстном включении фазовое приближение к токам, подобно токам в рефлекторе и активном вибраторе или в активном вибраторе и первом директоре антенн Уда-Яги, но полностью за счёт токов проводимости, в отличие от наведённых, т. е. более слабых токов в пассивных вибраторах антенн Уда-Яги. С учётом того, что проводники шлейф-вибратора 5 и 6 разнесены в пространстве на расстояние, соизмеримое с 0,2λраб, от проводника 2 на высоту равнобедренного треугольника и параллельны, то образованная пространственная система излучающих проводников антенной решётки создаёт направленное излучение электромагнитного поля по оси 8, перпендикулярной расположению этих проводников.
Дополнительно к этому, токи в проводниках 3, расположенных симметрично, но под углом к этой оси, также излучают в пространство электромагнитное поле, но с взаимной компенсацией встречных продольных составляющих и интегрирующихся в общее суммарное излучаемое электромагнитное поле односторонне направленных поперечных составляющих. Таким образом , в отличие от излучающих систем с соединительными линиями, в предложенном техническом решении все проводники 2, 3, 5 и 6 участвуют в излучении электромагнитного поля, обеспечивая суммарное повышение коэффициента направленного действия системы и эффективность её работы.
Работа предложенной антенны была промоделирована в программе MMANA (рис. 2 и рис. 3) на частоте 300 МГц (длина волны - 1 метр) для простоты и наглядности при моделировании и последующем нормировании размеров. ТПА с длиной, соизмеримой с 0,2λраб, обладает секторной направленностью с различной шириной диаграммы направленности в плоскости расположения проводников вибраторов и в плоскости, перпендикулярной ей, c увеличенным коэффициентом усиления. Отношение прямого излучения к обратному характеризует улучшенную пространственную избирательность, соответствующую шестиэлементным антеннам Уда-Яги с вдвое большей длиной траверсы. Точки нулевого потенциала обоих вибраторов могут быть соединены с заземлённой металлической несущей траверсой, обеспечивающей защиту от статического электричества и грозозащиту.

Рис. 2. Работа антенны, промоделированная в программе MMANA, на частоте 300 МГц и длине волны 1 метр

Рис. 3. Работа антенны, промоделированная в программе MMANA, на частоте 300 МГц и длине волны 1 метр
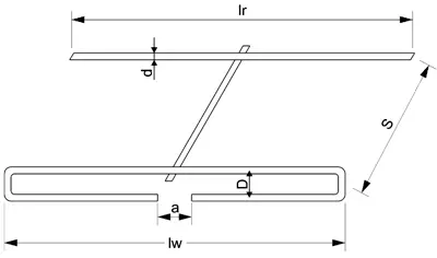
Для использования антенн на радиолюбительских диапазонах 144 и 432 МГц будут наглядными визуальное сравнение конфигураций и соотношение размеров рассмотренной авторами книги [1] укороченной двухэлементной антенны (рис. 4) с версиями предложенной ТПА (рис. 5) и ТПА с внутренне установленным директором (рис. 6). Численные значения параметров этих антенн сведены в таблице, а графически, наиболее наглядно, электрические характеристики отображены в виде диаграмм направленностей (соответственно рис. 7-9).

Рис. 4. Укороченная двухэлементная антенна

Рис. 5. Укороченная УКВ-антенна

Рис. 6. ТПА с внутренне установленным директором

Рис. 7. Диаграмма направленностей анткнны

Рис. 8. Диаграмма направленностей анткнны

Рис. 9. Диаграмма направленностей анткнны
Практическая реализация конструкции в виде самостоятельной антенны аналогична многократно описанной двухэлементной антенне "волновой канал , только с развернутым в плоскость размещения вибраторов шлейф-вибратором. Подключение питания осуществляется также известным способом, коаксиальным кабелем, через точку нулевого потенциала внутри шлейф-вибратора без использования согласующих и симметрирующих устройств.
Таблица
Тип антенны | Укороченная двухэлементная | Треугольно-петлевой вибратор | Треугольно-петлевой вибратор с директором | |||
F, МГц | 145 | 432 | 145 | 432 | 145 | 432 |
lw, мм | 931 | 310 | 936 | 314 | 936 | 314 |
Iг, мм | 1040 | 346 | 826 | 278 | 826 | 278 |
Id, мм | - | - | - | - | 924 | 288 |
S, мм | 620 | 207 | 453 | 152 | 453 | 152 |
Sd, мм | - | - | - | - | 298 | 88 |
D, мм | 40...50 | 10...59 | 92 | 31 | 92 | 31 |
а, мм | 10...20 | 3...6 | 72 | 24 | 72 | 24 |
d, мм | 6...10 | 3...6 | 15 | 10 | 15 | 10 |
d1, мм | - | - | - | - | 1 | 2 |
d2, мм | - | - | 3 | 2 | 3 | 2 |
Ку, dBi | 5,51 | 5,26 | 6,66 | 6,7 | 7,4 | 7,17 |
КСВ | 1,39 | 1,36 | 1,4 | 1,44 | 1,37 | 1,3 |
Изготовление варианта антенны с директором также осуществляется подобно описанной. Дополнительный проводник размещают между петлевым и линейным вибраторами при строгом соблюдении его сечения, места установки и длины. В случаях использования других материалов предварительную проверку возможностей антенны необходимо смоделировать в программе MMANA.
Файлы для программы MMANA антенн, приведённых в таблице, можно скачать здесь.
Литература
1. Беньковский З., Липинский Э. Любительские антенны коротких и ультракоротких волн: Пер. с польск./Под ред. О. П. Фролова. - М.: Радио и связь, 1983. - 480 с., ил.
2. Антенны УКВ. Под. ред. Г. З. Айзенберга. В 2-хч. Ч. 1. - М.: Связь, 1977, с. 169, рис. 13.5.
3. Григоров И. Н. Всё об антеннах. - М.: ДКМ Пресс, 2009, с. 66-69.
4. Харченко К. П. УКВ антенны. - М.: ИП РадиоСофт, 2009, с. 79-95, рис. 51, 63.
Авторы: В. Милкин, Н. Калитёнков, В. Лебедев, А. Шульженко, г. Мурманск
