Описания переговорных устройств неоднократно публиковались в радиолюбительской литературе. Однако я предлагаю свой вариант простого устройства для переговоров между двумя обычными телефонными аппаратами (ТА), которое легко повторить начинающим радиолюбителям. Связь по двухпроводной линии обеспечивается на расстоянии до 1 км, если её сопротивление не превышает 500 Ом. Аппараты могут находиться как в разных помещениях одного дома, так и в разных домах или, например, в доме и у калитки. Устройство надёжно в эксплуатации и допускает круглосуточную работу.
Схема переговорного устройства изображена на рис. 1. При снятии трубки одного из Та в ней будет прослушиваться рокот, а на втором ТА зазвучит вызывной сигнал. При снятии трубки и на втором ТА рокот и вызывной сигнал прекращаются и можно вести разговор.

Рис. 1. Схема переговорного устройства
Аппараты могут быть любого типа - ТА68, ТАН66, ТАН70, DD-2240. Подойдут и ТА без номеронабирателей, использовавшиеся на некоторых предприятиях для внутренней связи. Разговорный тракт симметричный, поэтому помех от наводок нет, и при исправных ТА слышимость хорошая. Угольные микрофоны в них желательно заменить на пьезокерамические МПК-101 -II-У со встроенным усилителем.
Трансформатор T1 - унифицированный ТАН1-220-50. Две его вторичные обмотки на 28 В соединены последовательно для получения переменного напряжения 56 В, ещё одна такая же используется непосредственно. Остальные вторичные обмотки этого трансформатора оставлены свободными. Подойдёт и другой сетевой трансформатор мощностью около 20 Вт с подходящими вторичными обмотками.
Напряжение с обмоток II и III трансформатора T1, выпрямленное диодным мостом VD1-VD4, поступает на стабилизатор напряжения на транзисторе VT1 и стабилитроне VD5. Этот стабилитрон и транзистор установлены на теплоотводах с площадью охлаждающей поверхности 50 см2. Выходное напряжение стабилизатора - 56 В.
При снятии трубки на одном из ТА этот аппарат получает питание через обмотки реле K1 или K2 (они не пропускают в источник питания переменную составляющую разговорного тока), а на стабилитроне VD6 выделяется напряжение около 10 В. Через резистор R2, светодиод HL2 и излучающий диод оптрона U1 течёт ток, в результате чего резко уменьшается сопротивление фоторезистора оптрона и открывается симистор VS1, соединяя обмотку IV трансформатора T1 с обмоткой I трансформатора T2.
Напряжение с обмотки II трансформатора T2 используется как вызывное. Через разделительные конденсаторы C4 и C6 оно поступает на ТА, подключённый к розетке XS1, а через конденсаторы C5 и C7 - на тот, что подключён к розетке XS2.
Когда трубка будет снята и на втором ТА, ток потечёт и через обмотки второго реле и оно сработает. Поскольку первое реле уже сработало (это произошло в момент снятия его трубки), замкнувшиеся контакты обоих реле зашунтируют светодиод HL2 и излучающий диод оптрона U1. Сопротивление фоторезистора оптрона возрастёт и симистор VS1 перестанет открываться. Вызывной сигнал прекратится. Теперь можно вести разговор. По его окончании, когда трубка одного из ТА будет положена, вызывной сигнал вновь будет звучать до тех пор, пока и второй абонент не полона жит трубку.
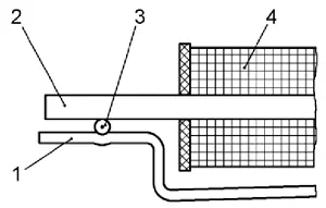
Реле К1 и К2 - РПН (паспорт Р4.535.381Д) с двумя обмотками сопротивлением по 500 Ом, содержащими по 6200 витков провода ПЭЛ диаметром 0,11 мм каждая. Эти реле переделаны - с них удалены контакты и, как показано на рис. 2, в зазор между якорем 1 и магнитопроводом 2 катушки 4 вставлен геркон 3, обёрнутый ПВХ изоляционной лентой. Предварительно якорь снимают, в нём делают углубление для геркона и устанавливают обратно. Положение геркона подбираюттак, чтобы он надёжно срабатывал при снятии трубки ТА.

Рис. 2. Переделанное реле
Трансформатор Т2 выполнен на магнитопроводе Ш20х25. Обмотка I состоит из 600 витков провода ПЭВ-2 0,35, а обмотка II - 1500 витков провода ПЭВ-2 0,17.
Переговорное устройство собрано в пластмассовом корпусе размерами 220х80х150 мм, его масса не превышает 2 кг.
Иногда один из ТА устанавливают в таком месте, что вызов всегда поступает именно с него (например, у калитки). Полноценный аппарат здесь можно заменить микротелефонной трубкой, в которой установлены и соединены последовательно микрофонный капсюль МПК-101-М-У, телефонный капсюль ТК-67-УТ-И и выключатель. Капсюль МПК-101-II-y довольно чувствителен и "ловит" разговор на расстоянии 1...1,5 м.
Автор: С. Бабын, пгт Кельменцы, Украина
