Пробник позволяет контролировать правильное функционирование симистора или тиристора. Работоспособность проверяемого элемента можно оценить, задавая отпирающий ток управляющего электрода. Так, для симистора можно показать отличие его поведения в зависимости от способа отпирания: I, II, III и IV. С помощью такого прибора легко определяется сопротивление в цепи управляющего электрода, достаточное для правильного запуска.
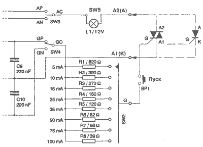
Основа пробника - переключатель с резисторами R1 - R8, которые задают ток управляющего электрода тиристора или симистора. Положительное или отрицательное управляющее напряжение позволяет отпирать тестируемый элемент двумя способами. Выбор полярности управляющего тока осуществляется с помощью переключателя SW4. Другой переключатель (SW3) позволяет выбрать полярность питания между рабочими электродами проверяемого элемента или полностью его отключить.
Описание схемы
Принципиальная электрическая схема устройства представлена на рис. 1. Питающий трансформатор TR1 снижает сетевое напряжение 220 В и обеспечивает гальваническую развязку между сетью и цепями пробника. Вторичная обмотка TR1 выполнена со средней точкой, откуда снимается напряжение с эффективным значением примерно 2x9 В. Двухполупериодный выпрямитель собран на диодном мосте D1. Сглаживание положительного и отрицательного напряжений обеспечивается конденсаторами С1 - С4. Напряжение на контакте АР относительно общего провода (А1) составляет примерно +11 В, в то время как напряжение на контакте AN составляет около -11 В. Переключателем SW3 изменяется полярность напряжения питания лампы.
Стабилизированное напряжение питания ±5 В вырабатывается с помощью стабилизаторов положительного напряжения (7805) и отрицательного напряжения (7905) и обеспечивает нормированный ток управления.
Диоды D2 и D3 не допускают резкого падения входного напряжения стабилизаторов при отпирании тестируемого тиристора или симистора.
Величину управляющего тока определяют резисторы R1 - R8, включаемые в цепь управляющего электрода с помощью переключателя SW2. Напряжение на управляющем электроде тиристора или симистора составляет примерно 1 В, поэтому величина управляющего тока рассчитывается по следующей формуле:
Iу=4/R
Сопротивление R соответствует сопротивлению в цепи управляющего электрода тиристора или симистора. Пробник позволит определить максимальное значение этого сопротивления для различных способов запуска с напряжением управления 5 В.
Различные способы отпирания симистора реализуются посредством четырех возможных комбинаций положений переключателей SW3 и SW4.
Для тиристора используется единственный режим + +, который соответствует положению АР переключателя SW3 и положению GP переключателя SW4.

Рис. 1. Электрическая схема пробника (1 из 2).

Рис. 1. Электрическая схема пробника (2 из 2}.
Изготовление
Разводка печатной платы пробника и размещение радиодеталей показаны на рис. 2 и 3 соответственно. Внешний вид собранного пробника изображен на рис. 4.
Для первых испытаний внешние переключатели SW3 и SW4 можно не подключать. Необходимые соединения осуществляются посредством проводов с зажимами.
Сначала необходимо проконтролировать напряжение между контактами АР и А1 (примерно +11 В) и между контактами AN и А1 (-11 В), затем измерить два симметричных напряжения питания +5 В между GP и А1 и -5 В между GN и А1.
После предварительной проверки можно подсоединить переключатель SW3 к контактам АР и АС, а переключатель SW4 - к контактам GP и GN.
![]() Рис. 2. Разводка печатной платы пробника | ![]() Рис. 3. Схема размещения радиодеталей на плате пробника |
Следующий шаг - подключение сими-стора или тиристора, как показано на схеме. При исправном элементе лампочка не должна гореть.
Нажатие кнопки ВР1 должно включить тиристор или симистор.
Если лампочка не зажглась, то, увеличивая величину управляющего тока переключателем SW2 и снова нажимая на пусковую кнопку, можно добиться включения лампочки.
При разрыве цепи АР - АС лампочка должна погаснуть.
Если все этапы этого испытания выполнены успешно, то тестируемый радиоэлемент считается исправным.
С тестируемым симистором можно провести предыдущее испытание, применяя три другие способа отпирания, то есть чередуя GP с GN и АР с AN при помощи переключателей SW3 и SW4.
Тогда лампочка должна гаснуть при смене положения переключателя SW3.
Перечень элементов, необходимых для сборки пробника, приведен в табл. 1.

Рис. 4. Внешний вид пробника
Таблица 1. Перечень элементов для сборки пробника
| Обозначение | Наименование | Примечание |
| Резисторы | ||
| R1 | 820 0м | |
| R2 | 390 0м | |
| R3 | 270 0м | |
| R4 | 150 0м | |
| R5 | 120 0м | |
| R6 | 82 0м | |
| R7 | 56 0м | |
| R8 | 39 0м | |
| Конденсаторы | ||
| С1,С2 | 470мкФ/25В | |
| СЗ,С4 | 470 нФ | |
| С5,С6 | 100мкФ/25В | |
| С7,С8 | 22мкФ/10В | |
| С9,С10 | 220 нФ | |
| Диоды | ||
| D1 | W061 А/40 В | Диодный мост |
| D2, D3 | 1N4001 ...4007 | |
| Стабилизаторы | ||
| СI1 | 7805 | Положительный |
| CI2 | 7905 | Отрицательный |
| Прочее | ||
| L1 | Лампа с цоколем Е10 | 12 В/ 100-200 мА |
| TR1 | Трансформатор | 220 В / 2x9 В - 5 ВА |
| SW1 | Двухконтактный зажим для печатного монтажа | |
| SW2 | Поворотный 12-позиционный переключатель | |
| SW5 | Пластмассовый патрон ЕЮ для печатного монтажа | |
| F1 | Плавкий предохранитель | 5x20 на 50 мА |
| ВР1 | Пусковая кнопка 1Т | |
| Держатель для плавкого предохранителя для печатного монтажа | 5x20 | |
| Крышечка для плавкого предохранителя | ||
| SW3, SW4 | Тумблер | 2шт. |
| Монтажный лепесток | 9шт. | |
Источник
- Кадино Э. Цветомузыкальные установки.-М.: ДМК Пресс, 2000.


