Принципиальные схемы и осциллограммы сигналов в контрольных точках можно скачать здесь.
Основные технические характеристики
Системы телевизионного сигнала: B/H/G, D/K, I, L.
Системы цветности:
- PAL;
- SECAM;
- NTSC 3,58 МГц; NTSC 4,43 МГц (только видеовход).
Принимаемые каналы:
- VHF: Е2-Е12, R1-R12;
- UHF: Е21-Е69, R21-R69;
- Кабельные: SO1-SO5, S1-S2O;
- HYPER: S1-S41.
Потребляемая мощность от сети, Вт:
- модели KV-20WS1A/B/D/E/ K/R-70;
- модель KV-20WS1U - 92.
Максимальная выходная звуковая мощность — 2x8 Вт; сабвуфера - 20 Вт.
Другие особенности: наличие телетекста, фасттекста, декодера звука системы NICAM.
Конструктивно шасси состоит из следующих плат:
- А - основная плата;
- С— плата кинескопа;
- U — плата генераторов импульсов гашения;
- К — плата усилителя сабвуфера;
- Н — плата ввода/вывода аудио- и видеосигналов.
Описание работы узлов телевизора
Блок питания
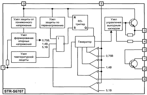
Блок питания (БП) реализован на базе квазирезонансного преобразователя IC600 (STR-S6707 производства фирмы SANKEN). Микросхема включает в себя задающий генератор, схему запуска, схемы защиты от перегрузки, перенапряжения, перегрева, а также выходной каскад на мощном биполярном транзисторе. Выходное напряжение БП регулируется за счет изменения частоты работы преобразователя. Квазирезонансный преобразователь обладает значительно более высоким КПД по сравнению с широтно-импусными модуляторами, благодаря чему обеспечивается минимальное энергопотребление в дежурном режиме и низкое тепловыделение в рабочем. Структурная схема микросхемы STR-S6707 приведена на рис. 1.

Рис. 1
Структурная схема микросхемы STR-S6707
Выпрямленное напряжение +300 В с диодного моста D610 через первичную обмотку 5-7 трансформатора Т602 подается на коллектор ключевого транзистора (выв. 1) микросхемы. Эмиттер транзистора (выв. 2) через резистор R605 подключен к корпусу. Резистор R605 выполняет функцию датчика тока и обеспечивает переключение микросхемы в режим защиты при перегрузке выходного транзистора. Сигнал с датчика тока поступает на выв. 6 IC600.
Питание микросхемы (выв. 9) в рабочем режиме осуществляется от стабилизатора напряжения на транзисторе Q601 и стабилитроне Q603. В режиме запуска питание микросхемы осуществляется с помощью резисторов R604 и R651, подключенных к выпрямителю D610. Для стабилизации выходных напряжения используется цепь обратной связи через оптрон IC601 и усилитель ошибки IC602. Для контроля используется выходное напряжение +117/134 В. Это напряжение поступает на выв. 1 усилителя ошибки. С выв. 2 IC602 сигнал ошибки подается на выв. 2 оптрона IC602. Далее сигнал обратной связи поступает на выв. 7 микросхемы IC600.
На транзисторах Q604, Q603 и Q602 реализована схема переключения блока питания в дежурный режим. При поступлении низкого уровня сигнала STDBY с выв. 3 микропроцессора IC001 на базу транзистора Q604 открывается транзистор Q603, который через диод D615 шунтирует цепь обратной связи IC601, что приводит к переключению БП в дежурный режим.
БП формирует следующие выходные напряжения:
- +117/134 В (14/21") -для питания строчной развертки;
- +8 В — для питания цепей звука (напряжение формируется стабилизатором IC603);
- +5 В — для питания видеопроцессора, звукового процессора (формируется стабилизатором IC605);
- +5 В STDBY — для питания микропроцессора, клавиатуры управления и фотоприемника (формируется стабилизатором IC604);
- +18 В — для усилителя мощности звука, усилителя сабвуфера.
Строчная развертка
Синхроимпульсы строчной развертки с выв. 12 видеопроцессора IC301 через буферный каскад на транзисторе Q300 поступают на базу транзистора Q801 и далее, через согласующий трансформатор Т801 — на выходной каскад на транзисторе Q802. Нагрузкой выходного каскада являются первичная обмотка 1-2 строчного трансформатора Т802 и строчные катушки отклоняющей системы. Со вторичных обмоток трансформатора снимаются напряжения для питания кинескопа — анодное, ускоряющее и фокусирующее, напряжение накала (выв. 6) а также напряжения, необходимые для работы других узлов телевизора:
- +24 В (выв. 9) — для кадровой развертки;
- +190 В (выв. 4) - для питания видеоусилителей на плате кинескопа.
На транзисторах Q804 и Q805 реализована схема коррекции параболических искажений растра (E/W коррекция). Сигнал коррекции P-DRV вырабатывается видеопроцессором IC301 (выв. 8). Для синхронизации используется сигнал обратной связи, снимаемый с выв. 11 строчного трансформатора Т802.
На транзисторах Q617 и Q606 выполнена схема защиты по цепи питания +117 В. Датчиком тока служит резистор R608. При возрастании тока нагрузки отрицательный потенциал с резистора поступает на эмиттер Q617, что приводит к открытию транзисторов Q606, Q803 и блокировке строчных импульсов, поступающих на базу Q801.
Кадровая развертка
Кадровая развертка выполнена на микросхемах IC301 (селектор, генератор синхроимпульсов и пилообразного напряжения) и IC501 (STV9379 — усилитель мощности). Структурная схема микросхемы STV9379 показана на рис. 2. Пилообразное напряжение кадровой развертки поступает с выв. 7 видеопроцессора IC301 на выв. 1 усилителя IC501. На второй вход дифференциального усилителя (выв. 7) подается потенциал +1,8 В.

Рис. 2
Структурная схема микросхемы STV9379
Назначение выводов этой микросхемы приведено в табл. 1.
Таблица 1
| Номер вывода | Назначение |
| 1 | Вход пилообразного напряжения |
| 2 | Питание +24 В |
| 3 | Выход генератора обратного хода |
| 4 | Корпус |
| 5 | Выход пилообразного напряжения |
| 6 | Питание генератора обратного хода |
| 7 | Второй вход дифференциального усилителя |
Ток через кадровые катушки поступает по следующей цепи: выв. 5 IC501 - L501 - конт. 6 CN801 - кадровые катушки — конт. 5 CN801 — С505 — R507 — корпус. Генератор обратного хода обеспечивает увеличение размаха выходного сигнала кадровой развертки с помощью конденсатора С504.
На транзисторах Q500 и Q501 выполнена схема коррекции положения растра по вертикали. Сигнал коррекции VCENT поступает с выв. 22 микропроцессора IC001.
Микропроцессор
Микропроцессор IC001 (SDA5255-А031 производства фирмы SIEMENS) выполняет следующие функции по управлению телевизором: прием команд с пульта управления и клавиатуры на передней панели, включение и выключение телевизора, управление узлами телевизора по шине I2C, обеспечение работы в сервисном режиме и т.д. Микропроцессор питается напряжениями STDBY +5 и +8 В. Сигнал начального сброса RESET микропроцессора формируется микросхемой IC005. В составе микропроцессора имеется ПЗУ (ROM) для хранения программ и заводских настроек и оперативное запоминающее устройство (ОЗУ, RAM) объемом 1 байт.
Назначение основных выводов микропроцессора приведено в табл. 2.
Таблица 2
| Номер вывода | Обозначение | Описание |
| 1 | X-RAY | Входной сигнал защиты от рентгеновского излучения. Перегрузка по цепи +117 8 |
| 2 | ITT RST | Сигнал инициализации звукового процессора IC200. Активный уровень ~ низкий |
| 3 | STDBY | Сигнал включения телевизора. Высокий уровень соответствует рабочему режиму, низкий — дежурному |
| 4 | LED | Выход индикации рабочего/дежурного режимов |
| 5 | PROC DtS | Выход на сервисный разъем |
| 6 | MUTE | Сигнал отключения звука |
| 7 | NVM WP | Защита записи энергонезависимой памяти |
| 8 | SCL | Тактовая шина I2C |
| 9 | SDA | Шина адреса/данных I2С |
| 10,24,35 | Vss | Общий |
| 11,28,37 | Vdd | Питание +5 В (STDBY) |
| 12,13 | XTAL | Выводы для подключения кварцевого резонатора |
| 14,16, 43, 51 | NC | Не используются |
| 15 | RESET | Сигнал инициализации (начальногосброса) микропроцессора |
| 17 | HVSEL | Сигнал выбора соответствующих сигналов гашения HV BLK1 или HV BLK2 |
| 18 | HVBLK1 | Сигнал гашения 1 |
| 19 | TV/YC | Выбор источника сигнала — тюнер/вход Y (плата Н). Низкий уровень соответствует приему сигнала с тюнера. Сигнал подается на транзистор Q312 |
| 20 | AV1/AV2 | Выбор источника внешнего видеосигнала: разъем SCART/плата Н. Высокий уровень соответствует разъему SCART. Сигнал подается на коммутатор IC401 |
| 21 | HV BLK2 | Сигнал гашения 2 |
| 22 | VCENT | Сигнал коррекции положения растра по вертикали |
| 23 | RGBP | Коммутация внешних/внутренних RGB-сигналов. Переключение производится с помощью ключа Q118 и транзисторов, шунтирующих сигналы с разъема SCART (Q408, Q407, Q4Q6, Q405) |
| 25 | FIL 3 SLC | Вывод для подключения PLL-фильтра данных TTX/VPS/WSS |
| 26 | FIL 2 SLC | Вывод для подключения PLL-фильтра ТТХ |
| 27 | FIL 1 SLC | Вывод для подключения PLL-фильтра VPS/WSS |
| 29 | Iref | Ток смещения для PLL |
| 30 | CVBS | Вход видеосигнала с коммутатора IC004 |
| 31 | COIN | Вход видеосигнала с тюнера |
| 32 | SWADC | Вход с клавиатуры |
| 33 | SCART | Управляющий сигнал с разъема SCART |
| 34 | AGC | АРУ |
| 36 | S1RCS | Вход с фотоприемника ДУ |
| 38,39 | LC | Используются для синхронизации внешнего дисплея |
| 40 | S1 | Выходной сигнал для клавиатуры |
| 41 | VBLK | Кадровые гасящие импульсы |
| 42 | HBIK | Строчные гасящие импульсы |
| 44,46 | VS | Вход кадровых синхроимпульсов. Сигнал поступаете выв. 3 усилителя IC501 |
| 45 | HS | Вход строчных синхроимпульсов. Сигнал поступает с выв. 1 строчного трансформатора Т802 |
| 47 | R | Выход красного сигнала телетекста и меню |
| 48 | G | Выход зеленого сигнала телетекста и меню |
| 49 | В | Выход синего сигнала телетекста и меню |
| 50 | BLANK | Выход сигнала гашения |
| 52 | TV/AV | Сигнал управления коммутатором видеосигнала IC004. Низкий уровень соответствует выбору сигнала от тюнера, высокий -внешнему видеосигналу с коммутатора IC401 |
Для хранения настроек телевизора применяется электрически перепрограммируемое ПЗУ (EEPROM) IC002 - ST24W04F с объемом памяти - 4 Кбит (2 блока по 256 байт). Для защиты информации от случайных циклов стирания/записи используется выв. 7 микросхемы -WP. Если вывод не подключен, то защита записи отсутствует.
Тюнер
Тюнер управляется микропроцессором IC001 по шине I2C. Назначение выводов тюнера показано в табл. 3.
Таблица 3
| Обозначение вывода | Описание |
| AGC | АРУ |
| SCL | Тактовая шина I2С |
| SDA | Шина адреса/данных I2С |
| +33 V | Вырабатывается из напряжения +117 В с помощью стабилизатора на элементах R030, D002, С008. Используется для формирования напряжения настройки |
| GND | Общий |
| +5V | Питающее напряжение +5 В |
| AM | Выход звукового сигнала |
| QSS | Выход звукового сигнала |
| VIDEO | Выход видеосигнала |
| NC | Не используется |
Видеопроцессор
В телевизоре применен видеопроцессор IC301 типа МС44002 фирмы MOTOROLA. Его структурная схема приведена на рис. 3. Видеопроцессор IC301 обеспечивает обработку и задержку сигнала яркости, выделение и декодирование сигналов цветности систем PAL/SECAM/NTSC, формирование сигналов RGB из декодированных сигналов цветности, регулировку яркости и контрастности, автоматическое поддержание баланса белого, ограничение тока лучей, коммутацию внешних и внутренних источников видеосигналов и RGB-сигналов, формирование сигналов для кадровой и строчной разверток. Видеопроцессор управляется микропроцессором по шине I2C. Назначение выводов видеопроцессора приведено в табл. 4.

Рис. 3
Структурная схема процессора IC301
Таблица 4
| Номер вывода | Обозначение | Назначение |
| 1 | АСС | Автоматическое управление цветностью |
| 2 | V2 in | Вход видеосигнала 2 |
| 3 | I ref | Управляющее напряжение задающего генератора кадровой развертки |
| 4 | SCL | Тактовая шина I2С |
| 5 | SDA | Шина адреса/данных I2С |
| 6 | V-ramp | Вход коррекции крутизны кадровых импульсов |
| 7 | V-drive | Выход кадровых импульсов |
| 8 | E-W drive | Выход параболического сигнала коррекции искажений растра |
| 9 | I anode | Вход ограничения пикового тока лучей кинескопа |
| 10 | Analog contrast | Вход аналоговой регулировки контрастности. Контрастность уменьшается до 12 дБ при превышении среднего значения тока лучей кинескопа |
| 11 | SCM | Внешний конденсатор декодера SECAM |
| 12 | H drive | Выход строчных синхроимпульсов |
| 13 | HFP | Вход сигнала обратной связи строчной развертки |
| 14,15 | HIF | Фильтр петли обратной связи |
| 16 | S gnd | Общий (измерительный) |
| 17,18,19 | RGB | Выходы сигналов RGB |
| 20 | FB | Вход блока автоматического баланса белого. Обеспечивается баланс в белом (ток лучей 100 мкА) и в черном (ток - 10 мкА) |
| 21 | FC | Сигнал быстрой коммутации внешних RGB-сигналов |
| 22, 23, 24 | RGB in | RGB-вход - сигналы телетекста, отображения меню, RGB-сигналы с разъема SCART |
| 25 | Y2 | Вход 2 сигнала яркости. Не используется |
| 26 | B-Y | Вход задержанного цветоразностного сигнала (синий) |
| 27 | R-Y | Вход задержанного цветоразностного сигнала (красный) |
| 28 | Y1 CL | Внешний конденсатор узла фиксации уровня сигнала яркости |
| 29 | Y1 out | Выход сигнала яркости. Не используется |
| 30 | SYS | Выход сигнала выбора системы цвета |
| 31 | SC | Выход трехуровневых стробирующих импульсов |
| 32 | NTSC | Подключение кварцевого резонатора для декодирования сигналов в системе NTSC |
| 33 | PAL, SCM | Подключение кварцевого резонатора для декодирования сигналов в системах PAL, SECAM |
| 34 | GND | Общий |
| 35 | Vcc | Питание +5 В |
| 36 | B-Y | Выход синего цветоразностного сигнала |
| 37 | R-Y | Выход красного цветоразностного сигнала |
| 38 | ID | Внешний конденсатор узла идентификации системы цвета |
| 39 | OLF | Фильтр генератора |
| 40 | V1 in | Вход видеосигнала 1 |
Видеосигнал с вывода VIDEO тюнера поступает на буферный усилитель Q411, Q410, Q409 и далее делится на 4 ветви:
- разъем SCART;
- через усилитель на элементах Q006, Q011 - на выв. 31 микропроцессора;
- через переключатель IC004 — на выв. 30 микропроцессора (переключатель IC004 обеспечивает выбор источника сигнала: тюнер/внешний сигнал AV);
- через переключатель на элементах Q310, Q311 - на вход V1 IN видеопроцессора (выв. 40). Переключатель обеспечивает выбор источника сигнала: тюнер/сигнал Y c платы Н.
Дополнительный коммутатор IC401 производит переключение сигналов AV1 (SCART) и AV2 (плата Н) на коммутатор IC004 и видеопроцессор (выв. 2 и 13).
При обработке видеосигнала в видеопроцессоре используется внешняя линия задержки для цветоразностных сигналов IC302 (МС44140Р). Линия задержки канала яркости встроена в видеопроцессор. С его выхода (выв. 17-19) сигналы основных цветов поступают на плату кинескопа С. Питание усилителей платы кинескопа (+190 В) снимается с выв. 4 строчного трансформатора и выпрямляется с помощью элементов D802 и С807. Транзисторы Q709, Q707 и Q708 обеспечивают измерение тока лучей кинескопа для схемы автоматического баланса белого.
Тракт обработки звука
Телевизор может комплектоваться двумя типами звуковых процессоров: MSP3400 и MSP3410. Их основное отличие состоит в том, что MSP3410 дополнительно может декодировать сигналы NICAM (цифровой стандарт стереозвучания, используется в Восточной Европе, Англии и Франции). Звуковой процессор IC200 выполняет следующие функции:
- демодуляцию принимаемых сигналов;
- регулировку громкости, баланса, тембра низких и высоких частот;
- автоматическую коррекцию громкости;
- коррекцию АЧХ с помощью 5-полосного графического эквалайзера.
Назначение выводов звукового процессора IC200 приведено в табл. 5.
Таблица 5
| Номер вывода | Обозначение | Назначение |
| 1-5,8,11-17,20-23,30-34,64 | NC | He используются |
| 6 | ADR-SEL | Вход выбора адреса I2C |
| 7 | STDBY | Вход сигнала коммутации дежурного режима. Подключен к шине питания +5 В |
| 9 | SCL | Тактовая шина I2C |
| 10 | SDA | Шина адреса/данных I2C |
| 18 | DV SUP | Питание цифровой части процессора. Подключен к шине питания +5 В |
| 19,27,35,41, 48, 51,56 | — | Общий |
| 24 | RESETQ | Вход сигнала начального сброса |
| 25 | HP-R | Выход правого канала звука AUX. Поступает на плату Н |
| 26 | HP-L | Выход левого канала звука AUX. Поступает на плату Н |
| 28 | SP-R | Основной выход правого канала |
| 29 | SP-L | Основной выход левого канала |
| 36 | SC1 OUT R | Выход правого канала. Поступает на разъем SCART |
| 37 | SC1 OUT L | Выход левого канала. Поступает на разъем SCART |
| 38 | CAPL-A | Конденсатор тракта громкости регулировки (канал AUX) |
| 39 | AHVSUP | Питание аналоговой части +8 В |
| 40 | CAPL-M | Конденсатор тракта регулировки громкости (основной канал) |
| 42 | AGNDC | Опорное напряжение аналоговой части |
| 46,47 | SC3 IN | Вход сигнала для разъема SCART3. Не используется |
| 49, 50 | SC2 IN | Вход сигнала для разъема SCART2. Не используется |
| 52,53 | SC1 IN | Вход сигнала для разъема SCART |
| 54 | V REF TOP | Опорное напряжение аналого-цифрового преобразователя |
| 55 | MONO IN | Вход монофонического сигнала. Поступает с выхода АМ-тюнера |
| 57 | AV SUP | Питание аналоговой части процессора. Подключен к шине питания +5 В |
| 58 | ANA IN 1 + | Вход сигнала звукового сопровождения |
| 59 | ANA IN - | Общий сигнала звукового сопровождения |
| 60 | ANA IN 2+ | Вход 2 сигнала звукового сопровождения |
| 61 | TESTEN | Не используется |
| 62,63 | XTAL | Выводы для подключения кварцевого резонатора |
Выделенный сигнал звукового сопровождения с тюнера TU101 (выв. QSS) через фильтры Q110 и Q210 поступает на выв. 58 дифференциального входа звукового процессора IC200. Другой вход (выв. 59) подключен к общему проводу через конденсатор С217. После обработки в IC200 сигналы звука с выв. 28, 29 поступают на буферный каскад Q204, Q205 и далее — на усилитель мощности 1С 1200 (выв. 7,11). Одновременно эти же сигналы через разъем CN1202 подаются на усилитель мощности сабвуфера (плата К). С выхода усилителя IC1200 (выв. 2, 4) сигналы подаются на динамические головки.
Для воспроизведения звука через головные телефоны сигналы снимаются с выв. 25, 26 IC200 и через ключи Q201, Q202 (обеспечивают режим отключения звука при включении телевизора - POWER ON MUTE) поступают на усилитель IC201 (выв. б, 7). С выходов усилителя (выв. 1, 3) через фильтры R414, L410, С425 и разъем CN402 сигналы поступают на плату Н.
Сигнал POWER ON MUTE формируется транзистором Q1200 и предотвращает звуковые «хлопки» при включении телевизора. Сигнал отключения звука MUTE формируется микропроцессором IC001 (выв. б) и через транзистор Q1201 подается на усилитель мощности IC1200 (выв. 5) и усилитель сабвуфера.
Усилитель сабвуфера выполнен на основе микросхемы IC271 (TDA2050) и конструктивно размещен на плате К. Сигналы правого и левого каналов складываются на резисторе R282 и далее поступают на фильтр нижних частот на элементах С282, R282, С286. После выделения нижних частот сигнал поступает на вход усилителя (выв. 1). Второй вход дифференциального усилителя (выв. 2) подключен к общему проводу через RC-фильтр. Выходной сигнал IC271 (выв. 4) подается на сабвуфер. Транзистор Q205 шунтирует входные цепи при активном состоянии сигнала MUTE.
Сервисный режим
Для входа в сервисный режим выполняют следующие операции:
- включают телевизор в сеть и переключают его в дежурный режим;
- последовательно нажимают следующие кнопки на пульте дистанционного управления (ПДУ): последовательно нажимают следующие кнопки на пульте дистанционного управления (ПДУ): ON screen display, 5, Volume +, TV.
В правом верхнем углу экрана отобразятся символы ТТ— и информация о статусе телевизора.
Для доступа к пунктам меню нажимают кнопку MENU. Для выбора пункта меню используют кнопки NEXT (синяя) и PREVIOUS (зеленая). Для изменения выбранного параметра нажимают кнопки «+» (желтая) и «—» (красная).
Для выхода из сервисного режима выключают питание телевизора.
Наименование и диапазон регулировок параметров приведены в табл. 6.
Таблица 6
| Параметр | Значение по умолчанию | Диапазон регулировки |
| V size | 21 | 0-63 |
| V breth | 32 | 0-63 |
| Pin amp | 12 | 0-63 |
| Para. Tilt | 43 | 0-63 |
| V linear | 42 | 0-63 |
| Corner corr | 05 | 0-63 |
| H size | 34 | 0-63 |
| V pos | 00 | 0-63 |
| H phase | 42 | 0-63 |
| Blue | 26 | 0-63 |
| Green | 32 | 0-63 |
| Red | 42 | 0-63 |
| HV blk1 | 00 | 0-63 |
| HV blk2 | 00 | 0-6 |
| V cent | 06 | 0-63 |
| Zwei max | 36 | 0-63 |
| Zwei min | 18 | 0-63 |
Тестовый режим
Для входа в тестовый режим дважды нажимают кнопку TEST. Для выхода из тестового режима дважды нажимают кнопку 0, затем - TEST и TV или переключают телевизор в дежурный режим. Список команд тестового режима приведен в табл. 7.
Таблица 7
| Команда | Описание |
| 00 | Выход из тестового режима |
| 01 | Установить максимальную контрастность |
| 02 | Установить минимальную контрастность |
| 03 | Установить уровень громкости 35% |
| 04 | Установить уровень громкости 50% |
| 05 | Установить уровень громкости 65% |
| О6 | Установить уровень громкости 80% |
| 07 | Максимальные яркость и контрастность |
| 08 | Установить аналоговые регулировки в значения по умолчанию: номер программы — 1, громкость — 35% |
| 15 | Считать заводские установки (яркость, контрастность, оттенок, громкость, четкость и значения цветов) из ПЗУ (ROM) микропроцессора и записать их в энергонезависимую память (NVM) |
| 16 | Сохранить действующие установки как значения по умолчанию |
| 17 | Разрешить/запретить регулировку четкости |
| 19 | Установить приоритет сигналов RGB |
| 22 | Дополнительная регулировка цвета (для PAL и SECAM разные значения) |
| 23 | Дополнительная регулировка яркости |
| 24 | Включить приоритет сигналов RGB |
| 25 | Включить систему D/K |
| 26 | Включить систему I/U |
| 27 | Включить систему I/I' |
| 28 | Включить систему B/G |
| 32 | Установить контрастность, равную 50% |
| 36 | Режим отключения звука (MUTE) |
| 37 | Отключить вывод на экран служебной информации |
| 38 | Переключиться в режим настройки ускоряющего напряжения G2 |
| 39 | Дополнительная регулировка яркости |
| 41 | Инициализация энергонезависимой памяти (NVM) |
| 43 | Инициализация геометрических установок |
| 48 | Присвоить тестовому байту NVM значение 44h |
| 49 | Стереть тестовый байт |
| 51 | 60/100 программ |
Регулировки телевизора
Регулировка ускоряющего напряжения (G2)
- подают на вход телевизора сигнал «черное поле»;
- входят в сервисный режим, затем в тестовом режиме выбирают команду 38 (см. табл. 7);
- нижним потенциометром на корпусе строчного трансформатора (screen) добиваются, чтобы на экране стрелка была практически не видна;
- нажимают кнопку TV на ПДУ для сохранения данных.
Регулировка размаха видеосигнала
- подают на вход телевизора сигнал «белый квадрат на черном фоне»;
- подключают осциллограф к выв. 7 кинескопа (красный прожектор);
- устанавливают максимальную контрастность изображения - команда «01» в тестовом режиме (табл. 7);
- в сервисном режиме выбирают пункт RED HWB;
- желтой и красной кнопками ПДУ устанавливают размах сигнала, равный 85 В.
Регулировка баланса белого
- подают на вход телевизора сигнал «белое поле»;
- устанавливают уровень яркости и цветности по умолчанию;
- входят в сервисный режим;
- регулируют значения параметров GREEN HWB и BLUE HWB до достижения баланса белого.
Дополнительная регулировка цвета
- подают на вход телевизора сигнал цветных полос в системе PAL;
- подключают осциллограф к выв. 3 кинескопа (синий прожектор);
- в тестовом режиме выбирают команду «22»;
- желтой и красной кнопками ПДУ добиваются формы осциллограммы, как на рис. 4:
- повторяют регулировку для сигнала в системе SECAM.

Рис. 4
Форма осцилограммы
Самодиагностика
Ошибки, выявленные в результате работы системы внутренней диагностики, фиксируются двумя способами:
- занята шина I2С;
- то или иное устройство не отвечает по шине I2С.
В первый момент после включения телевизора микропроцессор пытается «освободить» шину I2С (если шина не «освобождается», то светопытается установить связь с соответствующим устройством. При обнаружении неисправности в устройстве его номер индицируется соответствующим числом миганий светодиода. При обнаружении фатальной ошибки телевизор остается в том состоянии, в котором была обнаружена ошибка. В случае возникновения других ошибок телевизор пытается продолжить работу. Коды ошибок приведены в табл. 8.
Таблица 8
| Номер ошибки (количество миганий в серии светодиода) | Код ошибки по руководству S-188-900-10 | Описание | Примечание |
| Нет | 0 | Нет ошибок | — |
| 2 | 30 | Ошибка видеопроцессора при работе с шиной I2C | Индицируется при включении телевизора и в дежурном режиме |
| 3 | 31 | Видеопроцессор не устанавливает флаг «ОК» | Индицируется в любом режиме работы, телевизор переключается в дежурный режим |
| 4 | 32 | Ошибка видеопроцессора -нет сигнала обратной связи строчной развертки | Индицируется при включении телевизора и в дежурном режиме |
| 33 | Ошибка видеопроцессора — переполнение стека | — | |
| 5 | 40 | Ошибка звукового процессора при работе с шиной I2С | Индицируется в любом режиме работы, телевизор переключается в режим отключения звука (MUTE) |
| 6 | 91 | Включает режим защиты — нет кадровых импульсов | Индицируется в любом режиме работы, телевизор переключается в дежурный режим |
| 7 | 10 | Ошибка энергонезависимой памяти при работе с шиной I2C | Индицируется только при включении телевизора |
| 8 | 20 | Ошибка тюнера при работе с шиной I2C | Индицируется в любом режиме работы, телевизор переключается в дежурный режим |
| 9 | 01 | Общая ошибка шины I2С — линии SDA1 или SCL1 замкнуты на корпус | Индицируется только при включении телевизора |
| 10 | 90 | Режим защиты от рентгеновского излучения — завышено напряжение на аноде кинескопа | Индицируется в любом режиме работы, телевизор переключается в дежурный режим |
Возможные неисправности и их устранение
Телевизор не включается, перегорает сетевой предохранитель
Проверяют исправность элементов сетевого фильтра (Т601, С602-С606), выключателя S601, систему размагничивания кинескопа, выпрямителя (D610, СбЗО), обмотки 5-7 трансформатора Т602, С611, силовой транзистор 1С600(выв. 1-3).
Телевизор не включается, сетевой предохранитель цел, индикатор POWER не светится
Проверяют наличие напряжения +300 В на выв. 1 IC600. Если напряжение отсутствует — проверяют исправность элементов сетевого фильтра, выключателя, диодного моста, обмотки 5-7 трансформатора Т602.
Проверяют наличие питающего напряжения на выв. 9 IC600 (напряжение запуска микросхемы: +8±0,4 В). При отсутствии напряжения проверяют исправность резисторов R604, R651, конденсатора С610, транзистора Q601 и стабилитрона Q603.
Если питающие напряжения в норме, проверяют напряжение обратной связи на выв. 7 (650 мВ) и падение напряжения на резисторе защиты R605 (не более 1 В). Проверяют прохождение управляющих импульсов с выв. 5 IC600 через R607 и С614 на базу выходного транзистора (выв. 3). Максимальная длительность положительной полуволны управляющих импульсов: 33-41 мкс, минимальная длительность отрицательной полуволны: 45-55 мкс.
Индикатор POWER светится, телевизор не включается
Проверяют напряжения, вырабатываемые БП на соответствие номинальным значениям (см. раздел «Блок питания»). Проверяют прохождение сигнала STDBY от выв. 3 микропроцессора IC001 через транзисторы Q604, Q603, Q602 и оп-трон IC601 на выв. 7 IC600.
Проверяют режим транзисторов Q617, Q606, Q803 (схема защиты по перегрузке строчной развертки).
Для определения неисправности (блок питания или строчная развертка) выпаивают R816 или L805. Если блокировка строчных импульсов снимается — неисправность в строчной развертке или ее нагрузке: кадровой развертке, видеоусилителе.
Отсутствует звук и изображение, растр есть
Убеждаются, что телевизор находится в режиме приема телевизионного сигнала. Проверяют наличие напряжений питания на тюнере: +33 В, +5 В. Проверяют сигналы шины I2C на выводах тюнера SCL и SDA.
Проверяют цепь прохождения видеосигнала: выв. VIDEO тюнера - транзисторы Q411, Q410 - буфер Q107 — коммутатор Q310, Q311 - выв. 40 видеопроцессора IC301.
Нет звука
Проверяют правильность настройки системы приема телевизора (для России - SECAM D/K).
Проверяют наличие напряжений питания на выводах звукового процессора IC200 - выв. 7,18, 57 (+5 В), выв. 39 (+8 В). Проверяют наличие напряжений питания на усилителе IC1200 - выв. 1, б (-18 В), выв. 3 (+18 В).
Проверяют отсутствие сигнала MUTE на выв. 5 усилителя IC1200 (высокий уровень соответствует режиму отключения звука). Проверяют цепь прохождения аудиосигнала: выход AM тюнера — вход 55 IC200 — выв. QSS тюнера — фильтр Q110, Q210 - выв. 58 IC200 - выв. 28, 29 IC200 -буфер Q204, Q2O5 - выв. 7,11 IC1200 - выв. 2, 4 IC1200 — громкоговорители.
Нет звука в головных телефонах
Проверяют напряжение питания +8 В на выв. 2 усилителя IC201. Проверяют цепь прохождения сигнала на головные телефоны: выв. 25, 26 звукового процессора IC200 - Q201, Q202 - выв. 6, 7 усилителя IC201 - выв. 1, 3 усилителя IC201 - фильтр L410, L411 - разъем CN402 (конт. 7,9) — гнездо головных телефонов.
Телевизор не реагирует на нажатие управляющих кнопок передней панели
Проверяют резисторы R060, R073, R061, R071, R074, R063, R062 на соответствие номиналу. Проверяют прохождение сигнала с выв. 40 микропроцессора IC001: транзисторы Q007, Q008, Q009 — вход 32 микропроцессора. Проверяют диоды Q013, Q017 и индуктивность L003 на обрыв.
Телевизор не реагирует на команды с ПДУ
Убеждаются в исправности ПДУ и его источника питания (батареек).
Проверяют наличие напряжения +5 В STDBY на выв. 2 фотоприемника IC003. Проверяют цепь прохождения сигнала с фотоприемника: выв. 1 IC003 — R015 — R058 - выв. 36 IC001.
Слабая насыщенность цветного изображения
Проверяют правильность установки регулировки насыщенности. Проверяют цепи прохождения цветоразностных сигналов через линию задержки IC302.
Не отображается телетекст и служебная информация
Проверяют наличие управляющего сигнала на выв. 21 видеопроцессора IC301. Проверяют цепи прохождения RGB-сигналов от микропроцессора до видеопроцессора. Например, для канала красного цепь прохождения сигналов следующая: выв. 47 IC001 — Q012 — R088 - D005 - С317 - выв. 24 IC301. При отсутствии сигналов на выходах микропроцессора его заменяют. При наличии сигналов на входе видеопроцессора его заменяют.
На экране преобладает один из основных цветов либо он отсутствует
Проверяют цепь прохождения сигнала соответствующего цвета (например для красного: выв. 17 IC301 -конт. 4 разъема CN081 - Q702, Q705, Q708 - выв. 7 кинескопа. Проверяют напряжения питания +5 и +190 В на соответствующем видеоусилителе платы кинескопа.
Мал размер изображения по вертикали
Проверяют напряжение питания +24 В на выв. 2 IC501. Проверяют исправность внешних элементов генератора обратного хода - D501 и С504. Проверяют емкость конденсатора С505. Проверяют цепь прохождения тока через кадровые катушки: выв. 5 микросхемы IC501, L501, конт. б, кадровые катушки, конт. 5, С505, R507, корпус. Если неисправный элемент не обнаружен, заменяют микросхему IC501.
Мал размер изображения по горизонтали
Проверяют методом замены исправность конденсаторов С801, С802, С813, С815, С809, С810.
Внимание! Элементы строчной развертки могут находиться под высоким напряжением!
Нарушена линейность по горизонтали
Проверяют исправность элементов L808, L800, С803, С800, R800, L803, L806.
Нет звука при работе с НЧ входом
Проверяют цепь прохождения сигнала звука (например, для левого канала):
- разъем AUDIO - конт. 1 разъема CN402 - С420 -R421 - выв. 49 звукового процессора IC200;
- разъем SCART - L408 - С403 - R403 - выв. 52 С200.
Нет изображения при работе с НЧ входом
Проверяют цепи прохождения видеосигнала:
- разъем VIDEO - конт. б разъема CN402 - С416 -R417 - вход б коммутатора IC401 - выход 4 коммутатора - С347 - R311 - выв. 2 видеопроцессора IC301. Также проверяют управляющий сигнал на коммутаторе IC401 (выв. 7);
- разъем SCART J401 - С417 - R344 - выв. 8 коммутатора IC401 - выв. 4 коммутатора - С347 - R311 -выв. 2 видеопроцессора IC301. Также проверяют управляющий сигнал на коммутаторе IC401 (выв. 7);
- разъем J902 - конт. 4 разъема CN402 - С332 -Q310 — выв. 40 видеопроцессора IC301.
Принципиальные схемы и осциллограммы сигналов в контрольных точках можно скачать здесь.
Источник
- Журнал "Ремонт & Сервис"
Автор: П. Потапов
