Приведены основные характеристики, особенности построения и рекомендации по применению нового измерительного прибора, используемого в качестве высокостабильной многозначной меры переменного высокочастотного напряжения, работающего в диапазоне частот от 0,1 до 50 МГц при уровнях сигнала от 0,166 до 30 В.
В измерительной технике и технике связи широкое применение находят калибраторы переменных напряжений. Калибратор является многозначной мерой высокостабильного переменного напряжения, частота и уровень которого могут изменяться в широких пределах. Основным достоинством калибратора, позволяющим повысить производительность измерений, является поддержание с высокой точностью заданного уровня сигнала в условиях изменения частоты, величины нагрузки, а также других влияющих факторов.
В наибольшей мере достоинства калибраторов проявляются при использовании их в качестве эталона для поверки средств измерений: вольтметров, измерительных преобразователей переменного напряжения в постоянное напряжение, осциллографов, анализаторов спектра, аттенюаторов, измерителей ослаблений и других приборов. В эксплуатации поверочных служб находятся отечественные калибраторы В1-9; В1-20; В1-27; В1-28; Н4-6; Н4-7; В1-16; В1-29; Н5-3, а также многочисленные зарубежные калибраторы таких известных фирм, как Fluke, Datron, Avago Technology и других.
Однако частотный диапазон большинства калибраторов переменного напряжения ограничен частотой 100 кГц, а высокочастотные калибраторы, работающие в диапазоне до 50–100 МГц (В1-16, В1-29; Н5-3), имеют ограниченный максимальный выходной уровень сигнала (3–3,5 В), недостаточный для комплексной поверки приборов этого диапазона частот. При этом погрешность выходного уровня калибраторов, работающих в диапазоне частот до 100 кГц, составляет ±(0,002–0,05) %, а работающих в диапазоне частот до 100 МГц составляет ±(0,1–1) %.
Можно было бы использовать в качестве источника калиброванного сигнала повышенного уровня высокочастотные промышленные генераторы стандартных сигналов (Г4-153, Г4-154 и др.), если контролировать их уровень с помощью эталонных вольтметров. Однако невысокая стабильность и значительный уровень нелинейных искажений выходного напряжения генераторов, невозможность его плавного регулирования вместе с проблемой приобретения эталонного вольтметра и существенного усложнения процедуры измерений зачастую вынуждают отказаться от такого использования.
Поэтому разработка промышленного калибратора, работающего в диапазоне частот до 50–100 МГц, обеспечивающего выходной уровень напряжения до 30 В, является весьма актуальной задачей.
При разработке калибратора рассматривался вариант создания самостоятельного блока измерительного усилителя с большой глубиной обратной связи, имеющего повышенный уровень выходного напряжения, предназначенного для использования в комплекте с промышленными калибраторами В1-16, Н5-3 и В1-29, которые рассчитаны на максимальный уровень выходного сигнала 3 В. Однако чрезвычайно высокие требования к глубине обратной связи, сохраняемой в широкой полосе частот при значительном выходном напряжении и большом токе нагрузки, не позволили создать такой усилитель.
Был выбран вариант построения калибратора на основе генератора с встроенной следящей системой автоматического регулирования уровня выходного напряжения.
Чувствительным элементом системы автоматического регулирования уровня, реагирующим на среднеквадратический уровень выходного сигнала и определяющим метрологические характеристики калибратора, является блок термоэлектрического преобразования переменного напряжения в постоянное напряжение (БПТЭ), построенный на основе специализированной микросхемы дифференциального многоэлементного пленочного термопреобразователя ДТПС (рис. 1) [1; 2]. По сравнению с чувствительными элементами других типов, реагирующими на амплитудный или средневыпрямленный уровень сигнала, выбранный тип чувствительного элемента обладает несомненным преимуществом, заключающемся в отсутствии реакции на паразитные гармонические искажения сигнала [3; 4; 5].
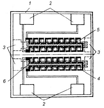
Микроэлектронные пленочные многоэлементные дифференциальные термопреобразователи ДТПС-2 [1; 2; 5] представляют собой микросхему, выполненную в цилиндрическом корпусе диаметром 20 мм, высотой 18 мм. В качестве подложки микросхемы использована слюда толщиной 40 микрон. На подложке симметрично расположены два идентичных блока многоэлементных термопар с косвенным подогревом. Нихромовые полоски подогревателей напылены на одной стороне подложки. С другой стороны подложки напылены два термоэлектрических блока, содержащих по 25 штук последовательно включенных термопар (теллурид свинца – железо).

Рис. 1. Пленочный модуль дифференциального пленочного многоэлементного термопреобразователя ДТПС-2: 1 – подложка (слюда); 2 – контактные площадки выводов термопар; 3 – контактные площадки выводов подогревателей; 4 – ветвь многоэлементной термопары с положительным потенциалом (железо); 5 – ветвь многоэлементной термопары с отрицательным потенциалом (теллурид свинца); 6 – подогреватель (нихром)
"Горячие" спаи термопар расположены прямо под подогревателем, а холодные – прямо под металлическими выступами корпуса, отводящего тепло. Подогреватели соединены с входными выводами микросхемы, а термопары – с выходными. Сопротивление входов термопреобразователя составляет (50±1) Ом, а сопротивление выходов – около 1,5 кОм. Коэффициент преобразования составляет около 2 мВ/мВт. Максимальная допустимая мощность, подводимая к подогревателям – 40 мВт. Тепловая постоянная времени – около 40 мс.
Высокая степень идентичности характеристик двух составляющих блоков, сохраняемая при долговременной работе и в условиях действия климатических факторов, достигнута отработкой технологических режимов изготовления термопреобразователя.
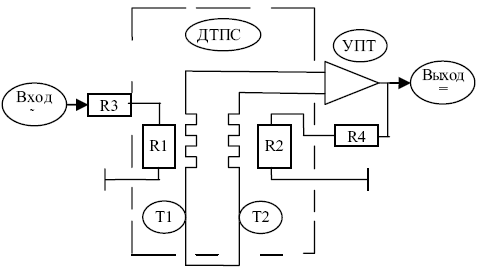
Блок термоэлектрического преобразования переменного напряжения в постоянное напряжение (БПТЭ) построен на основе термопреобразователя ДТПС по методу взаимообратных преобразований [3; 4; 5] (рис. 2). Схема преобразования во многом повторяет схему, использованную в промышленных приборах В9-25 и В9-27 [6; 7].

Рис.2. Функциональная схема блока БПТЭ: R1; R2 – сопротивления подогревателей 1-го и 2-го термопреобразователей соответственно; Т1; Т2 – многоэлементные термопары 1-го и 2-го термопреобразователей соответственно; R3, R4 – масштабные резисторы 1-го и 2-го термопреобразователя соответственно; УПТ – однополярный дифференциальный усилитель
Внешний вид разработанного калибратора Н5-4 приведен на рис. 3, а структурная схема приведена на рис. 4.

Рис. 3. Внешний вид калибратора напряжений высокочастотного Н5-4

Рис. 4. Структурная схема калибратора напряжения Н5-4
Калибратор работает в диапазоне частот от 0,1 до 50 МГц и обеспечивает выдачу высокостабильного переменного напряжения точно заданного уровня в диапазоне значений от 0,166 В до 30 В при токе нагрузки до 20 мА.
Предусмотрен режим работы калибратора в режиме управления уровнем внешнего задающего генератора, подаваемого на разъем "Вход" измерительного блока.
Калибратор состоит из блока измерительного БИ Н5-4, блока РС разветвителя сигнала, блока БПТЭ преобразователя термоэлектрического и двух делителей напряжения ДН1(1:10) и ДН2(1:30). Разветвитель сигнала РС подключается к выходному разъему калибратора. Один из разъемов РС используется для подсоединения к выходу калибратора входного разъема блока преобразователя термоэлектрического БПТЭ системы автоматического регулирования выходного уровня калибратора. Два других разъема РС используются для подключения внешней нагрузки.
Измерительный блок в генераторной части содержит источник сигналов дискретных частот, которые через электронный аттенюатор с аналоговым управлением (ЭА) поступают на выходной усилитель мощности. В измерительной части БИ Н5-4 имеется источник постоянных опорных напряжений (ИОН) и дифференциальный усилитель постоянного напряжения ДУ, принимающий выходные сигналы БПТЭ и ИОН и управляющий коэффициентом деления электронного аттенюатора ЭА через буферный усилитель БУ1 до тех пор, пока выходное напряжение калибратора не будет соответствовать заданному опорному уровню.
Основные технические характеристики калибратора приведены в таблице.
| № | Наименование характеристики | Значение характеристики | |
| В режиме № 1 при работе от внутреннего задающего генератора | В режиме № 2 при работе от внешнего задающего генератора | ||
| 1 | Нижний и верхний пределы диапазона частот сигнала, МГц | ||
| 0,1-50 | 0,1-30 | ||
| 2 | Частоты сигнала | 0,1; 0,2; 0,5; 1; 3; 5; 10; 15; 20; 30; 50 | В соответствии с частотой генератора |
| 3 | Нижний и верхний пределы диапазона среднеквадра-тических уровней напряжения основного выхода, В | 5-30 | 5-20 |
| 4 | Напряжения основного выхода, В | 5; 10; 15; 20; 25; 30 | 5; 10; 15; 20 |
| 5 | Номинальный коэффициент ослабления N сигнала при использовании придаваемых делителей | N1=10; N2=30 | N1=10; N2=30 |
| 6 | Нижний предел и верхний пределы диапазона средне-квадратических уровней напряжения при использовании придаваемых делителей, В | 5/N + 30/N | 5/N + 30/N |
| 7 | Предел допускаемой основной погрешности основного выхода калибратора на опорной частоте, % | ±0,1 | ±0,1 |
| 8 | Предел допускаемой основной погрешности делителей напряжения | ±0,2 | ±0,2 |
| 9 | Изменение выходного напряжения основного выхода | ±0,1 до 10 МГц; | ±0,1 до 10 МГц; |
| при изменении частоты, % | ±0,3 до 50 МГц | ±0,3 до 30 МГц | |
| 10 | Изменение выходного напряжения при работе с при- | ±0,2 до 10 МГц; | ±0,2 до 10 МГц; |
| даваемыми делителями при изменении частоты, % | ±0,5 до 50 МГц | ±0,5 до 30 МГц | |
| 11 | Уровень гармонических искажений по 2-й и 3-й гар- | Минус 30 до 10 МГц; | Минус 25до 10 МГц; |
| моникам, дБ | Минус 25 до 50 МГц | Минус 20 до30 МГц | |
| 12 | Допустимая активная нагрузка | 0,5-1,5 кОм | |
| 13 | Допустимая емкость нагрузки | 10 пФ | |
| 14 | Потребляемая от сети питания 220В мощность, ВА | 80 | |
| 15 | Масса прибора, кг | 5 | |
| 16 | Габариты, мм: | 155х135х315 | |
| 17 | Условия эксплуатации | Группа 2 ГОСТ 22261-94 | |
Технические характеристики и конструктивное исполнение калибратора Н5-4 ориентированы в первую очередь на использование при поверке и калибровке широкополосных вольтметров среднеквадратических значений, а также при сличениях особо точных образцовых термоэлектрических компараторов напряжений (таких как ПНТЭ-6А, В9-25; В9-27), выполняемых в соответствии с ГОСТ 8.458-82. Отсутствие подобного калибратора существенно затрудняло выполнение рекомендаций этого стандарта при проведении измерений.
Используя вместе с калибратором Н5-4 преобразователи напряжения В9-25 и В9-27, можно получить измерительный комплекс, позволяющий проводить настройку, поверку, калибровку и диагностику значительного парка радиоаппаратуры и измерительных приборов, работающих в диапазоне частот от единиц герц до 50 МГц.
Калибратор найдет также широкое применение при научных исследованиях как высокочастотный генератор, обладающий высокостабильным уровнем выходного напряжения.
Литература
- Гуревич М.Л., Кудрявцев О.А., Русейкин П.Н., Рогов В.В., Гусаров В.А. Применение микроэлектронных термопреобразователей в широкополосных вольтметрах.// Техника средств связи, сер. РТ. – Вып. 1. – 1985.
- Гуревич М.Л., Кудрявцев О.А., Редькин Б.Е. Характеристики термоэлектрических дифференциальных преобразователей и методы их измерения. // Техника средств связи, сер. РТ. –Вып. 1. – 1985.
- Волгин Л.И. Измерительные преобразователи переменного напряжения в постоянное. – М.: Радио и связь – 1977.
- Губарь В.И., Туз Ю.М., Володарский Е.Т. Аналого-цифровые измерительные преобразователи переменного тока.– Киев: Техника. –1979.
- Грязнов М.И., Гуревич М.Л., Рябинин Ю.А. Измерение параметров импульсов.– М. :Радио и связь. – 1991.
- Гуревич М.Л Комплект широкополосных измерительных преобразователей напряжения В9-25.// Вестник метролога. – № 3. – 2005.
- Гуревич М.Л. Измерительный преобразователь напряжения В9-27.// Вестник метролога. – № 1. – 2007.
Источник:
