Сотовый телефон "Nokia 6100" относится к бизнес-классу. Эта модель, впрочем, как и вся продукция от NOKIA, отличается надежностью и элегантным дизайном. Отличное качество сигнала при звонке на городские телефонные номера. Набор потребительских функций оптимально соответствует потребностям делового человека, а пользовательское меню очень удобно. Телефон трехдиапазон-ный (EGSM900, GSM900/1800/1900). Инженеры, разработавшие модель Nokia 6100, взяли за основу ту же платформу, на которой построены такие телефоны, как Nokia 6610/7210. Если последние две модели ничем кроме дизайна не отличаются друг от друга, то Nokia 6100 имеет ряд принципиальных отличий в конструкции и незначительные изменения в программном обеспечении. При сравнимой с Nokia 6610 высоте и ширине аппарата, его толщина стала меньше на 4 мм, габариты телефона 102x44x13,5 мм. Установка телефона в режим ожидания не составит труда. Добиться этого удалось за счет применения аккумулятора нового типа - это литий-полимерная аккумуляторная батарея (АКБ) типа BL-4C. В аппарате не совсем оригинальная конструкция держателя SIM-карты, на несмотря на свою "необычность", она достаточно надежна. Экран отображает 4096 цветов и имеет разрешение 128x128 точек. В обычных режимах в большинстве меню отображается до 5 строк текста и служебная строка. При наборе коротких сообщений к двум служебным строчкам добавляется до 8 строк текста (достигается это за счет масштабирования).
Перейдем к описанию технических особенностей этой модели, типовым неисправностям и порядку их поиска и устранения.
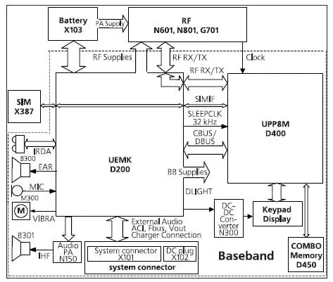
Сотовый телефон "Nokia 6100" выполнен на платформе DCT-4 и имеет "сервисное" наименование NPL-2. Аппарат имеет стандартный набор специализированных микросхем (ASIC - Application Specific Integrated Circuit). Структурная схема телефона приведена на рис. 1.
Основой этого аппарата являются следующие элементы:
- процессор UPPSM (D400);
- микросхема UEMK (D200);
- микросхема COMBO-памяти (Flash 4 Мбит х 16 + SRAM 256 кБит х 16) (D450);
- сигнальный процессор (N601).
Если для ремонта потребуется принципиальная электрическая схема телефона "Nokia 6100", то ее можно найти в [1]. Конструктивные узлы телефона приведены на рис. 2.
Разборка телефона
Разборку телефона выполняют в следующей последовательности:
1. Снимают заднюю крышку и аккумуляторную батарею .
2. Снимают переднюю декоративную панель .
3. Выкручивают шесть винтов с помощью отвертки с плоским жалом и отстыковывают разъем ЖК модуля от главной платы.
4. Аккуратно приподнимают и снимают ЖК модуль , снимают пленочную клавиатуру с главной платы.
5. Снимают динамическую головку.
6. Главная плата телефона с задней стороны закрыта защитной крышкой. Для ее удаления вначале отделяют

Рис. 1. Структурная схема телефона Nokia 6100

Рис. 2. Конструктивные узлы телефона Nokia 6100
плату от задней крышки корпуса (рис. 9), а затем снимают с платы защитную крышку.
7. Снимают узел ИК (рис. 10) и кнопку включения аппарата .
8. Снимают антенный узел.
9. С помощью пинцета снимают вибромотор , микрофон и разъем подключения зарядного устройства.
10. Снимают держатель SIM-карты .
