Для того чтобы контролировать сигнал, принимаемый антенной спутниковой системы на месте ее установки, очень пригодится описываемый ниже прибор. Он позволит точно ориентировать антенну на спутник и получить хорошее качество приема.

При монтаже оборудования для приема спутникового телевидения или Интернета одной из проблем можно назвать точную ориентацию антенны на спутник. Легко решить ее можно, используя индикатор, внешний вид которого показан на рис. 1. Он снабжен микроамперметром, отклонение стрелки которого зависит от уровня принимаемого сигнала. Индикатор включают между кабелем снижения и высокочастотным облучателем-конвертером (так называемым блоком LNB) спутниковой системы.

Рис. 2
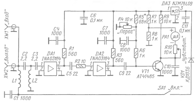
Схема устройства изображена на рис. 2. Оно содержит два одинаковых усилителя ВЧ на микросхемах DA1, DA2, детектор на транзисторе VT1 и стабилизатор напряжения на микросхеме DA3. Каждый из усилителей потребляет ток 8... 10 мА, имеет коэффициент усиления 22...25 дБ до частоты 2 ГГц и верхнюю граничную частоту 2,5 ГГц по уровню -ЗдБ. Общий коэффициент усиления в интервале частот 0,7...2,2 ГГц достигает 45 дБ.
Для подавления сигналов частотой менее 700 МГц на входе установлен ФВЧ C2L2C3. Чувствительность индикатора регулируют переменным резистором R10. Переменным резистором R4 устанавливают режим по постоянному току транзистора VT1, который служит амплитудным детектором. Питание на индикатор поступает по кабелю снижения от ресивера через ФНЧ L1C1 и защитный диод VD1.
После подключения кабеля снижения и конвертера к гнездам XW1, XW2 и включения устройства переменным резистором R4 устанавливают такой режим работы транзистора VT1, чтобы микроамперметр РА1 показал ток, близкий к нулю. Выходной сигнал конвертера (в том числе и шумовой) проходит через ФВЧ, первый, затем второй усилители ВЧ и поступает на базу транзистора VT1.
При увеличении амплитуды сигнала ВЧ коллекторный ток через транзистор VT1 увеличивается, а напряжение на нем уменьшается. В результате через микроамперметр РА1 будет протекать ток. Чем больше уровень сигнала, тем сильнее отклоняется стрелка. При ее малом или большом отклонении чувствительность прибора увеличивают или уменьшают переменным резистором R10 соответственно.
При медленном изменении пространственной ориентации антенны и приближении к точному направлению на спутник стрелка индикатора отклоняется больше. По максимуму ее отклонения ориентируют антенну точно на спутник. При этом сигнал поступает на ресивер и можно наблюдать результаты настройки на экране телевизора или монитора.
В устройстве, кроме указанных на схеме, можно использовать другие малогабаритные детали для поверхностного монтажа: микросхему INA03170 (DA1, DA2), любой интегральный стабилизатор напряжения в корпусе SOT-89 с напряжением стабилизации 8...9 В (DA3), транзисторы - АТ41411, АТ41435, АТ41486 (VT1), постоянные резисторы РН1-12 типоразмера 1206, переменные серий СП4, СПО, конденсаторы К10-17В или аналогичные импортные.
Катушки L1, L2 намотаны проводом ПЭВ-2 0,2 на оправке диаметром 2 мм. Катушка L1 содержит 10 витков, намотка - виток к витку, катушка L2 - 3 витка с шагом 1 мм. Разъемы - типа F. Выключатель питания - любой малогабаритный. Микроамперметр - с током полного отклонения 1ОО...2ООмкА и сопротивлением от нескольких сотен ом до нескольких единиц килоом.

Рис. 3
Большинство деталей размещено на печатной плате из двусторонне фольгированного стеклотекстолита, эскиз которой представлен на рис. 3. Металлизация обеих сторон соединена между собой припаянной по краю платы фольгой и через отверстия (отрезками луженого провода). Плату по краям припаивают к металлической крышке корпуса, к которой также припаивают и разъемы, как видно на рис. 4. Переменные резисторы, микроамперметр и выключатель размещают на корпусе (желательно также металлическом) устройства.

Потребляемый индикатором ток - примерно 30 мА. Для питания индикатора, а также конвертера можно использовать автономный источник, например, батарею гальванических элементов или аккумуляторов напряжением 12 В. В этом случае на корпусе индикатора следует установить дополнительные гнезда для подключения батареи, соединив их с выводами конденсатора С1.
Для включения индикатора между кабелем снижения и конвертером необходимо сделать кабель требуемой длины с двумя вилками типа F на конце.
Налаживания устройство не требует, нужно только проверить напряжение на выходах микросхем DA1, DA2, которое должно быть в пределах 4...4,5 В.
Автор: И. Нечаев, г. Москва
