Напряжение электросети переменного тока представляет собой осциллограмму в виде синусоиды с положительными и отрицательными полупериодами.
При зарядке аккумуляторов используется положительная часть синусоиды в однополупериодных и двухполупериодных выпрямителях постоянного тока.
Ускорить процесс восстановления пластин аккумулятора без ухудшения состояния возможно, если использовать дополнительно отрицательный полупериод тока небольшой мощности.
Ввиду низкой скорости химического процесса в электролите не все электроны достигают кристаллов сульфата свинца за отведенное время в десять миллисекунд, к тому же исходя из формы синусоиды напряжение в начале равно нулю, а затем растет и достигает максимума через пять миллисекунд, в последующие 5 мс оно падает и переходит через нуль в отрицательный полупериод синусоиды. Электроны средней части синусоиды обладают наибольшим энергетическим потенциалом и в состоянии расплавить кристалл сульфата свинца с переводом его в аморфное состояние. Электроны остальной части синусоиды, имея недостаточную энергию, не достигают поверхности пластин аккумулятора, или неэффективно воздействуют на их восстановление. Накапливаясь в молекулярных соединениях на поверхности пластин, они' препятствуют восстановлению, переводя химический процесс в электролиз воды.
Отрицательный полупериод синусоиды "отводит" электроны от поверхности пластин на исходные позиции с суммарной энергией, неиспользованной при первоначальной попытке расплавления кристалла сульфата свинца и энергии возврата. Идет раскачивание энергетической мощности с ее ростом, что в конечном результате позволяет расплавить нерастворимые кристаллы.
Значение амплитуды напряжения отрицательного полупериода не превышает 1 /10... 1 /20 от тока эаря-да и является достаточной для возврата электронов перед следующим циклом подачи положительного импульса, направленного на расплавление кристалла сульфата свинца. При таком токе отсутствует вероятность переполюсовки пластин аккумулятора при отрицательной полярности.
В практике используется несколько технологий восстановления, в зависимости от технического состояния аккумуляторов и условий предшествующей эксплуатации. Техническое состояние можно определить с помощью диагностического прибора или простой нагрузочной вилкой, при высоком внутреннем сопротивлении напряжение под нагрузкой заметно ниже,' чем без нее - это означает, что поверхность пластин и внутренняя губчатая структура покрыты кристаллами сульфата свинца, который препятствует току разряда.
| Характеристика устройства Напряжение электросети, В | 220 |
| Напряжение аккумуляторов, В | 12 |
| Емкость аккумуляторов, А*ч | 2...90 |
| Вторичное напряжение, В | 2*18 |
| Мощность трансформатора, Вт | 120 |
| Зарядный ток, А | 0...5 |
| Импульс тока, А | до 50 |
| Мощность импульса, Вт | до 1000 |
| Разрядный ток, А | 0,25 |
| Время заряда при восстановлении, мс | 1...5 |
| Время разряда, мс | 10 |
| Время восстановления, ч | 5...7 |
Ранее используемые технологии восстановления имеют положительные и отрицательные качества: длительное время восстановления, большое энергопотребление, работа с кислотой, большие выделения газа, в состав которого входит взрывчатая смесь водорода с кислородом, необходимость мощной принудительной вентиляции и средств защиты при переливании кислоты при восстановительных работах. Положительным является конечный результат.
Технология восстановления atf-кумуляторов длительным зарядом малым током была разработана в прошлом веке и применялась при незначительной сульфатации электродов, заряд проводился до начала газообразования, ток снижался ступенчато с небольшими перерывами. Такой метод и сейчас используется для восстановления пластин мощных промышленных аккумуляторов на низкое напряжение и ток до десятков тысяч ампер. Время восстановления составляет не менее пятнадцати суток.
Второй метод представляет собой восстановление пластин в дистиллированной воде, он также длителен по времени и связан с заменой кислоты на воду с последующим зарядом, как в первом варианте. По окончании восстановления плотность выравнивается добавкой электролита.
Возможно восстановление пластин кратковременной подачей большого зарядного тока в течении 1...3 ч. Недостаток такого метода состоит в резком сокращении срока эксплуатации аккумулятора, чрезмерном нагреве пластин и их коробление, повышенном саморазряде, обильном газовыделении кислорода и водорода.
Технология восстановления свинцовых аккумуляторов переменным током позволяет в кратчайшее время снизить внутреннее сопротивление до заводского значения, при незначительном нагреве электролита.
Положительный полупериод тока используется полностью при зарядке аккумуляторов с незначительной рабочей сульфатацией, когда мощности зарядного импульса тока достаточно для восстановления пластин.
При восстановлении аккумуляторов с длительным послегарантийным сроком необходимо использовать оба полупериода тока в соизмеримых величинах: при токе заряда в 0,05С (С - емкость), ток разряда рекомендуется в пределах 1/10... 1/20 оттока заряда. Интервал времени тока заряда не должен превышать 5 мс, то есть восстановление должно идти на максимально высоком уровне напряжения положительной синусоиды, при которой энергии импульса достаточно для перевода сульфата свинца в аморфное состояние. Освободившийся кислотный остаток SO4 повышает плотность электролита до тех пор, пока все кристаллы сульфата свинца не будут восстановлены и повышение плотности закончится, при этом из-за возникшего электролиза напряжение на аккумуляторе возрастет. При зарядно-восстановитель-ных работах необходимо использовать максимальную амплитуду тока при минимальном времени его действия. Крутой передний фронт импульса тока заряда свободно расплавляет кристаллы сульфата, когда другие методы не дают положительных результатов. Время между зарядом и разрядом дополнительно используется на охлаждение пластин и рекомбинацию электронов в электролите. Плавное снижение тока во второй половине синусоиды создает условия для торможения электронов в конце зарядного времени с дальнейшим реверсом при, переходе тока в отрицательный полупериод синусоиды через нуль.
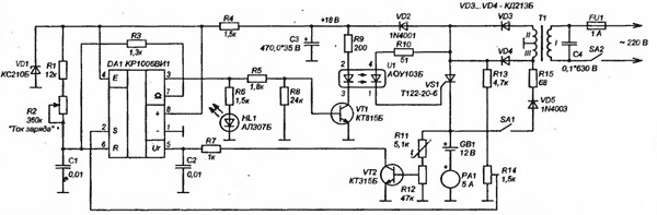
Для создания условий восстановления применена тиристорно-диодная схема установки и регулирования тока синхронизированного с частотой электросети. Тиристор во время переключения позволяет создать крутой передний фронт тока и меньше подвержен нагреву во время работы, чем транзисторный вариант. Синхронизация импульса зарядного тока с электросетью снижает уровень помех, создаваемых устройством.

Рис. 1
Момент повышения напряжения на аккумуляторе контролируется введением в схему отрицательной обратной связи по напряжению, с аккумулятора на ждущий мультивибратор на аналоговом таймере DA1 (рис. 1).
Также в схему введен температурный датчик для защиты от перегрева силовых компонентов. Регулятор тока заряда позволяет установить начальный ток восстановления, исходя из значения емкости аккумулятора.
Контроль среднего тока заряда ведется по гальваническому прибору - амперметру с линейной шкалой и внутренним шунтом. В показаниях амперметра токи алгебраически суммируются, поэтому показания среднего зарядного тока с учетом одновременной подачи с положительного тока отрицательного полупериода будут занижены.
Не следует продолжительное время подавать на аккумулятор только отрицательный полу пери од тока - это приведет к разряду аккумулятора с переполюсовкой пластин.
В заряженном аккумуляторе всегда идет саморазряд из-за разной плотности верхнего и нижнего уровня электролита в банке и других факторов, нахождение в буферном режиме подзарядки поддерживает аккумулятор в рабочем состоянии.
Схема восстановления аккумуляторов переменным током (рис. 1) содержит небольшое количество радиодеталей.
В состав схемы входит ждущий мультивибратор - формирователь синхронизированных с электросетью импульсов на аналоговом таймере DA1 типа КР1006ВИ1, усилитель амплитуды импульса на биполярном транзисторе обратной проводимости VT1, датчик температуры и усилитель напряжения отрицательной обратной связи VT2, узел питания и тиристорный регулятор зарядного тока. Напряжение синхронизации снимается с двухполупе-риодного выпрямителя на диодах VD3, VD4 и подается через делитель напряжения R13, R14 на вход 2 нижнего компаратора микросхемы DA1.
Частота импульсов ждущего мультивибратора зависит от номиналов резисторов R1, R2 и конденсатора С1.
В исходном состоянии на выходе 3 DA1 имеется высокий уровень напряжения при отсутствии на входе 2 DA1 напряжения выше1/3Uп, после его появления микросхема срабатывает с порогом, установленным резистором R14, на выходе появляется импульс с периодом 10 мс и длительностью, зависящей от положения регулятора R2, - времени заряда конденсатора С1. Резистор R1 определяет минимальную длительность выходных импульсов.
Вывод 5 микросхемы имеет прямой доступ к точке 2/3Un внутреннего делителя напряжения. По мере роста напряжения на аккумуляторе в конце заряда открывается транзистор VT2 цепи отрицательной обратной связи и снижает напряжение на выводе 5 DA1, создается модификация схемы и длительность импульса уменьшается, время нахождения тиристора в открытом состоянии снижается. Импульс с выхода 3 таймера через резистор R5 поступает на вход усилителя на.транзис-торе VT1. Усиленный транзистором VT1 импульс через оптопару U1 подает на управляющий электрод тиристора VS1 отпирающее напряжение, синхронизированное с сетью, тиристор открывается и подает в цепь аккумулятора импульс двухпо^-лупериодного зарядногатока с длительностью, зависящей от положения регулятора тока R2. Резисторы R9, R10 защищают оптопару от перегрузок.
Температура силовых элементов контролируется с помощью тер-морезистора R11, установленного в делителе напряжения цепи отрицательной обратной связи.
Повышение температуры вызывает снижение сопротивления терморезистора и шунтирование транзистором VT2 вывода 5 DA1, длительность импульса сокращается - ток снижается.
Питание таймера и RC-цепи в схеме стабилизировано стабилитроном VD1.
Электронная схема питается от вторичной обмотки силового трансформатора через диоды VD2...VD4, пульсации сглаживаются конденсатором СЗ. Диод VD2 разделяет пульсирующее напряжение выпрямителя на диодах VD3, VD4 от напряжения питания таймера и усилителя на транзисторе VT1.
Тиристор питается двухполупе-риодным пульсирующим напряжением и исполняет роль ключа с регулируемым временем включения положительных импульсов тока, отрицательный импульс подается в аккумулятор с однополупериодного выпрямителя на диоде VD5.
Радиодетали в схеме установлены общего применения: микросхема таймера серии 555, 7555. Резисторы МЛТ 0,12, R15 - мощностью 5 Вт. Переменные резисторы типа СП. Трансформатор можно использовать типа ТПП 2*18 В/5 А. Диоды малогабаритные на ток до 5 А. Тиристор при емкости аккумулятора до 50 А*ч подойдет типа КУ202Б...Н с радиатором.
Регулировку схемы устройства начинают с проверки напряжения +18 В, небольшие расхождения не влияют на работу прибора.
Временно установив параллельно конденсатору С1 емкость в 0,1 мкФ, по вспышкам светодиода уточняют работоспособность таймера.
В цепь катода тиристора для контроля его работы включают лампочку на напряжение 12 В и мощность 50...60 Вт. Мигание лампочки подтверждает исправность тиристора и его работу в допустимом тепловом режиме. Вращением вала установочного резистора R14 уста-навливают порог срабатывания микросхемы. После подключения в зарядную цепь аккумулятора необходимо выставить зарядный ток резистором R2 при среднем положении подстроечного резистора R12. При нагреве терморезистора R11 ток заряда должен уменьшится.

Рис. 2
Элементы схемы, кроме выключателя, регулятора тока заряда, амперметра и предохранителя устанавливаются на печатной плате (рис. 2), остальное крепится в корпусе зарядного устройства.
Технология восстановления аккумуляторов переменным током была разработана в 1999 г. и выполнена в изделии небольшой партией для патентного эксперимента.
Литература
- И.П. Шелестов "Радиолюбителям - полезные схемы". Солон-Пресс. Москва. 2003 г.
- В. Коновалов. "Зарядно-восста- • новительное устройство для Ni-Cd аккумуляторов". - "Радио", №3/2006, стр. 53.
- В. Коновалов. "Измеритель Rbh АБ". - "Радиомир", №8/2004, стр. 14.
- В. Коновалов., А. Разгильдеев. "Восстановление аккумуляторов". -"Радиомир", №3/2005, стр. 7.
- В. Коновалов. "Пульсирующее зарядно - восстановительное устройство". - "Радиолюбитель", №5/2007, стр. 30.
Автор: Владимир Коновалов г. Иркутск-43, а/я 380
