ADFS5758 - это одноканальный 16-разрядный цифро-аналоговый преобразователь (ЦАП) с выходом по току / напряжению. Микросхема соответствует требованиям функциональной безопасности для однополярного токового выхода и является элементом с параметром систематической возможности SC3, что дает возможность применения в оборудовании, связанном с безопасностью, вплоть до уровня SIL 2 в соответствии со стандартом МЭК 61508. Такие показатели позволяют использовать одну микросхему ADFS5758 для достижения уровня SIL 2 без резервирования. Безопасным состоянием для ADFS5758 является разомкнутая цепь / высокий импеданс.
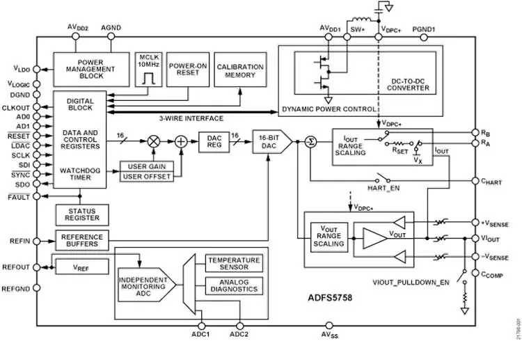
С технической точки зрения, ADFS5758 представляет собой одноканальный ЦАП, работающий в диапазоне напряжения питания от -33 В (минимум на выводе AVSS) до +33 В (максимум на выводе AVDD1) с максимальным рабочим напряжением между шинами питания 60 В. Встроенное динамическое управление мощностью (DPC) минимизирует рассеяние мощности, что достигается путем регулирования напряжения питания (VDPC +) для выходного драйвера VIOUT в диапазоне от 4,95 до 27 В с использованием понижающего DC-DC преобразователя, который оптимизирован для достижения минимального рассеивания мощности на кристалле. Вывод CHART позволяет подавать сигнал HART® на токовый выход.
В устройстве используется универсальный 4-проводный последовательный интерфейс управления SPI с тактовой частотой до 50 МГц и совместим со стандартами SPI, QSPI ™, MICROWIRE ™, а также с DSP-процессорами и микроконтроллерами. Дополнительно реализована проверка циклическим избыточным кодом (CRC) SPI и сторожевой таймер. ADFS5758 имеет улучшенные функции самодиагностики, такие как встроенный независимый 12-разрядный аналого-цифровой преобразователь (АЦП), который можно использовать для оцифровки как внутренних, так и внешних функциональных узлов.

Микросхема выпускается в компактном LFCSP корпусе с размерами 9 мм х 7 мм
Особенности микросхемы:
- Функциональная безопасность соответствует SIL 2 / SC3 и подтверждена организацией TÜV Rheinland;
- Диапазон расширенных диагностических функций, в том числе встроенный АЦП для повышенной надежности;
- Динамическое управление мощностью основано на встроенном DC-DC преобразователе для управления температурой. При использовании вместе с микросхемой-изолятором питания и сигнальных цепей ADP1031 ADFS5758 создавать восьмиканальные изолированные выходы с рассеиваемой мощностью <2 Вт ;
- Режим программируемого управления мощностью обеспечивает более быстрое время установления (обычно 15 мкс) ;
- Встроенная защита от неправильного подключения (± 38 В)
Области применения:
- Контроль над технологическими процессам;
- Устройства управления приводам;
- Изолированных аналоговых выходов;
- Программируемые логические контроллеры (ПЛК) и распределенные системы управления (РСУ);
- Устройства связи по HART протоколу.
Источник: www.eltech.spb.ru
