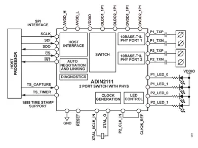
ADIN2111 - это простой в использовании, малопотребляющий, двухпортовый Ethernet 10BASE-T1L коммутатор с интегрированными ядрами физического уровня (PHY) и SPI интерфейсом. Данный коммутатор специально разработан для малопотребляющих устройств промышленного применения Ethernet 10BASE-T1L, соответствует стандарту IEEE 802.3cg-2019 для передачи данных на большие расстояния со скоростью 10 Мбит/сек по одной паре проводов (SPE).
ADIN2111 поддерживает различные конфигурации маршрутизации между двумя портами Ethernet и хост-портом SPI, обеспечивая гибкое решение для линейных, последовательных или кольцевых топологий сетей.
Коммутатор поддерживает длину линии до 1700 метров, при этом потребляя всего 77 мВт. Два ядра физического уровня поддерживают напряжения передачи данных с размахом 1 или 2,4 В при напряжении питания от 1,8 до 3,3 В. ADIN2111 может автоматически перенаправлять трафик между двумя портами Ethernet без необходимости во внешнем управлении.

ADIN2111 включает в себя коммутатор, два ядра физического уровня Ethernet (PHY) с интерфейсом управления доступом к среде (MAC) и всеми необходимыми аналоговыми схемами, а также буферизацией тактовых импульсов ввода и вывода.
ADIN2111 имеет встроенную схему контроля напряжения питания и схему сброса при включении питания (POR) для повышения надежности системы. 4-проводной SPI интерфейс для связи с хостом может быть настроен как OPEN Alliance SPI или общий SPI. Оба режима поддерживают дополнительную защиту данных или контроль циклического избыточного кода (CRC).
Характеристики и преимущества:
- Соответствует стандарту 10BASE-T1L IEEE 802.3cg-2019;
- Поддерживает уровень передачи сигнала 1,0 и 2,4 В;
- Длина линии:
- 1700 метров при амплитуде 1,0 В;
- 1700 метров при амплитуде 2,4 В;
- Низкое энергопотребление:
- один источник питания: 80 мВт;
- два источника питания (при амплитуде 1,0 В): 77 мВт;
- Интегрированный коммутатор с SPI интерфейсом
- полнодуплексный режим со скоростью 10 Мбит/сек;
- поддержка 16 MAC-адресов;
- Поддержка OPEN Alliance 10BASE-T1x MAC-PHY интерфейса;
- MDIO карта памяти доступна через SPI интерфейс;
- Поддерживает очереди с высоким и низким приоритетом ;
- Общая буферная память 28 кБ распределяется между портами и хостом;
- Автоматическое согласование;
- Управляемая или неуправляемая конфигурации;
- Запись временных меток IEEE 1588 при передаче и приеме;
- Диагностика:
- Генератор и проверка кадров;
- Несколько режимов обратной связи;
- Поддержка тестового режима IEEE;
- Диагностика соединений и кабелей;
- Встроенный резонатор 25МГц /вход внешнего сигнала 25 МГ;
- Один или два источника питания 1,8 или 3,3 В;
- Встроенная схему контроля напряжения питания и схема сброса при включении питания;
- Миниатюрный 48-выводной корпус LFCSP 7x7 мм;
- Промышленный температурный диапазон: -40 ...105 °C
Области применения:
- Управление промышленными процессам;
- Автоматизация фабрик и заводов;
- Автоматизация зданий и сооружений;
- Устройства пожарной безопасности
Промышленный Ethernet должен удовлетворять многим важным критериям – высокая надежность, минимальное потребление энергии, передача данных на большие расстояния при повышенной стойкость к помехам, хорошая электромагнитная совместимость, возможность стабильной работы в широком диапазоне температур, синхронизация и передача питания по той же паре проводов, исходя из этих условий разрабатывался стандарт IEEE 802.3cg/10BASE-T1L. Более подробно можно прочитать про стандарт IEEE 802.3cg/10BASE-T1L и про надежные решения для ETHERNET
Источник: www.eltech.spb.ru
