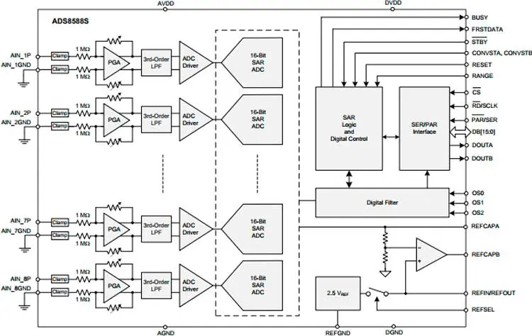
ADS8588S – это система сбора данных на кристалле, которая состоит из 8 аналого-цифровых преобразователей последовательного приближения (SAR), работающих одновременно. АЦП имеют разрешающую способность 16 Бит и производительность до 200 000 преобразований в секунду.
Все модели семейства ADS85xx/ADS86xx имеют в своем составе программируемые усилители (PGA) с высоким импедансом (1 МОм), буферы, настройку входного диапазона (±10 В и ±5 В), набор низкочастотных фильтров и защиту. Таким образом, новые АЦП имеют необходимый набор периферийных модулей и функций для реализации аналоговой части системы сбора данных в одной микросхеме. Все представленные модели имеют высокие показатели по точности и стабильности метрологических характеристик, а также возможность работать по двум интерфейсам (Параллельный, SPI).

Блок-схема ADS8588S
ADS8588S | ADS8578S | ADS8584S | ADS8586S | ADS8688 | |
Разрешающая способность | 16 Бит | 14 Бит | 16 Бит | 16 Бит | 16 Бит |
Максимальная скорость преобр. | 200 кSPS | 200 кSPS | 330 кSPS | 250 кSPS | 500 кSPS |
Кол-во каналов | 8 | 8 | 4 | 6 | 8 |
Рассеиваемая мощность | 88.5 мВт | 88.5 мВт | 54.5 мВт | 73 мВт | 65 мВт |
Входной диапазон ( Max ) | ±10 | ±10 | ±10 | ±10 | ±10.24 |
Интерфейс | Параллельный / SPI | Параллельный / SPI | Параллельный / SPI | Параллельный / SPI | SPI |
Рабочий температурный диапазон | от -40ºC до125ºC | от -40ºC до125ºC | от -40ºC до125ºC | от -40ºC до125ºC | от -40ºC до125ºC |
Корпус | 64LQFP | 64LQFP | 64LQFP | 64LQFP | 38TSSOP |
THD (Typ) (дБ) | -114 | -114 | -114 | -114 | -102 |
SNR (дБ) | 92.7 | 85.8 | 92.7 | 92.7 | 92 |
Отдельно стоит отметить, что данное семейство АЦП от Texas Instruments является хорошей заменой с улучшениями метрологическими характеристик семейству AD76xx:
ADS8578S | AD7607 | |
Входной диапазон | ±10 В; ±5 В | ±10 В; ±5 В |
Макс. Скорость | 200 кSPS | 200 кSPS |
Рабочий температурный диапазон | от -40ºC до125ºC | от -40ºC до 85ºC |
SNR | 92.7 дБ (±10 В), 92.2 дБ (±5 В) | 84.5 dB (±10 V), 84.5 dB (±5 V) |
SINAD | 92.7 дБ (±10 В), 92.1 дБ (±5 В) | 84.5 dB (±10 V), 84.5 dB (±5 V) |
DNL (max) | ±0.5 МЗР | ±0.95 LSB |
INL (max) | ±0.45 МЗР | ±0.5 LSB |
