Новый SAR АЦП ADS8688, выпущенный компанией Texas Instruments, будет интересен для использования в применениях промышленной автоматики, где необходимо обеспечить измерение биполярного входного аналогового сигнала при однополярном (+5 В) питании системы.
ADS8688 представляет собой 16-битный 8-ми канальный АЦП последовательного приближения (SAR), обеспечивающий возможность измерения сигнала со скоростью до 500 квыб/с. Микросхема является полноценным входным аналоговым трактом с защитой каждого входа от перенапряжения 20 В. Встроенный 8-ми канальный мультиплексор позволяет реализовать измерения по каждому каналу как в автоматическом так и ручном режиме. При напряжении питания 5 В микросхема обеспечивает возможность измерения входного сигнала в диапазоне: ±10.24 В, ±5.12 В, и ±2.56 В, либо: 0…10.24 В и 0…5.12 В по каждому каналу. Входной диапазон задаётся программированием внутренних регистров независимо для каждого канала. При этом, вне зависимости от выбранного входного диапазона, обеспечивается входное сопротивление 1 МОм.

Соотношение сигнал шум в диапазоне температур

Ошибка усиления в диапазоне температур
В ADS8688 интегрированы все необходимые для предварительной обработки сигнала узлы: усилитель, источник опорного напряжения, АЦП. При этом обеспечивается достаточная точность измерения, которая достигается за счет малой ошибки усиления 0.5% и малой величины дрейфа встроенного источника опорного напряжения. Для тех случаев, когда необходимо получить температурную стабильность источника опорного напряжения лучше чем 10 ppm/C есть возможность подключить внешний ИОН.

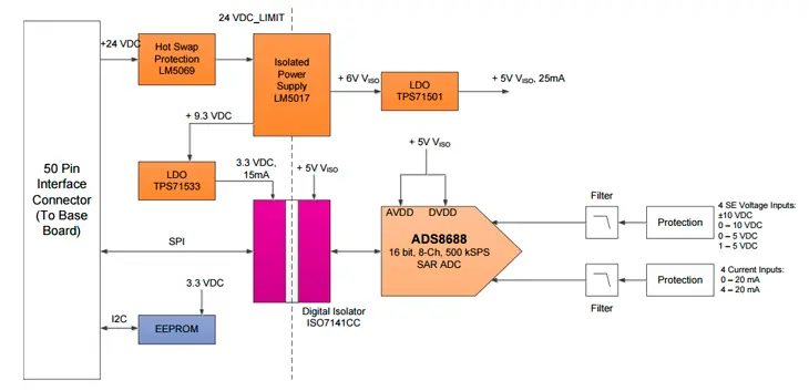
Блок диаграмма решения входного блока ПЛК с использованием ADS8688
Широкий диапазон напряжений питания цифровой части АЦП от 1.65 В до 5.25 В даёт возможность использовать его с различными микроконтроллерами. Для коммуникации с внешним микроконтроллером в АЦП используется SPI интерфейс.
Микросхема выполнена в TSSOP корпусе и предназначена для работы в диапазоне температур от -40 до +125°С.
Основные характеристики:
- Тип преобразования: последовательное приближение (SAR);
- Разрядность: 16-бит;
- Количество входных каналов: 8;
- Максимальный диапазон входных напряжений: ±10.24 В;
- Напряжение питания:
- электропитание аналоговых цепей (AVdd) от 4.75 В до 5 В;
- электропитание цифровых цепей (DVdd) от 1.65 В до AVdd;
- Входное сопротивление: 1 МОм;
- Возможность последовательного подключения – Daisy chain;
- Защита входов от перенапряжения: 20 В;
- Встроенный ИОН: 4.096 В;
- Дрейф встроенного ИОН: 10ppm/C;
- Диапазон рабочих температур: -40…125°C.
Источник: www.compel.ru
