Семейство ультра-низкопотребляющих микроконтроллеров MSP430 состоит из нескольких линеек устройств, которые отличаются между собой набором периферии, нацеленной на различные приложения. Специальная архитектура, наряду с пятью режимами энергосбережения, оптимизирована для увеличения срока жизни элементов питания в портативных измерительных приборах.
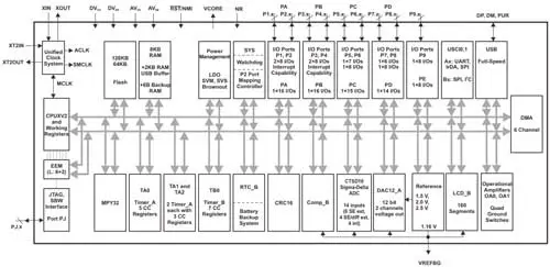
Новый микроконтроллер MSP430FG6626 содержит производительный 16-разрядный аналого-цифровой преобразователь, два 12-разрядных цифро-аналоговых преобразователя, два операционных усилителя, компаратор, два универсальных модуля последовательного интерфейса, модуль USB 2.0, аппаратный умножитель, модуль DMA, 4 16-разрядных таймера, модуль часов реального времени с функцией alarm, драйвер LCD-дисплея и до 73 выводов GPIO.
Микроконтроллер MSP430FG6626 был создан для реализации таких устройств как аналоговые и цифровые системы датчиков, портативные медицинские приборы, ручные промышленные измерители и тестеры.
Блок-схема MSP430FG6626
Основные характеристики MSP430FG6626
- Память FRAM 128 кБайт
- Память RAM 10 кБайт
- Интерфейс I2C 4
- Интерфейс SPI 4
- UART 2
- DMA 6 каналов
- Тип АЦП SigmaDelta
- Разрядность АЦП 16 бит
- Входов АЦП 10
- Модулей ЦАП 2
- Разрядность ЦАП 12 бит
- Аппаратный умножитель 32×32
- 16-разрядный таймер 4
Источник: www.compel.ru

