MSP430FR4133 – это новый микроконтроллер c драйвером LCD дисплея от Texas Instruments, использующий FRAM-память в качестве энергонезависимой памяти.
MSP430FR4133 реализован на базе надежного, проверенного 16-разрядного ядра, выполненного на базе RISC-архитектуры и имеющего более чем 20-летнюю историю постоянного развития и улучшений. Вычислительное ядро MSP430FR4133 и вся аналоговая и цифровая периферия реализованы с ориентацией на минимально возможное использование электрической энергии.
По набору основных преимуществ, приведенных в таблице ниже, FRAM-память может по праву считаться энергонезависимой памятью нового поколения.
FRAM | SRAM | EEPROM | FLASH | |
Сохранение данных без питания | Да | Нет | Да | Да |
Время записи 13 килобайт данных | 10 мс | <10 мс | 2 с | 1 с |
Среднее потребление (мкА/МГц) | 110 | <60 | >50 мА | 230 |
Циклов перезаписи | >1015 | Не ограничено | 100 000 | 10 000 |
Возможность побитной записи | Есть | Есть | Нет | Нет |
Удобное разграничение кода и данных | Есть | Нет | Нет | Нет |
Скорость записи данных и потребление памяти FRAM сопоставимы с оперативной памятью SRAM , в то время как остальные характеристики намного лучше чем у EEPROM и FLASH.
Уникальным отличием MSP430FR4133 от других микроконтроллеров с FRAM-памятью от Texas Instruments (MSP430FR6989, MSP430FR5739 и MSP430FR2033) является наличие LCD-драйвера нового типа – LCD_E. Данный тип драйвера может работать в режиме энергосбережения LPM3.5 микроконтроллера. Общее потребление MSP430FR4133 в режиме LPM3.5 с включенным модулем часов реального времени RTC и драйвером дисплея LCD_E составляет всего 770 нА.
Дополнительным плюсом этого модуля является гибкость настройки его выводов – функционал COM или SEG может быть присвоен любому из пинов MSP430FR4133, что значительно облегчает процесс разработки печатной платы.

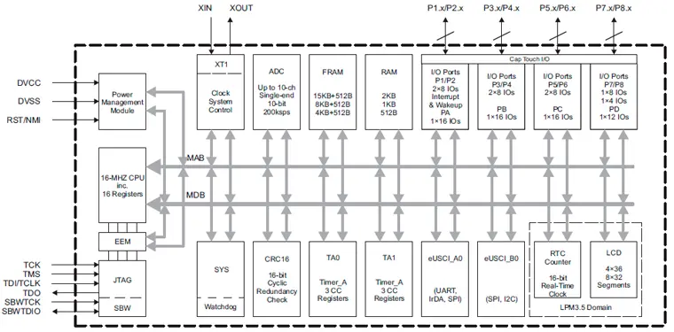
Структурная схема микроконтроллера MSP430FR4133
Внедрение в архитектуру MSP430 памяти FRAM и драйвера дисплея LCD нового типа делает микроконтроллер MSP430FR4133 идеальным вариантом для использования в разработках различных измерительных устройств, особенно с автономным питанием.
Для помощи разработчикам в освоении компания Компэл предоставляет материалы практического тренинга по контроллеру MSP430FR4133. Данный тренинг является частью официального тренинга компании Texas Instruments переведенной на русский язык. В материалах собраны слайды с подробным описанием устройства микроконтроллера и его модулей, а также практические работы с использованием отладочной платы MSP-EXP430FR4133.
Источник: www.compel.ru
