Компания MORNSUN, широко известная на российском рынке как производитель качественных источников питания, также продолжает активную разработку и производство микросхем. Компания выпустила обновленную линейку изолированных интерфейсов с интегрированным DC/DC-преобразователем, а также в ее номенклатуре есть большой выбор надежных изоляторов и решений для изолированных интерфейсов. Самыми популярными моделями являются TDA51S485HC для интерфейса RS-485 и TDA51SCANHC для CAN-шины.
Изолированный RS-485-трансивер TD551S485H со встроенным питанием
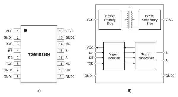
Улучшенный полудуплексный изолированный приемопередатчик TD551S485H (рисунок 1) для сетей передачи данных по шине RS-485 отвечает требованиям стандарта TIA/EIA-485A. Скорость передаваемых данных достигает 10 Мбит/с. Интегральная схема обеспечивает гальваническую развязку как по сигнальным линиям, так и по питанию.

Рис. 1. Структура изолированного RS-485-трансивера TD551S485H: а) назначение выводов; б) блок-схема
Входные линии ИС отличаются исключительно высоким входным импедансом (1/8 стандартной нагрузки), благодаря чему максимальное число узлов на шине может достигать 256. Кроме того, цепи приемника защищены от электростатических разрядов (до 15 кВ по модели HBM) и перегрузки по току. Этого достаточно для большинства задач, не требующих более серьезной защиты.
Главными отличиями новой микросхемы являются увеличенные напряжение изоляции до 6 кВ и скорость передачи до 10Мбит/с. Микросхемы являются Pin-to-Pin-совместимыми при условии работы с напряжением питания 5 В. Трансивер прошлого поколения TDA51S485HC имеет 10-й вывод SEL, который позволяет выбрать напряжение питания 3,3 или 5 В. В интегральных схемах нового поколения данный вывод не подключен и позволяет работать только с напряжением 5 В.
Изолированные CAN-трансиверы TD551SCANH и TD551SCANHW со встроенным питанием
Для передачи сигналов по CAN-шине компания MORNSUN предлагает новые изолированные приемопередатчики TD551SCANH и TD551SCANHW (рисунок 2). Они имеют одинаковые технические характеристики и выполнены в двух популярных корпусах SOIC-16WB и SOIC-20WB.

Рис. 2. Структура изолированных CAN-трансиверов TD551SCANH и TD551SCANHW: а) назначение выводов; б) блок-схема
Главными отличиями новых трансиверов стали:
- повышенная скорость передачи данных до 5 Мбит/с;
- увеличенная защита от перенапряжения -58…58 В;
- высокий уровень изоляции 4000 В AC/6000 В DC;
- уровень защиты ESD 8 кВ;
- устойчивость к синфазным помехам CMTI 180 кВ/мкс.
Остальные параметры приемопередатчиков соответствуют моделям предыдущей серии устройств. К ним относятся наличие встроенного изолированного DC/DC-преобразователя на 5 В, интерфейсные сигналы с логическими уровнями 3,3 и 5 В, защита от потери заземления и перегрева, что особенно актуально для работы в условиях промышленных помех, и главное – соответствие стандарту ISO11898-2.
Данные микросхемы будут хорошим выбором для применений, в которых:
- требуется скорость передачи данных выше 1 Мбит/с;
- используются трансиверы без встроенного питания;
- необходимы изолированные решения.
Источник: www.compel.ru
