Новости электроники
Архив : 23 Март 2006 год
Общее описание
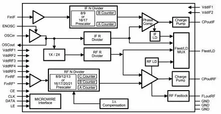
6 февраля 2006 г., - Корпорация National Semiconductor выпускает семейство высокоэффективных, экономичных дельта-сигма PLL синтезаторов LMX248x. Благодаря особенностям своей внутренней архитектуры (рис. 1) микросхемы обладают лучшей чувствительностью сигнала, что снижает потери энергии на 75% в сравнении с конкурентными продуктами.

Семейство синтезаторов LMX248x позволяет разработчикам создавать решения с превосходными характеристиками, прилагая минимум усилий. Линейка микросхем LMX248x идеально подходит для использования в широкополосных сетях передачи данных, таких как WLAN, WiMAX, перспективной технологии для передачи данных в мобильных сетях OFDM (сигнал расщепляется на несколько подсигналов, которые передаются по разным частотам) и других устройствах. Микросхемы LMX2485, LMX2485E (расширенный диапазон), LMX2486 и LMX2487 покрывают частотный диапазон от 50 MHz до 6 GHz
Технические характеристики
• минимальное потребление
• разрешающая способность до 1 GHZ
• дискретная избирательность вплоть до 22 бит
• интегрированный удвоитель частоты
• частотный диапазон от от 50 MHz до 6 GHz
• миниатюрный LLP корпус
Применение
• оборудование для широкополосных сетей
• базовые станции
• устройства цифровой модуляции
Источник:Петербургская Электронная Компания
Общее описание февраль 2006г., - Компания National Semiconductor выпускает двухканальный 12-ти битный КМОП аналого-цифровой преобразователь с производительностью 80 MSPS. АЦП ADC12DL080 (рис. 1) изготовлена по высокоскоростной параллельно-последовательной архитектуре, включает в себя корректор цифровой ошибки и систему выборки-хранения за счет чего обладает минимальными потерями энергии и превосходными динамическими характеристиками.

Применение микросхемы ADC12DL080 позволяет разработчикам достигать 11-и эффективных битов по системе Найквиста при производительности 80 MSPS и потреблении 447 мВт. Наличие у микросхемы режима PowerDown дополнительно уменьшает потери на 50 мВт. Особенностью АЦП ADC12DL080 является возможность выбора рабочего цикла и формата выходных данных, микросхема предлагается в 64-х выводном TQFP корпусе и работает в индустриальном температурном диапазоне. Так же для помощи инженерам доступен набор разработчика с ADC12DL080 на борту.
Технические характеристики.
• внутренняя система выборки-хранения
• питание 3.3 В
• возможность использования как внутреннего, так и внешнего ИОН
• режим Powerdown
• совместимость по выводам с ADC12DL040, ADC12DL065, ADC12DL066
• корпус TQFP-64
• температурный диапазон от – 40 С до + 85 С
Применение
• измерительная техника
• радионавигационные системы
• гидроакустические приборы
• xDSL, кабельный модем
Источник:Петербургская Электронная Компания
Общее описание
Компания National Semiconductor расширяет семейство универсальных ЦАП выпуском 8-и битного ЦАП DAC081S101. Микросхема работает в диапазоне напряжений от 2.7 В до 5.5 В и потребляет 175 мкА при напряжении питания 3.6 В. В выходной каскад кристалла ЦАП DAC081S101 интегрирован буферный усилитель (рис. 1), благодаря чему у микросхемы rail to rail выход и трехпроводной последовательный интерфейс, осуществляющий передачу данных с частотой до 30 МГц во всем диапазоне напряжений и совместимый со стандартами SPI™, QSPI, MICROWIRE и DSP интерфейсом. Для сравнения конкурентные продукты имеют тактовую частоту 20 МГц при диапазоне напряжений от 2.7 В до 3.6 В.

Напряжение питания ЦАП является источником опорного напряжения, обеспечивая наиболее широкий динамический диапазон. Цепь сброса по включения питания гарантирует нуль на выходе ЦАП, пока не завершится процесс обработки данных устройством. Режим PowerDown снижает потребление энергии до порядка мкВт. Небольшие потери энергии и миниатюрный корпус делают ЦАП DAC081S101 идеальным решением для применения в различной портативной технике. Микросхема является прямой заменой ЦАП AD5300 (Analog Devices) и входит в семейство взаимозаменяемых ЦАП компании National Semiconductor 10-бит DAC101S101 и 12-бит DAC121S101. ЦАП DAC081S101 имеет расширенный рабочий температурный диапазон от – 40 С до 105 С.
Технические характеристики.
• rail to rail выход
• цепь сброса по питанию
• напряжение питания от 2.7 В до 5.5 В
• потребление 175 мкА при напряжении 3.6 В
• MSOP и TSOT корпус
• температурный диапазон от – 40 С до 105 С
Применение
• портативные устройства
• программируемые аттенюаторы
• устройства корректировки сигнала
Источник:Петербургская Электронная Компания
Общее описание
Компания Freescale Semiconductor недавно выпустила на рынок серию 8-битовых микроконтроллеров под напряжение 5 В. Данная высоко-интегрированная серия разрабатывалось для обеспечения контроля за работой промышленных, автомеханических и бытовых электроприборов, от систем обогрева и вентиляции в автомобилях, пылесосов и до технологических линий производственных предприятий.Заняв прочные позиции в указанных сегментах рынка, Freescale Semiconductor разработала данную серию микропроцессоров на основе использования кристаллического сердечника HCS08, стараясь в максимальной степени оптимизировать конструкцию микроконтроллеров. Основные характеристики серии микроконтроллеров представлены ниже.
Технические характеристики.
•Заняв прочные позиции в указанных сегментах рынка, Freescale Semiconductor разработала данную серию микропроцессоров на основе использования кристаллического сердечника HCS08, стараясь в максимальной степени оптимизировать конструкцию микроконтроллеров. Основные характеристики серии микроконтроллеров представлены ниже.
•Высокоэффективный кристаллический сердечник HCS08 40 МГц и внутренняя шина на 20 МГц.
•До 60 Кб внутрикристальной флэш-памяти (возможны варианты 16/32 Кб) с эмуляцией электронно - стираемого программируемого ПЗУ (ЭСППЗУ), и до 2 Кб ОЗУ для запоминания и использования памяти для хранения программ.
•16-канальный 10-битовый аналого-цифровой преобразователь (АЦП) с многочисленными каналами для многоканальных входов и превосходной разрешающей способностью для обеспечения наибольшей точности сигналов от входных устройств в сложных системах.
•Два 16-битовых таймера для обеспечения широтно-импульсной модуляция (ШИМ); один таймер имеет два доступных канала, в то время как другой - шесть доступных каналов.
•Ряд связных интерфейсов, один одноканальный интерфейс, один модуль ИОК и два ИСП для соединения детали с другими модулями и/или для подключения к периферийным устройствам, а также прерывающий модуль с коммутационной панелью.
•Наличие внутреннего датчика синхроимпульсов вместо внешнего осциллятора, способствующего подавлению шумов в микроконтроллере и снижению число внешних компонентов.
•Три режима энергосбережения – режим ожидания и два режима останова.
•Защита системы ввода-вывода, включая компьютерный режим сброса, низковольтный сброс системы прерывания и система использования недопустимого кода операции, а также система адресного обнаружения модулей сброса.
Выше приведены только некоторые характеристики и преимущества серии микроконтроллеров MC9S08AW. Узнайте о том, каким образом система обслуживания 8-битовых микроконтроллеров, предложенная компанией Freescale Semiconductor, поможет в развитии вашего бизнеса и сократит сроки выхода на рынок на сайте www.Freescale.com/fasttrack.
Источник:Петербургская Электронная Компания
