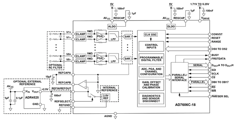
Компания Analog Devices выпустила на рынок новейшую систему сбора данных AD7606C-18, которая поддерживает одновременную оцифровку восьми независимых сигналов с помощью 18-разрядных АЦП последовательного приближения, способных выполнять до одного миллиона измерений в секунду (рисунок 1). Кроме высокой точности и производительности, преимуществами данной системы являются высокий уровень интеграции, возможность гибкого программного конфигурирования, поддержка нескольких высокоскоростных интерфейсов, а также упрощенная схема питания. Сочетание этих особенностей позволяет создавать на ее основе устройства, которые будут точнее, компактней и дешевле, чем решения, выполненные на основе аналогичных микросхем. Это позволяет позиционировать AD7606C-18 как оптимальный вариант для приложений, критичных к величине удельной мощности, точности или стоимости.

Рис. 1. Структурная схема системы AD7606C-18
Кроме высокоскоростного прецизионного АЦП последовательного приближения (SAR ADC), каждый канал имеет входной ограничитель напряжения, операционный усилитель с регулируемым коэффициентом усиления (PGA) и фильтр нижних частот (LPF) с конфигурируемой полосой пропускания. Система поддерживает независимую настройку каждого из восьми каналов, позволяя запрограммировать их для оцифровки сигналов с максимальной амплитудой:
+5 В, +10 В, +12,5 В для однополярных синфазных сигналов;
±2,5 В, ±5 В, ±6,25 В, ±10 В, ±12,5 В для двухполярных синфазных сигналов;
±5 В, ±10 В, ±12,5 В, ±20 В для двухполярных дифференциальных сигналов.
Входное напряжение каждого канала ограничивается на уровне ±21 В встроенными ограничителями. Входное сопротивление каждого канала равно 1 МОм, что позволяет подключать систему как к низкоомным, так и к высокоомным источникам сигналов без использования внешних операционных усилителей, драйверов или других согласующих узлов.
Высокая точность оцифровки достигается также и за счет использования встроенного LDO-стабилизатора, формирующего стабильное опорное напряжение 2,5 В с малым уровнем дрейфа. Также на кристалле микросхемы интегрированы малошумящие LDO-стабилизаторы для питания аналоговых и цифровых узлов.
Несмотря на поддержку двухполярных сигналов, для питания измерительной части системы необходим единственный одноканальный источник питания напряжением 5 В, что позволяет упростить общую схемотехнику конечного устройства и уменьшить его размер за счет исключения дополнительных стабилизаторов отрицательного напряжения, обычно требующихся в подобных случаях. Дополнительным преимуществом системы является возможность питания цифровых узлов напряжением 1,71…5,25 В, что позволяет подключать микросхему напрямую к большинству микроконтроллеров и ПЛИС без использования дополнительных преобразователей уровней цифровых сигналов. Кроме этого, при работе с сигналами с небольшой шириной спектра можно использовать встроенный цифровой фильтр, дополнительно улучшающий соотношение "сигнал/шум".
AD7606C-18 является дальнейшим развитием хорошо зарекомендовавших себя систем AD7608 и AD7609, она имеет расширенное количество программных функций, в числе которых:
поддержка большего количества диапазонов измерения;
независимая установка полосы пропускания каждого канала 25 или 220 кГц;
возможность регулировки коэффициента усиления, смещения, фазового сдвига каждого ОУ;
дополнительная возможность увеличения количества измерений (oversampling) до 256 раз;
расширенная система диагностики, позволяющая обнаружить сброс микросхемы, чрезмерное увеличение или уменьшение напряжения питания, повреждение информации в ПЗУ и ОЗУ, наличие ошибок во время обмена данными, а также обрывы в цепи входных сигналов.
Обмен данными с микросхемой может происходить по параллельному или последовательному (SPI) интерфейсам. При использовании SPI происходит постоянный контроль принимаемых данных, в том числе и проверка контрольных сумм (CRC), корректности диапазона значений принимаемой информации и "зависания" механизма обмена.
Система AD7606C-18 доступна в 64-выводном компактном LQFP размерами 12,2х12,2х1,6 мм, способном работать в диапазоне температур –40…125°С.
Для быстрого освоения работы с системой AD7606C-18 можно приобрести оценочную плату EVAL-AD7606C18FMCZ, содержащую все необходимые компоненты для работы системы, в том числе и малошумящие LDO-стабилизаторы ADP7118 с выходными напряжениями 5 и 3,3 В, и высокоточный источник опорного напряжения ADR4525 (рисунок 2). Плата EVAL-AD7606C18FMCZ рассчитана на подключение к персональному компьютеру с помощью высокоскоростного контроллера SDP-H1 (плата EVAL-SDP-CH1Z), осуществляющего необходимое согласование интерфейсов. С помощью бесплатного программного обеспечения, рассчитанного на работу под управлением операционных систем Windows, можно осуществлять контроль и обработку восьми независимых источников сигналов во временной или частотной области.

Рис. 2. Оценочная плата EVAL-AD7606C18FMCZ
Источник: www.compel.ru
